Запчасти Case IH 800 (09-23) - MARKERS, MARKER-WHEEL VALVE, UNITS W, X AND Y (08) - HYDRAULICS

Схема запчастей Case IH 800 - (09-23) - MARKERS, MARKER-WHEEL VALVE, UNITS W, X AND Y (08) - HYDRAULICS
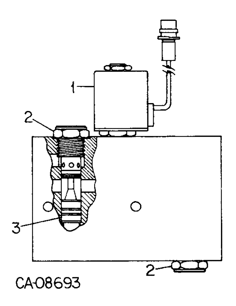
1
3
2
2
FIT
1:1
100%

Артикул

Название

Примечание

Количество

1272466C91

VALVE

ASSY, marker-wheel

1шт.

1

149989C91

VALVE

ASSY, spool solenoid

1шт.

2

149938C1

CHECK VALVE,7/8" - 14

VALVE ASSY, check

2шт.

3

1272343C1

PISTON

pilot

2шт.

149941C1

PACKAGE

KIT, piston seal, consists of O-ring (NSS), (2) washer, back-up (NSS)

2шт.

149942C1

SEAL KIT

KIT, check valve seal, consists of O-ring (NSS), O-ring (NSS), washer, back-up (NSS)

2шт.

1272308C1

SEAL KIT

KIT, spool solenoid valve seal, consists of O-ring (NSS), O-ring (NSS), (2) washer, back-up (NSS)

1шт.

Выбрано товаров: 0