Запчасти Case IH 800 (07-30) - SEED HANDLING, HYDRAULIC PUMP AND RELATED PARTS, UNITS A-D, H, S, U, V & Z, (09) - CHASSIS/ATTACHMENTS

Схема запчастей Case IH 800 - (07-30) - SEED HANDLING, HYDRAULIC PUMP AND RELATED PARTS, UNITS A-D, H, S, U, V & Z, (09) - CHASSIS/ATTACHMENTS
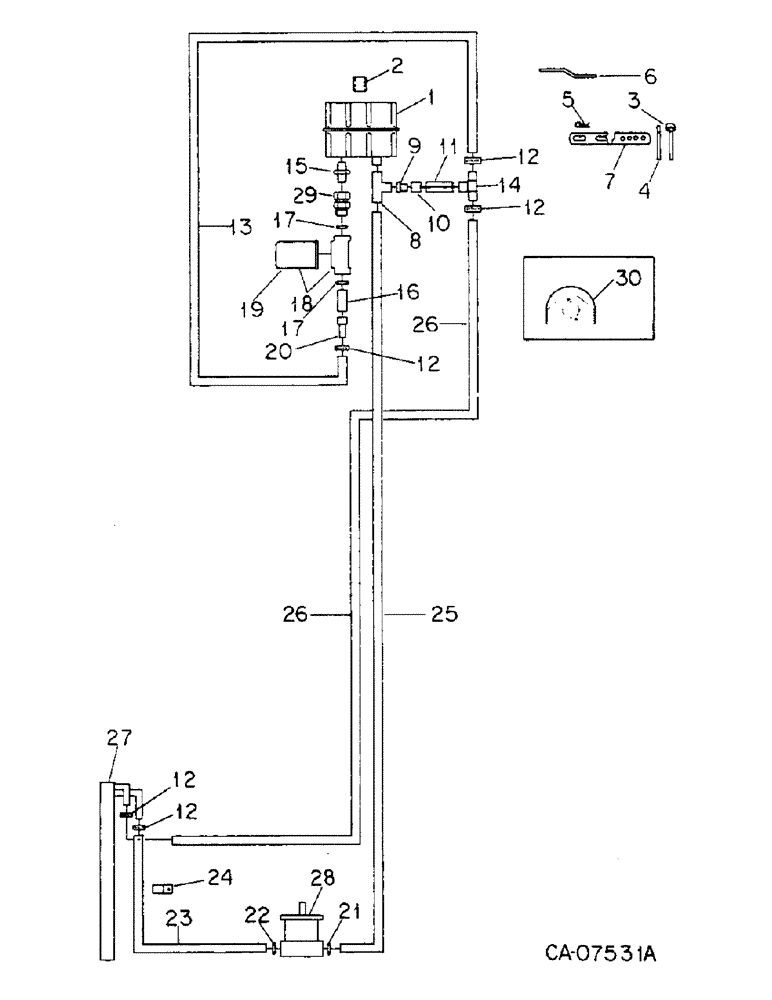
29
24
4
2
26
10
23
25
1
12
8
26
17
16
20
9
12
27
28
15
17
21
18
5
12
11
13
6
14
22
12
30
19
3
7
12
FIT
1:1
100%

Артикул

Название

Примечание

Количество

1

149367C91

PUMP

W/PRODUCT GRAPHIC, hyd, 8 GPM, for components see list of parts under details of 540 RPM hyd pump

1шт.

145167C1

DECAL

PRODUCT GRAPHIC, warning

1шт.

2

119956C1

SPACER, RING

SPACER, hyd pump

1шт.

3

1254128C1

STRAP

ASSY

1шт.

22902R1

HEADED PIN,5/8" x 5 3/4"

PIN, 5/8 x 5.750 hd type 1

1шт.

4

56776C1

BAR

STRAP

1шт.

180192

BOLT (SPREADER),Hex, 1/2" - 13 x 3 1/2", Gr 5

BOLT, 1/2 x 3-1/2 type 5

2шт.

120396

WASHER

.531 x 1.062 x .074

4шт.

487374R1

BEARING LOCK NUT,Flg, USR, 1/2"-13

1/2 flange lock

2шт.

5

520175R1

CLIP

PIN, 3/16 quick attachable cot.

1шт.

6

113414C3

PLATE

hyd pump mounting

1шт.

180122

BOLT,Hex, 3/8" - 16 x 1", Gr 5

3/8 x 1 type 5

2шт.

120382

LOCK WASHER,Helical Spring, 3/8"

WASHER, LOCK, 3/8"

2шт.

7

56774C1

BRACKET

adjusting

1шт.

120395

WASHER

.469 x .922 x .051

4шт.

432-1216

COTTER PIN,3/16" x 1"

Pin, Split (Cotter), 3/16" x 1"

2шт.

165248

PIN, 7/16 x 1.250 pln hd type 1

2шт.

8

9410333

TEE,37 Degree, 3/4"-16 x 3/4"-16, Fem Sw Run

3/4-16 C-Z 37 deg hyd flared tube 90 deg swivel

1шт.

9

56781C1

ADAPTER

REDUCER, 1/4-18 x 1/2 OD tube

1шт.

10

9403528

TUBE NUT,37 Degree, 3/4"-16, Type B

NUT, 3/4-16 37 deg hyd flared tube

1шт.

11

539794R91

VALVE

ASSY, flow control

1шт.

12

279025R91

HOSE CLAMP,#06, .44/.78 Type F Worm

2шт.

13

HOSE, 25 in., use 25 in. from bulk roll marked 73199C1

1шт.

14

56782C91

TEE

ASSY

1шт.

15

95729C1

CONNECTOR, ELEC

CONNECTOR, 3/4 in. male NPTF, replaces 677730R1 on planters with serial no. 19900 and below by also ordering adapter, 95728C1

1шт.

16

9410205

HYD CONNECTOR,1 1/16"-12, 37 Degree x 1 1/16"-12, O-Ring

CONNECTOR, 1-1/16-12 C-Z 37 deg hyd flared tube short swivel

1шт.

17

368269R1

O-RING,0.116" Thk x 0.924" ID, -912, Cl 6, 90 Duro

3/4 tube

3шт.

18

113464C91

FILTER

ASSY, hydraulic

1шт.

19

113465C1

FILTER

spin-on

1шт.

20

113452C1

TUBE

ASSY, connecting

1шт.

PO15237

SPACER

1шт.

21

570828R1

O-RING,0.087" Thk x 0.644" ID, -908, Cl 6, 90 Duro

1/2 OD tube

1шт.

22

364885R1

O-RING,0.097" Thk x 0.755" ID, -910, Cl 6, 90 Duro

3/4 x 15/16 x 3/32

1шт.

23

149191C1

HOSE,12.70 mm ID x 711.20, SAE 30R2 TYPE 3 OR 100R6

1/2 ID x 28 in. top return, hyd motor to oil cooler, serial no. 19900 and below

1шт.

23

90698C1

HOSE,12.70 mm ID x 13208.00 mm, SAE 30 R2 OR SAE 100R6

Top Return, Hyd Motor to Oil Cooler, Serial No. 19901 and Above 12.70 mm ID x 13208.00 mm, SAE 30 R2 OR SAE 100R6

1шт.

24

Not used this application

1шт.

25

137082C1

HOSE,0.50" ID x 200.00"

ASSY, 1/2 ID x 200 in. pressure, hyd pump to hyd motor, units A thru D and S

1шт.

25

58146C1

HOSE

ASSY, 1/2 ID x 100 in. pressure, hyd pump to hyd motor, units H, U, V and Z

1шт.

26

137081C1

HYDRAULIC HOSE,12.70 mm ID x 5636.00 mm, SAE 100R6

Return, Oil Cooler to Hydraulic Pump, Unit A Through D and S 12.70 mm ID x 5636.00 mm, SAE 100R6

1шт.

26

59773C1

HYDRAULIC HOSE,12.70 mm ID x 3048.00 mm ID, SAE 100R6, SAE J517

- Return, Hyd pump to oil cooler, Units H, U, V and Z 12.70 mm ID x 3048.00 mm ID, SAE 100R6, SAE J517

1шт.

27

COOLER, oil, refer to hydraulic blower drive

1шт.

28

MOTOR ASSY, hydraulic fan drive, refer to hydraulic blower drive

1шт.

29

95728C1

ADAPTER

1-1/16 str male O-ring boss x 3/4 in. NPTF female swivel for serial no. 19900 and below, also order connector, 95729C1

1шт.

30

95713C1

SHIELD

ASSY, pump, for use on case European tractors

1шт.

113-206

BOLT,Hex, 3/8" - 16 x 3/4", Gr 5, Full Thd

3/8 x 3/4 type 5

2шт.

95-11041

WASHER,3/8"

(.406 x .812 x .051 pln) 3/8"

2шт.

120382

LOCK WASHER,Helical Spring, 3/8"

WASHER, LOCK, 3/8"

2шт.

Выбрано товаров: 47