Запчасти Case IH 800 (12-08) - MONITORS, PERFORMANCE CENTER MONITORS, UNITS A THRU E, H, J,,R ,S, U, V, W, Y&Z, S.N.14501 & ABOVE (04) - ELECTRICAL SYSTEMS

Схема запчастей Case IH 800 - (12-08) - MONITORS, PERFORMANCE CENTER MONITORS, UNITS A THRU E, H, J,,R ,S, U, V, W, Y&Z, S.N.14501 & ABOVE (04) - ELECTRICAL SYSTEMS
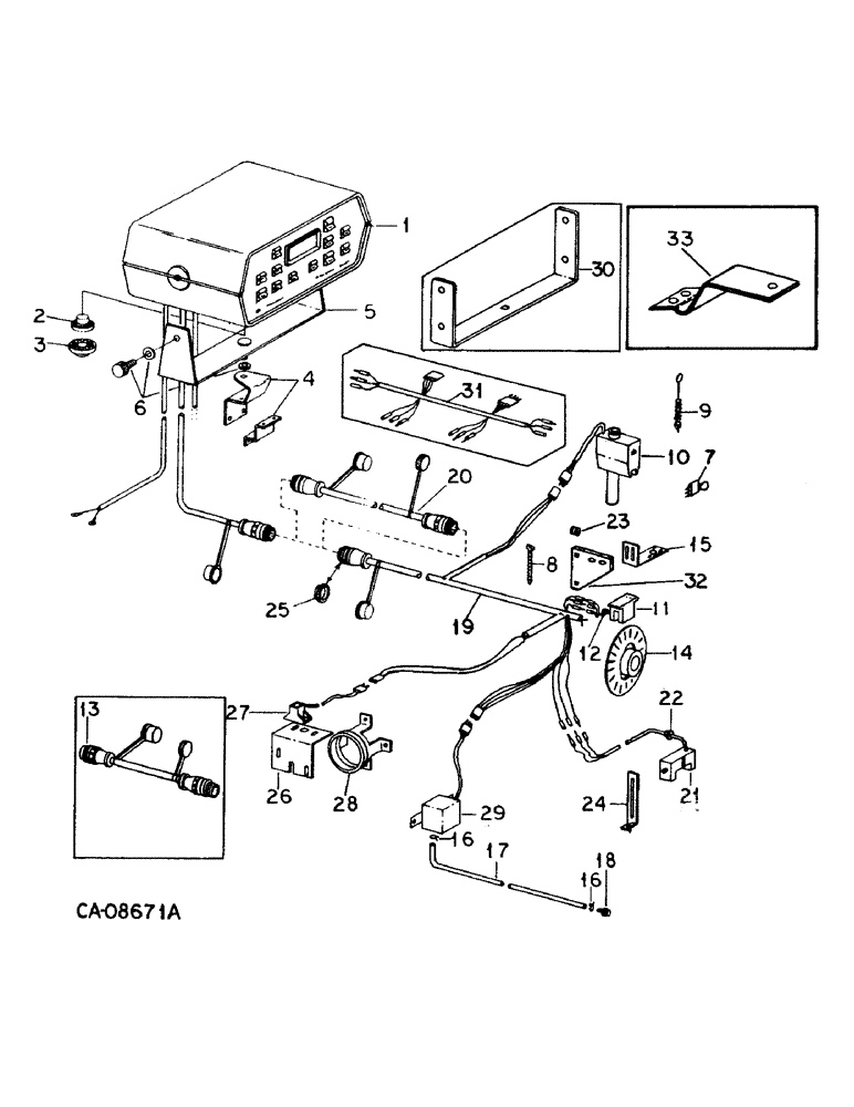
3
15
25
5
21
16
9
28
18
4
23
26
29
12
6
27
33
1
30
11
2
32
7
22
10
14
20
31
13
19
17
24
8
16
FIT
1:1
100%

Артикул

Название

Примечание

Количество

1

245815C91

REMAN-ELECT MONITOR

CONSOLE, renewed

1шт.

106652

FUSE,3 Amp, Type 3AG

3AG 3 amperes

1шт.

1261437C1

LAMP

type C-2F trade #37

1шт.

58554C1

BULB,C2F, #1892, 14V

LAMP, type C-2F trade #1892

1шт.

1264145C1

KIT

performance center monitor push button and button identificaton insert, consists of one blue push button, four push button, four clear push buttons and one set of identification inserts

1шт.

2

1261548C1

ALARM

1шт.

3

1261549C1

DAMPER

alarm

1шт.

4

1261522C91

BRACKET, SUPPORTING

BRACKET, cab mounting, consists of two unlike brackets

1шт.

598802R1

CARRIAGE BOLT,Short NK, 5/16"-18 x 3/4", G5, Full Thd

BOLT, 5/16 x 3/4 crg type 5

1шт.

116120

LOCK WASHER,5/16"

WASHER, LOCK, 5/16"

1шт.

5

1261523C91

BRACKET

console, units A thru E, H, J, R, S, U and V

1шт.

6

1261524C91

REPAIR KIT

KNOBS W/WASHERS, consists of two knobs and three washers

1шт.

116120

LOCK WASHER,5/16"

WASHER, LOCK, 5/16"

1шт.

7

245617C1

CONNECTOR,ELECTRIC

CABLE ASSY, shorting plug

2шт.

8

289862C1

CABLE TIE,3/16" x 7"

STRAP, 7 inch tie

1шт.

8

306132C1

CABLE TIE,14.5" L

STRAP, 14 inch tie

1шт.

9635082

NUT,5/16" - 18, Gr 5

5/16 phc type 5

1шт.

9

128817C1

BRUSH, COMMUTATOR

BRUSH, sensor cleaning

1шт.

9635082

NUT,5/16" - 18, Gr 5

5/16 phc type 5

1шт.

10

245599C1

SENSOR

ASSY, seed, one per row

1шт.

11

90920C91

PACKAGE

drum sensor, consists of sensor, drum (NSS)

1шт.

245750C1

HARNESS

CABLE ASSY, drum sensor

1шт.

436697

SCREW,Slotted Pan Hd, #8-32 x 3/4"

no. 8 x 3/4 znp p/hds mach

2шт.

131015

WASHER

.188 x .438 x .036

2шт.

120622

NUT,#8-32

2шт.

131182

WASHER, LOCK

WASHER, no. 8 lt lock

2шт.

12

1261538C1

BUSHING

drum switch

1шт.

13

245743C1

HARNESS

ADAPTER ASSY, harness, unit R

1шт.

14

1264109C1

DISC

DISK ASSY, slotted

1шт.

125932

SELF-TAP SCREW,Sl Pan Hd, #8 x 1/2"

SCREW, SELF TAPPING, Slotted Pan Hd, #8 x 1/2"

2шт.

15

1261528C1

BRACKET

switch mtg

1шт.

86505867

BOLT,Hex, 1/4" - 20 x 1", Gr 5

2шт.

120392

WASHER,1/4", SAE

.281 x .625 x .051

2шт.

938016R1

FLANGE NUT,Flg, USR, 1/4"-20

1/4 flange lock

2шт.

16

28068R1

HOSE CLAMP,#4, 1/4", Spring

CLAMP, no. 4 type E spring wire hose

2шт.

17

1261529C1

HOSE

pressure, clear

1шт.

18

1261530C1

ADAPTER

W/NUT, hose

1шт.

21872R1

WASHER

.406 x .625 x .054

1шт.

19

245398C1

HARNESS

wiring, unit A

1шт.

19

245399C1

HARNESS

wiring, units B, S, U and Z

1шт.

19

245400C1

HARNESS

wiring, units C, D, H and V

1шт.

19

245616C1

HARNESS

wiring, units E and J

1шт.

19

245742C1

HARNESS

wiring, unit R

1шт.

19

245613C2

HARNESS

wiring, unit W

1шт.

19

245612C2

HARNESS

wiring, unit X

1шт.

19

83825C1

HARNESS

wiring, unit Y

1шт.

20

133896C93

HARNESS

CABLE, extension, 15 ft, for use when planter is mounted behind other implements

1шт.

21

245606C1

SENSOR

ASSY, hopper

1шт.

120387

WASHER,3/8" x 3/4" x .060"

.375 x .750 x .054

1шт.

7500032

BUSHING

NUT, 5/16 wing

1шт.

22

1279331C1

GROMMET

1шт.

23

1279331C1

GROMMET

1шт.

24

113432C1

BRACKET

hopper sensor

1шт.

24497R1

WASHER

.344 x 1.250 x .105 znd

1шт.

80681

LOCK WASHER,5/16"

WASHER, LOCK, 5/16"

1шт.

120376

NUT,5/16"-18, G5

1шт.

180077

BOLT,Hex, 5/16" - 18 x 3/4", Gr 5

5/16 x 3/4 type 5, 2 for units E, J, R, W, X and Y

1шт.

134238R1

WASHER

.344 x 1.000 x .054, 4 for units E, J, R, W, X and Y

1шт.

120376

NUT,5/16"-18, G5

2 for units E, J, R, W, X and Y 5/16"-18, G5

1шт.

25

149459C91

SEAL PACKAGE

COUPLING, breakaway ring, consists of ten coupling rings

1шт.

26

1264112C1

BRACKET

mounting

1шт.

27

245610C1

GAUGE

MAGNET, pickup sensor

1шт.

28

1264113C1

MAGNET

HUB

1шт.

9635884

BOLT,Hex, 5/16" - 18 1", Full Thd, Gr 5

4шт.

120376

NUT,5/16"-18, G5

4шт.

29

SENSOR, air pressure, order control assy, 245605C91 (NSS)

1шт.

180075

BOLT,Hex, 5/16" - 18 x 5/8", Gr 5

5/16 x 5/8 type 5

2шт.

120376

NUT,5/16"-18, G5

2шт.

30

1267828C1

BRACKET

console and control, units W, X and Y

1шт.

31

245520C1

HARNESS

extension, units E and J

1шт.

32

1277517C1

STRIP

mounting

1шт.

598794R1

CARRIAGE BOLT,1/4" - 20 x 1/2", Grade 5

BOLT, 1/4 x 1/2 crg type 5

2шт.

492-11025

LOCK WASHER,1/4"

WASHER, LOCK, 1/4"

2шт.

120375

NUT,Hex, 1/4" - 20, Gr 5

2шт.

33

90905C1

SUPPORT

BRACKET, case monitor

1шт.

9635884

BOLT,Hex, 5/16" - 18 1", Full Thd, Gr 5

2шт.

120393

BEARING WASHER,5/16", SAE

WASHER, .344 x .688 x .051

2шт.

120376

NUT,5/16"-18, G5

2шт.

180050

BOLT,Hex, 1/4" - 20 x 2 3/4", Gr 5

1/4 x 2-3/4 type 5

2шт.

9413950

LOCK NUT,1/4"-20, GB

NUT, 1/4 phc p/t lock type 5

2шт.

NLS

NO LONGER SERVICED

.312 x .734 x .051

2шт.

1264253C91

SET OF WASHERS

STEP WASHER PACKAGE, consists of ten washers

1шт.

245605C91

SWITCH

CONTROL ASSY, air pressure sensor, composed of sensor, air pressure (NSS)

1шт.

180075

BOLT,Hex, 5/16" - 18 x 5/8", Gr 5

5/16 x 5/8 type 5

2шт.

120376

NUT,5/16"-18, G5

2шт.

306132C1

CABLE TIE,14.5" L

STRAP, 14 in. tie

4шт.

28068R1

HOSE CLAMP,#4, 1/4", Spring

CLAMP, no. 4 type E spring wire hose

2шт.

1261529C1

HOSE

pressure, clear

1шт.

1261530C1

ADAPTER

hose w/nut

1шт.

21872R1

WASHER

.406 x .625 x .054

1шт.

New harness to old sensors 245751C1

1шт.

new harness to air pressure sensor 245752C1

1шт.

see service bulletin S-4867

1шт.

Выбрано товаров: 93