Запчасти Case IH 800 (10-26) - FERTILIZER, HYD CONNECTIONS,FOR QUICK FILL AUGER ATTACH, UNITS A-G,M&T,S.N.19900 & BELOW (09) - CHASSIS/ATTACHMENTS

Схема запчастей Case IH 800 - (10-26) - FERTILIZER, HYD CONNECTIONS,FOR QUICK FILL AUGER ATTACH, UNITS A-G,M&T,S.N.19900 & BELOW (09) - CHASSIS/ATTACHMENTS
19
8
2
17
13
18
16
20
20
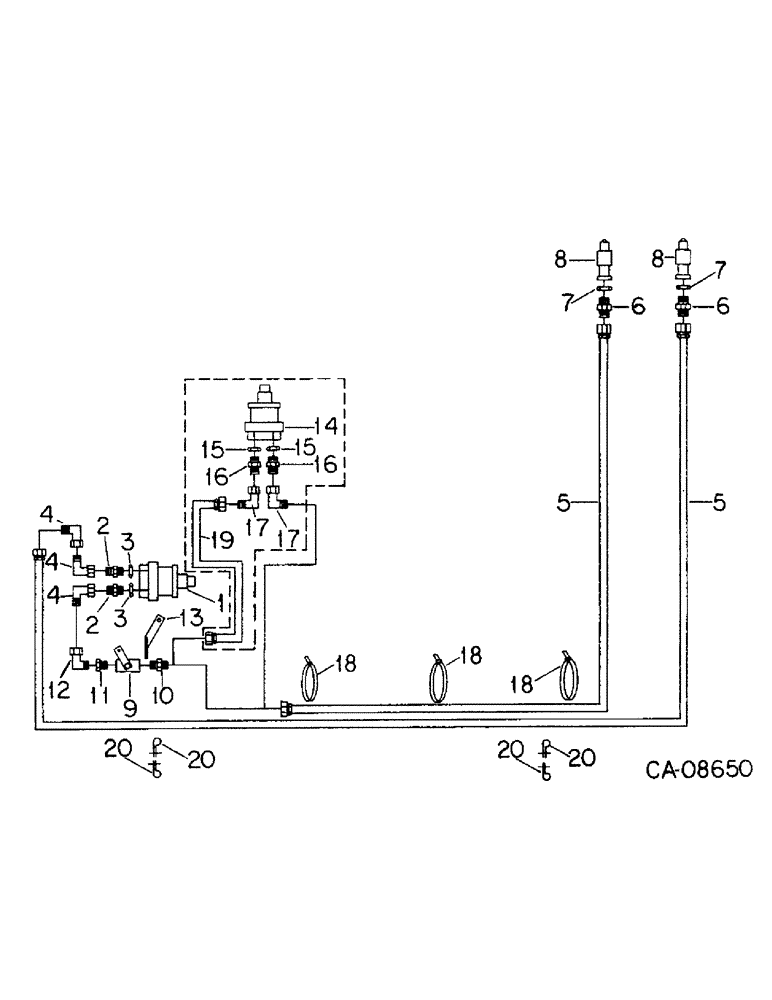
4
6
15
14
20
20
18
5
7
1
2
17
4
3
6
3
9
5
10
12
11
7
18
4
16
8
15
FIT
1:1
100%

Артикул

Название

Примечание

Количество

1

1279293C1

MOTOR

ASSY, horizontal auger, order motor assy, 90892C1, elbow, 90891C1 and anchor, 90893C1

1шт.

2

9410203

HYD CONNECTOR,3/4"-16, 37 Degree x 3/4"-16, O-Ring

CONNECTOR, 1/2 C-Z hyd fld short swivel

2шт.

3

570828R1

O-RING,0.087" Thk x 0.644" ID, -908, Cl 6, 90 Duro

1/2 OD tube class 6

2шт.

4

9410281

ELBOW,90 Degree, 3/4"-16, 37 Degree x 3/4"-16, 37 Degree Fem Sw

1/2 C-Z hyd fld 90D swivel

3шт.

5

1279319C1

HOSE

ASSY, 246 in. hydraulic, 2 for units A, B, F and G

1шт.

5

1279320C1

HOSE

ASSY, 276 in. hydraulic, 2 for units C and M

1шт.

5

1279321C1

HOSE

ASSY, 330 in. hydraulic, 2 for unit D

1шт.

5

1279322C1

HOSE

ASSY, 350 in. hydraulic, 2 for units E and T

1шт.

6

481352R1

HYD CONNECTOR,3/4"-16, 37 Degree x 7/8"-14, O-Ring

CONNECTOR, C-Z hyd fld 5/8 to 1/2 sht

2шт.

7

364885R1

O-RING,0.097" Thk x 0.755" ID, -910, Cl 6, 90 Duro

5/8 OD tube class 6

2шт.

8

544787R91

COUPLING, BREAK AWAY

COUPLER, quick attachable male, IH

2шт.

8

1272399C2

QUICK MALE COUPLING

COUPLER, quick attachable male, ISO

2шт.

9

1279313C1

VALVE

ASSY, safety shut-off

1шт.

10

255678C1

HYD CONNECTOR,3/4"-16, 37 Degree x 1/2"-14, NPTF

CONNECTOR, C-Z hyd fld 1/2 to 1/2

1шт.

11

1279294C1

CONNECTOR, ELEC

CONNECTOR, 3/8 x 1/2 pipe thread

1шт.

12

1279295C1

ELBOW

3/8 NPTF x 3/4-16 fld 90 deg

1шт.

13

1279317C1

ANCHOR

BRACKET, safety shut-off valve mounting anchor

1шт.

14

1279293C1

MOTOR

ASSY, vertical auger, order motor assy, 90892C1

1шт.

15

570828R1

O-RING,0.087" Thk x 0.644" ID, -908, Cl 6, 90 Duro

1/2 OD tube class 6, vertical auger

2шт.

16

9410203

HYD CONNECTOR,3/4"-16, 37 Degree x 3/4"-16, O-Ring

CONNECTOR, 1/2 C-Z hyd fld short swivel, vertical auger

2шт.

17

9410281

ELBOW,90 Degree, 3/4"-16, 37 Degree x 3/4"-16, 37 Degree Fem Sw

1/2 C-Z hyd fld 90D swivel, vertical auger

2шт.

18

306132C1

CABLE TIE,14.5" L

STRAP, tie

3шт.

19

1279318C1

HYDRAULIC HOSE,9.52 mm ID x 1016.00 mm

- Vertical auger motor to safety shut-off valve 9.52 mm ID x 1016.00 mm

1шт.

20

468256R1

CLAMP

hydraulic hose

4шт.

180124

BOLT,Hex, 3/8" - 16 x 1 1/4", Gr 5

3/8 x 1-1/4 type 5

2шт.

120382

LOCK WASHER,Helical Spring, 3/8"

WASHER, LOCK, 3/8"

2шт.

120394

WASHER,3/8", SAE

WASHER, .406 x .812 x .051

2шт.

120377

NUT,3/8" - 16, Gr 5

2шт.

Выбрано товаров: 0