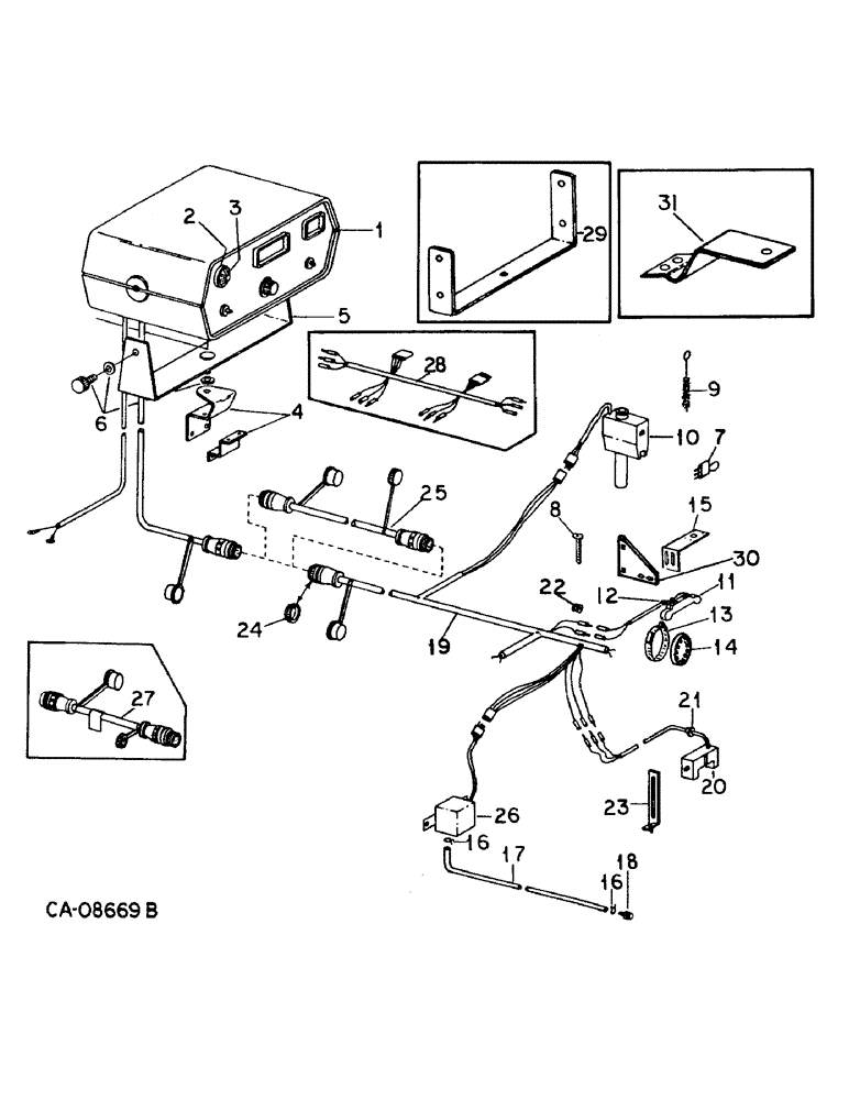
Запчасти Case IH 800 (12-12) - MONITORS, DIGITAL CYCLOMITOR III MONITOR, ALL UNITS W, X, Y-Z, UNITS A-E, H, J, R, S, U & V (04) - ELECTRICAL SYSTEMS

Схема запчастей Case IH 800 - (12-12) - MONITORS, DIGITAL CYCLOMITOR III MONITOR, ALL UNITS W, X, Y-Z, UNITS A-E, H, J, R, S, U & V (04) - ELECTRICAL SYSTEMS
19
3
15
25
11
23
21
17
20
22
6
30
14
13
7
9
31
26
18
1
10
4
16
5
2
8
27
16
12
28
29
24
FIT
1:1
100%

Артикул

Название

Примечание

Количество

1

245812C91

REMAN-ELECT MONITOR

CONSOLE, renewed, units A thru D, H, S, U, V and Z

1шт.

1

245813C91

REMAN-ELECT MONITOR

CONSOLE, renewed, units E, J, R, W, X and Y

1шт.

106652

FUSE,3 Amp, Type 3AG

3AG 3 amperes

1шт.

2

128816C1

BUZZER

ALARM, units A thru E, H, J, R, S, U, V and Z

1шт.

2

1261548C1

ALARM

units W, X and Y

1шт.

58554C1

BULB,C2F, #1892, 14V

LAMP, type C-2F trade #1892

1шт.

3

178876C1

SUPPRESSOR

DAMPER, alarm, units A thru E, H, J, R, S, U, V and Z

1шт.

3

1261549C1

DAMPER

alarm, units W, X and Y

1шт.

4

1261522C91

BRACKET, SUPPORTING

BRACKETS, cab mounting, consists of two unlike brackets

1шт.

598802R1

CARRIAGE BOLT,Short NK, 5/16"-18 x 3/4", G5, Full Thd

BOLT, 5/16 x 3/4 crg type 5

1шт.

116120

LOCK WASHER,5/16"

WASHER, LOCK, 5/16"

1шт.

5

1261523C91

BRACKET

console, units A thru E, H, J, R, S, U, V and Z

1шт.

6

1261524C91

REPAIR KIT

KNOBS W/WASHER, consists of two knobs and three washers

1шт.

116120

LOCK WASHER,5/16"

WASHER, LOCK, 5/16"

1шт.

7

245617C1

CONNECTOR,ELECTRIC

CABLE ASSY, shorting plug

2шт.

8

289862C1

CABLE TIE,3/16" x 7"

STRAP, 7 inch tie

1шт.

8

306132C1

CABLE TIE,14.5" L

STRAP, 14 inch tie

1шт.

9

128817C1

BRUSH, COMMUTATOR

BRUSH, sensor cleaning

1шт.

10

245599C1

SENSOR

ASSY, seed, one per row

1шт.

11

245602C1

SWITCH

ASSY, drum, one per seed drum

1шт.

9635082

NUT,5/16" - 18, Gr 5

5/16 phc type 5

1шт.

12

1261538C1

BUSHING

drum switch, one per switch

1шт.

9635082

NUT,5/16" - 18, Gr 5

5/16 phc type 5

1шт.

13

178800C1

CLAMP

ASSY, one per switch

1шт.

14

1261527C1

MAGNET

EXPANDER, magnet, one per magnet

1шт.

15

1261528C1

BRACKET

switch mounting, one per switch

1шт.

86505867

BOLT,Hex, 1/4" - 20 x 1", Gr 5

2шт.

120392

WASHER,1/4", SAE

.281 x .625 x .051

2шт.

938016R1

FLANGE NUT,Flg, USR, 1/4"-20

1/4 flange lock

2шт.

16

28068R1

HOSE CLAMP,#4, 1/4", Spring

CLAMP, no. 4 type E spring wire hose

2шт.

17

1261529C1

HOSE

pressure, clear, one per seed drum

1шт.

18

1261530C1

ADAPTER

W/NUT, hose, one per seed drum

1шт.

21872R1

WASHER

.406 x .625 x .054

1шт.

19

245398C1

HARNESS

wiring, unit A

1шт.

19

245399C1

HARNESS

wiring, units B, S, U and Z

1шт.

19

245400C1

HARNESS

wiring, units C, D, H and V

1шт.

19

245616C1

HARNESS

wiring, units E and J

1шт.

19

245742C1

HARNESS

wiring, unit R

1шт.

19

245613C2

HARNESS

wiring, unit W

1шт.

19

245612C2

HARNESS

wiring, unit X

1шт.

19

83825C1

HARNESS

wiring, unit Y

1шт.

20

245608C1

GAUGE

SENSOR ASSY, hopper

1шт.

120387

WASHER,3/8" x 3/4" x .060"

.375 x .750 x .054

1шт.

7500032

BUSHING

NUT, 5/16 wing

1шт.

21

1279331C1

GROMMET

1шт.

22

1279331C1

GROMMET

1шт.

23

113432C1

BRACKET

hopper sensor

1шт.

24497R1

WASHER

.344 x 1.250 x .105 znd

1шт.

80681

LOCK WASHER,5/16"

WASHER, LOCK, 5/16"

1шт.

120376

NUT,5/16"-18, G5

1шт.

180077

BOLT,Hex, 5/16" - 18 x 3/4", Gr 5

5/16 x 3/4 type 5, 2 for units E, J, R, W, X and Y

1шт.

134238R1

WASHER

.344 x 1.000 x .054, 4 for units E, J, R, W, X and Y

1шт.

120376

NUT,5/16"-18, G5

2 for units E, J, R, W, X and Y 5/16"-18, G5

1шт.

24

149459C91

SEAL PACKAGE

COUPLING, breakaway ring, consists of ten coupling rings

1шт.

25

133896C93

HARNESS

CABLE, extension, 15 ft, for use when planter is mounted behind other implements

1шт.

26

SENSOR, air pressure, order control assy, 245605C91 (NSS)

1шт.

180075

BOLT,Hex, 5/16" - 18 x 5/8", Gr 5

5/16 x 5/8 type 5

2шт.

120376

NUT,5/16"-18, G5

2шт.

27

245743C1

HARNESS

wiring adapter, unit R

1шт.

28

245520C1

HARNESS

extension, units E and J

1шт.

29

1267828C1

BRACKET

console, units W, X and Y

1шт.

30

1277517C1

STRIP

mounting

1шт.

598794R1

CARRIAGE BOLT,1/4" - 20 x 1/2", Grade 5

BOLT, 1/4 x 1/2 crg type 5

2шт.

120375

NUT,Hex, 1/4" - 20, Gr 5

2шт.

492-11025

LOCK WASHER,1/4"

WASHER, LOCK, 1/4"

2шт.

31

90905C1

SUPPORT

BRACKET, case monitor

1шт.

9635884

BOLT,Hex, 5/16" - 18 1", Full Thd, Gr 5

2шт.

120393

BEARING WASHER,5/16", SAE

WASHER, .344 x .688 x .051

2шт.

120376

NUT,5/16"-18, G5

2шт.

180050

BOLT,Hex, 1/4" - 20 x 2 3/4", Gr 5

1/4 x 2-3/4 type 5

2шт.

9413950

LOCK NUT,1/4"-20, GB

NUT, 1/4 phc p/t lock type 5

2шт.

120386

WASHER

.312 x .734 x .051

2шт.

245605C91

SWITCH

CONTROL ASSY, air pressure sensor, composed of sensor, air pressure (NSS)

1шт.

180075

BOLT,Hex, 5/16" - 18 x 5/8", Gr 5

5/16 x 5/8 type 5

2шт.

120376

NUT,5/16"-18, G5

2шт.

306132C1

CABLE TIE,14.5" L

STRAP, 14 in. tie

4шт.

1261529C1

HOSE

pressure, clear

1шт.

28068R1

HOSE CLAMP,#4, 1/4", Spring

CLAMP, no. 4 type E spring wire hose

2шт.

1261530C1

ADAPTER

hose w/nut

1шт.

21872R1

WASHER

.406 x .625 x .054

1шт.

Выбрано товаров: 0