Запчасти Case IH 800 (02-05) - MISCELLANEOUS, SAFETY LIGHTING UNIT, UNITS W, X AND Y, TOOLS (18) - MISCELLANEOUS

Схема запчастей Case IH 800 - (02-05) - MISCELLANEOUS, SAFETY LIGHTING UNIT, UNITS W, X AND Y, TOOLS (18) - MISCELLANEOUS
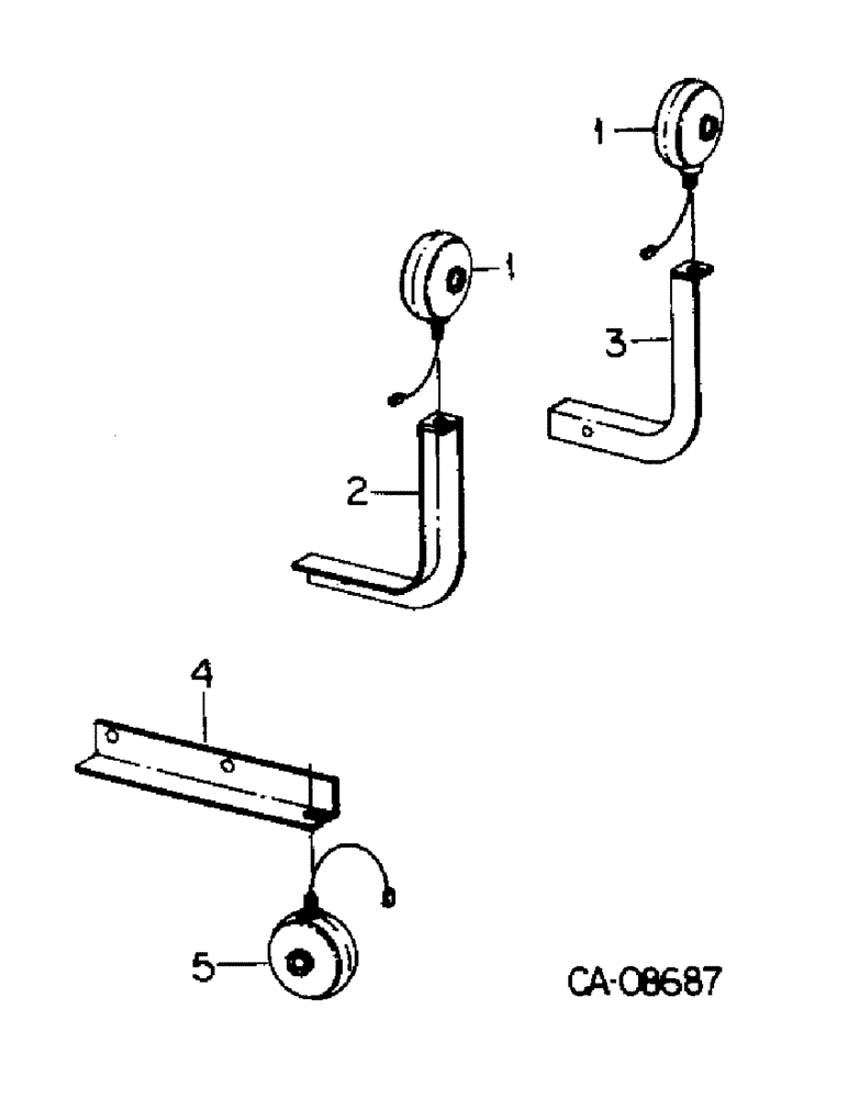
5
1
3
4
2
1
FIT
1:1
100%

Артикул

Название

Примечание

Количество

1

245777C91

LIGHT

ASSY, amber, only serviceable item is

2шт.

9417866

BULB,C6, #1156, 12.8V

LAMP, type C-6 trade #1156

1шт.

NLS

NO LONGER SERVICED

.531 x 1.062 x .074

2шт.

120384

WASHER,1/2"

LOCK, 1/2"

2шт.

120371

NUT,1/2"-20, G5

2шт.

2

1279323C1

BRACKET

ASSY, light, LH

1шт.

3

1279324C1

BRACKET

ASSY, light, RH

1шт.

4

1279246C1

ANGLE

light support

1шт.

5

245778C91

LIGHT

ASSY, red, only serviceable item is

1шт.

9417866

BULB,C6, #1156, 12.8V

LAMP, type C-6 trade #1156

1шт.

120396

WASHER

.531 x 1.062 x .074

1шт.

120384

WASHER,1/2"

LOCK, 1/2"

1шт.

120371

NUT,1/2"-20, G5

1шт.

384557R1

CLIP

cable harness

4шт.

Выбрано товаров: 14