Запчасти Case IH 800 (05-05) - WHEELS, LEVEL LIFT VALVE, UNITS A, B, F AND G (06) - POWER TRAIN

Схема запчастей Case IH 800 - (05-05) - WHEELS, LEVEL LIFT VALVE, UNITS A, B, F AND G (06) - POWER TRAIN
7
4
7
7
1
6
2
3
5
8
FIT
1:1
100%

Артикул

Название

Примечание

Количество

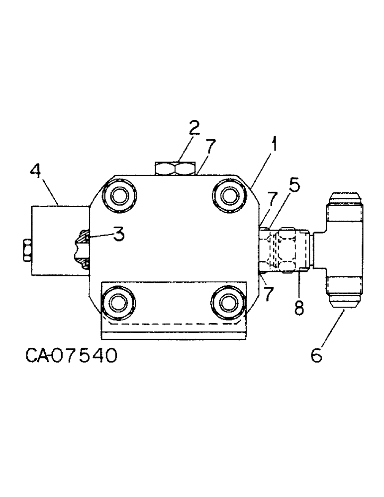
VALVE ASSY, level lift service parts are

1шт.

1

142843C93

VALVE

flow divider, consists of ref no. 8 and kit

1шт.

2

9410360

PLUG

5/8 C-Z str thd O-ring boss

1шт.

3

606271C1

O-RING,0.103" Thk x 0.612" ID, -114, Cl 6, 90 Duro

5/8 x 13/16 class 6

2шт.

4

145286C1

BLOCK

outlet

2шт.

180087

SPRING

5/16 x 2 type 5

4шт.

5

532875R1

FITTING

ORIFICE, outlet

1шт.

5

9410204

HYD CONNECTOR,7/8"-14, 37 Degree x 7/8"-14, O-Ring

CONNECTOR, 5/8 C-Z hyd fld short swivel, for units B and G when four wheel drive attachment is used

1шт.

6

9410308

TEE,37 Degree, 7/8"-14 x 7/8"-14, Fem Sw Br

5/8 C-Z hyd fld tube swivel

1шт.

7

364885R1

O-RING,0.097" Thk x 0.755" ID, -910, Cl 6, 90 Duro

5/8 OD tube class 6

4шт.

8

149932C1

VALVE

relief

2шт.

24496R1

O-RING,-041, 70 Duro, 2.989" ID x .070" Thk

3 x 3-1/8 class 5

2шт.

149942C1

SEAL KIT

KIT, relief valve seal, consists of O-ring plug (NSS), O-ring (NSS), O-ring (NSS), back-up washer (NSS)

2шт.

Выбрано товаров: 0