Запчасти Case IH 800 (05-42) - WHEELS, HYDRAULIC CYLINDER, 4 X 16 INCH DOUBLE ACTING, UNITS C, D, M AND S (06) - POWER TRAIN

Схема запчастей Case IH 800 - (05-42) - WHEELS, HYDRAULIC CYLINDER, 4 X 16 INCH DOUBLE ACTING, UNITS C, D, M AND S (06) - POWER TRAIN
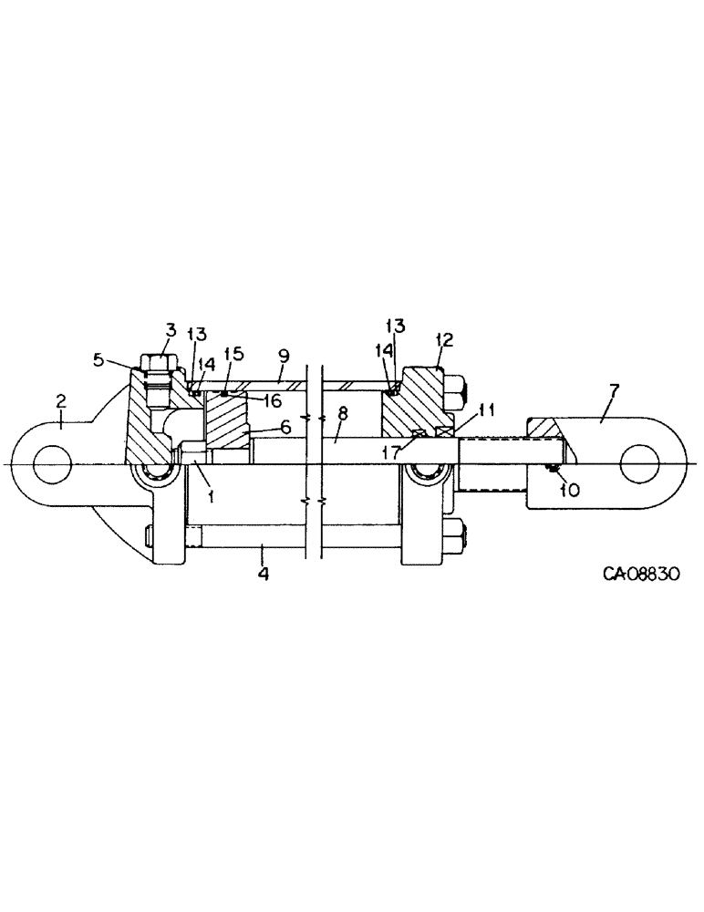
5
1
16
12
7
2
9
13
15
13
10
14
17
8
3
4
6
11
14
FIT
1:1
100%

Артикул

Название

Примечание

Количество

1282329C91

HYDRAULIC CYLINDER

CYLINDER ASSY, 4 x 16 in. double acting hydraulic

1шт.

1

20268R1

LOCK NUT,7/8"-14, GC

NUT, 7/8-NF PHC p/t lock type 8

1шт.

2

1282336C1

HEAD

rear

1шт.

3

9410359

PLUG

1/2 C-Z str thd O-ring boss

1шт.

4

145251C1

THREADED ROD,5/8" - 11 x 539mm

BOLT, cylinder tie

4шт.

102639

NUT,5/8"-11, G5

4шт.

5

O-RING (NSS), 1/2 OD tube class 6, order kit, 79979C2

1шт.

6

149930C2

PISTON

cylinder

1шт.

7

145240C1

CLEVIS,1 -1/2" - 12

rod end

1шт.

8

1263346C1

ROD ASSY.

ROD, piston

1шт.

9

SLEEVE (NSS), cylinder, order cylinder assy

1шт.

10

145453C1

PLUG,Lock, 7.938mm Dia x 3.175mm Thk, Nylon

PAD, clevis nylon

1шт.

125843

SET SCREW,Hex Skt, 3/8"-16 x 3/8"

SCREW, 3/8 x 3/8 c/pt znp hdl/s set

1шт.

11

WIPER (NSS), piston rod, order kit, 79979C2

1шт.

12

1282337C1

GLAND

HEAD, front

1шт.

13

WASHER (NSS), O-ring back-up, order kit, 79979C2

2шт.

14

O-RING (NSS), 3-3/4 x 4 class 6, order kit, 79979C2

2шт.

15

RING (NSS), piston seal, order kit, 79979C2

1шт.

16

O-RING (NSS), 3-1/2 x 3-11/16 class 5, order kit, 79979C2

1шт.

17

SEAL (NSS), piston rod urethane, order kit, 79979C2

1шт.

79979C2

SEAL KIT

KIT, O-ring and seal service, consists of ref nos 5, 11 and 13 through 17

1шт.

Выбрано товаров: 0