Запчасти Case IH 800 (05-43) - WHEELS, HYDRAULIC CYLINDER, PRINCE, 4 X 16 INCH DOUBLE ACTING UNITS C, D, M AND S (06) - POWER TRAIN

Схема запчастей Case IH 800 - (05-43) - WHEELS, HYDRAULIC CYLINDER, PRINCE, 4 X 16 INCH DOUBLE ACTING UNITS C, D, M AND S (06) - POWER TRAIN
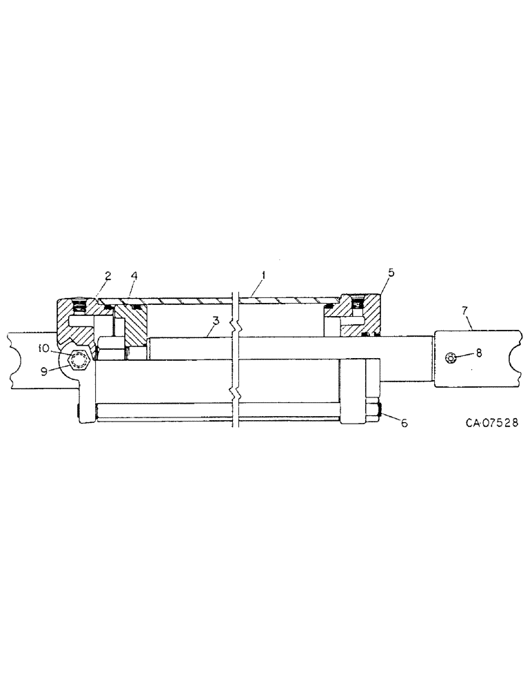
10
3
4
8
7
1
2
6
9
5
FIT
1:1
100%

Артикул

Название

Примечание

Количество

1252323C91

CYLINDER ASSY.

CYLINDER ASSY, 4 x 16 in. hydraulic

1шт.

1

79145C1

SLEEVE, hyd cyl

1шт.

2

79939C1

END

hyd cyl rear

1шт.

3

79147C1

ROD

hyd cyl piston

1шт.

25878R1

LOCK NUT,1"-14, GC

NUT, 1-NF PHC p/t lock type 8

1шт.

4

79148C1

PISTON

hyd cyl

1шт.

5

79940C1

END

hyd cyl front

1шт.

6

79150C1

STUD,5/8" - 18 x 21 3/8"

hyd cyl tie rod

4шт.

425-1110

NUT,5/8"-18, G5

4шт.

7

76704C1

FORK

YOKE ASSY, hyd cyl, includes ref no. 8

1шт.

8

145453C1

PLUG,Lock, 7.938mm Dia x 3.175mm Thk, Nylon

PAD, insert

1шт.

222518

SET SCREW,Hex Soc, 3/8"-24 x 3/8"

SCREW, 3/8NF x 3/8 pln f/pt hdl/hs set

1шт.

9

9410359

PLUG

1/2 C-Z str thd O-ring boss

1шт.

10

570828R1

O-RING,0.087" Thk x 0.644" ID, -908, Cl 6, 90 Duro

1/2 OD tube class 6

1шт.

79151C1

PACKAGE

KIT, hyd cyl seal

1шт.

Выбрано товаров: 15