Запчасти Case IH 800 (05-56) - WHEELS, HYDRAULIC CYLINDER, UNITS B AND G, 2-1/4 X 8 INCH RAM TYPE SINGLE ACTING (06) - POWER TRAIN

Схема запчастей Case IH 800 - (05-56) - WHEELS, HYDRAULIC CYLINDER, UNITS B AND G, 2-1/4 X 8 INCH RAM TYPE SINGLE ACTING (06) - POWER TRAIN
7
11
1
9
4
5
6
10
3
2
8
FIT
1:1
100%

Артикул

Название

Примечание

Количество

142423C93

CYLINDER

ASSY, 2-1/4 x 8 in. single acting hydraulic ram, unit B w/serial no. 14500 & below, unit G w/serial no. 4200 & below

1шт.

1272682C92

CYLINDER

ASSY, 2-1/4 x 8 in. single acting hydraulic ram, unit B w/serial no. 14501 & above, unit G w/serial no. 4201 & above

1шт.

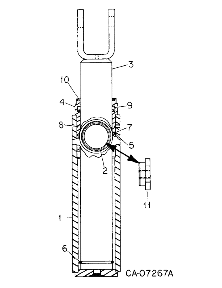
1

142538C92

SLEEVE

BODY ASSY, cylinder, for cylinder 142423C93

1шт.

1

BODY ASSY (NSS), cylinder, order cylinder assy, 1272682C92

1шт.

2

224565C1

BUSHING

trunnion

2шт.

3

142542C3

ROD ASSY.

ROD ASSY, piston

1шт.

4

142568C2

HEAD

front

1шт.

5

O-RING (NSS), 2-1/2 x 2-11/16 x 3/32 front head, order seal kit, 224718C91

1шт.

6

STOP (NSS), piston rod, order seal kit, 224718C91

1шт.

7

WASHER (NSS), front head O-ring back-up, order seal kit, 224718C91

1шт.

8

RING (NSS), front head retaining, order seal kit, 224718C91

1шт.

9

SEAL (NSS), piston rod, order seal kit, 224718C91

1шт.

10

WIPER (NSS), piston rod, order seal kit, 224718C91

1шт.

11

Not used this application

1шт.

224718C92

SEAL KIT

KIT, seal, consists of ref nos 5 through 10

1шт.

Выбрано товаров: 15