Запчасти Case IH 800 (09-02) - MARKERS, HYDRAULIC MARKER ATTACHMENT, NON-FOLD, BASIC PARTS, UNITS A, B, F, G, Z, AA AND AB (08) - HYDRAULICS

Схема запчастей Case IH 800 - (09-02) - MARKERS, HYDRAULIC MARKER ATTACHMENT, NON-FOLD, BASIC PARTS, UNITS A, B, F, G, Z, AA AND AB (08) - HYDRAULICS
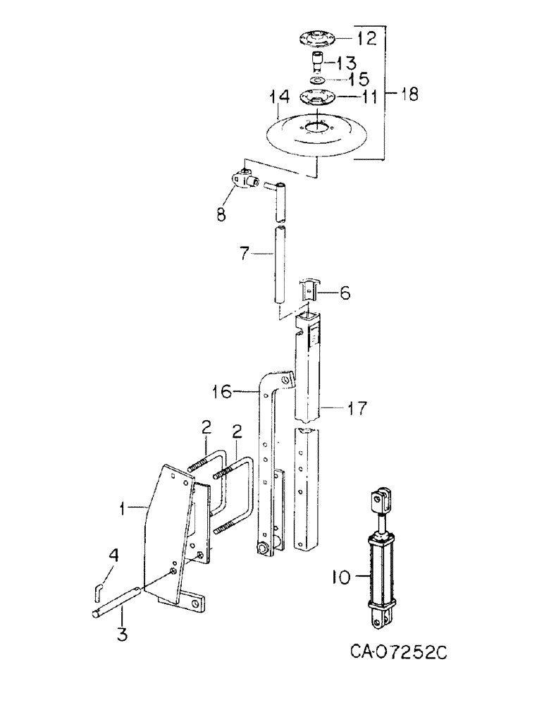
13
18
7
11
2
6
17
14
3
10
16
4
2
12
15
8
1
FIT
1:1
100%

Артикул

Название

Примечание

Количество

1

133979C3

BRACKET

ASSY, marker right short

1шт.

1

100235C3

BRACKET

ASSY, marker left short

1шт.

2

1250813C1

U-BOLT

5/8, replaces 493837R2, 4 for units A, B, F, G and Z

1шт.

280374

NUT,Hex, 5/8" - 11, Gr 5

5/8 type 5

8шт.

2

21275R1

BOLT,Hex, 5/8" - 11 x 6 1/2", Gr 5

5/8 x 6-1/2 type 5, 4 for units AA and AB

1шт.

280374

NUT,Hex, 5/8" - 11, Gr 5

5/8 type 5

4шт.

3

100573C1

PIN

marker pivot

2шт.

21761R1

WASHER

.906 x 1.500 x .054

2шт.

432-1620

COTTER PIN,1/4" x 1 1/4"

Pin, Split (Cotter), 1/4" x 1 1/4"

2шт.

4

471323R1

LINCH PIN

PIN, pivot lock

2шт.

5

Not used this application

1шт.

6

119983C1

BLOCK

cyclo planters w/serial no. 10100 and below, plate planters w/serial no. 2313 and below

2шт.

6

1264424C1

STOP

BLOCK, cyclo planters w/serial no. 10101 and above, plate planters w/serial no. 2314 and above

2шт.

20080R1

SET SCREW

1/2 x 1-1/4 znp sq/hd c/pt set

4шт.

7

144919C2

TUBE

ASSY, 2 for units A and F

1шт.

7

144918C4

TUBE ASSY.

TUBE ASSY, long, 2 for untis B, G, Z, AA and AB

1шт.

8

478032R1

CLAMP

axle

2шт.

466971R1

CARRIAGE BOLT,Sq Nk, 1/2" - 13 x 2", Gr 5

BOLT, 1/2 x 2 crg type 5

2шт.

120384

WASHER,1/2"

LOCK, 1/2"

2шт.

120378

NUT,Hex, 1/2" - 13, Gr 5

NUT, 1/2"-13, G5

2шт.

9

Not used this application

1шт.

10

145622C91

CYLINDER ASSY.,Double Acting, 50.8mm Rod, 204.7mm Stroke

CYLINDER ASSY, 2 x 8 in. S.A. hyd, cyclo planters w/serial no. 10100 and below, plate planters w/serial no. 2313 and below, for components see list of parts under details of hyd cyl

2шт.

10

1263405C91

CYLINDER

ASSY, 1-1/4 x 8 ram type, order cylinder assy, 1272484C92, cyclo planters w/serial no. 10101 and above, plate planters w/serial no. 2314 and above, for components see list of parts under details of hyd cylinder

2шт.

10

1272484C92

HYDRAULIC CYLINDER

CYLINDER ASSY, 1-1/4 x 8 ram type, cyclo planters w/serial no. 10101 and above, plate planters w/serial no. 2314 and above, for components see list of parts under details of hyd cylinder

2шт.

609891R1

HEADED PIN,1" x 3 1/4"

PIN, 1 x 3.250 pln hd type 1

2шт.

22807R1

CLEVIS PIN

PIN, 1 x 3. hd type 1

2шт.

432-1624

COTTER PIN,1/4" x 1 1/2"

Pin, Split (Cotter), 1/4" x 1 1/2"

4шт.

11

478035R1

BEARING HOUSING,109 mm OD x 19.3 mm

disk brg inner

2шт.

12

478036R1

BEARING HOUSING,30.023 mm ID x 69 mm OD x 19.3 mm

disk brg outer

2шт.

13

478034R91

BEARING ASSY,30mm OD x 82.53mm L

BEARING, ball

2шт.

14

469372R1

DISC,13"

DISK, 330mm x 2.5mm rnd hole concave

2шт.

180077

BOLT,Hex, 5/16" - 18 x 3/4", Gr 5

5/16 x 3/4 type 5

12шт.

80681

LOCK WASHER,5/16"

WASHER, LOCK, 5/16"

12шт.

120376

NUT,5/16"-18, G5

12шт.

15

480679R1

WASHER

dirt seal felt

2шт.

REF 15 THIS SHOULD BE LEFT HAND. PARTS BOOK IS WRONG. 5/9/97 PER PARTS NOTES CNS

1шт.

16

141361C1

ARM

BRACKET ASSY, marker, used on RH side of machine

1шт.

16

141362C1

ARM

BRACKET ASSY, marker, used on LH side of machine

1шт.

REF 16 THIS SHOULD BE RIGHT HAND. PARTS BOOK IS WRONG. 5/9/97 PER PARTS NOTES CNS

1шт.

66584D

FITTING

3/16 hole less ball check lub

2шт.

180191

BOLT,Hex, 1/2" - 13 x 3 1/4", Gr 5

1/2 x 3-1/4 type 5

2шт.

27463R1

CARRIAGE BOLT,Sq Nk, 1/2" - 13 x 3 3/4", Gr 5

BOLT, 1/2 x 3-3/4 crg type 5

4шт.

932452R1

HEAD (CYLINDER)

PIN, 1/2 x 4.250 pln hd type 5

2шт.

479696R91

AXLE PIN

PIN, klik

2шт.

120384

WASHER,1/2"

LOCK, 1/2"

6шт.

120378

NUT,Hex, 1/2" - 13, Gr 5

NUT, 1/2"-13, G5

4шт.

487374R1

BEARING LOCK NUT,Flg, USR, 1/2"-13

1/2 flange lock

2шт.

17

1254155C92

TUBE

W/PRODUCT GRAPHIC, 1254154C1, 2 for units A, B, F, G and AA

1шт.

17

1279465C91

TUBE

W/PRODUCT GRAPHIC, 1254154C1, 2 for units Z and AB

1шт.

1254154C1

DECAL,Warning Keep Away Markers Actuate

PRODUCT GRAPHIC, caution

1шт.

18

1264358C1

DISC,13"

DISK ASSY, marker, consists of ref. nos. 11 thru 15

1шт.

Выбрано товаров: 0