Запчасти Case IH 900 (9-028) - RIGID HITCH, CYCLO AIR AND PLATE TRAILING, 6 ROW NARROW AND 4 ROW (09) - CHASSIS/ATTACHMENTS

Схема запчастей Case IH 900 - (9-028) - RIGID HITCH, CYCLO AIR AND PLATE TRAILING, 6 ROW NARROW AND 4 ROW (09) - CHASSIS/ATTACHMENTS
19
1
4
20
5
6
14
26
28
15
14
10
22
30
12
23
11
2
29
13
1
21
27
16
FIT
1:1
100%

Артикул

Название

Примечание

Количество

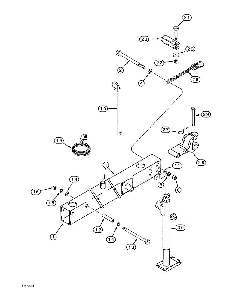
1

96208C2

TOW BAR

TONGUE - hitch, includes decals, see items 8, 9, and 10 on page 9-337

1шт.

2

413-12104

BOLT,Hex, 3/4" - 10 x 6-1/2", Gr 5

- hex, 3/4 NC x 6-1/2 inch

1шт.

2

413-12112

BOLT,Hex, 3/4" - 10 x 7", Gr 5

- hex, 3/4 NC x 7 inch

1шт.

4

495-11081

WASHER,3/4", SAE

1шт.

5

492-11075

LOCK WASHER,3/4"

3/4"

2шт.

6

425-1012

NUT,3/4"-10, G5

- hex, 3/4 inch NC

2шт.

10

1279237C1

SUPPORT

- hose

1шт.

11

137098C1

SUPPORT

BRACKET - pump mounting, if used

1шт.

12

1250748C2

SPACER

- tongue

2шт.

13

413-12128

BOLT,Hex, 3/4" - 10 x 8", Gr 5

- hex, 3/4 NC x 8 inch

2шт.

14

495-81255

WASHER,0.78" ID x 1.5" OD x 0.18" Thk

- flat, 25/32 x 1-1/2 x 11/64 inch

4шт.

15

492-11075

LOCK WASHER,3/4"

3/4"

2шт.

16

425-1012

NUT,3/4"-10, G5

- hex, 3/4 inch NC

2шт.

19

96088C1

SEAL

TRIM - tongue

2шт.

20

148558C1

CLEVIS

- chain

1шт.

21

413-1056

BOLT,Hex, 5/8" - 11 x 3-1/2", Gr 5

1шт.

22

231-14110

LOCK NUT,5/8"-11, GB

NUT - hex, self-locking, 5/8 inch NC

1шт.

23

495-81047

WASHER,25/32" x 2" x .179"

- flat, 25/32 x 2 x 11/64 inch

1шт.

26

1279040C1

CLEVIS

- hitch

1шт.

27

A30338

PIN

- lock

1шт.

28

100682C3

CHAIN (AG)

CHAIN - hitch, 5/16 link x 59-1/4 inch

1шт.

29

1277850C1

HITCH PIN,36.88mm OD x 239mm L

PIN - hitch clevis

1шт.

30

1333730C1

JACK

- hitch

1шт.

Выбрано товаров: 23