Запчасти Case IH 900 (9-030) - FOLDING HITCH, CYCLO AIR TRAILING, 6 ROW WIDE, 8 ROW, & 12 ROW NARROW PLATE TRAILING, 8 ROW NARROW (09) - CHASSIS/ATTACHMENTS

Схема запчастей Case IH 900 - (9-030) - FOLDING HITCH, CYCLO AIR TRAILING, 6 ROW WIDE, 8 ROW, & 12 ROW NARROW PLATE TRAILING, 8 ROW NARROW (09) - CHASSIS/ATTACHMENTS
13
3
18
6
8
19
30
10
28
35
2
18a
12
29
25
34
7
26
14
15
36
9
33
4
16
1
5
22
20
11
27
FIT
1:1
100%

Артикул

Название

Примечание

Количество

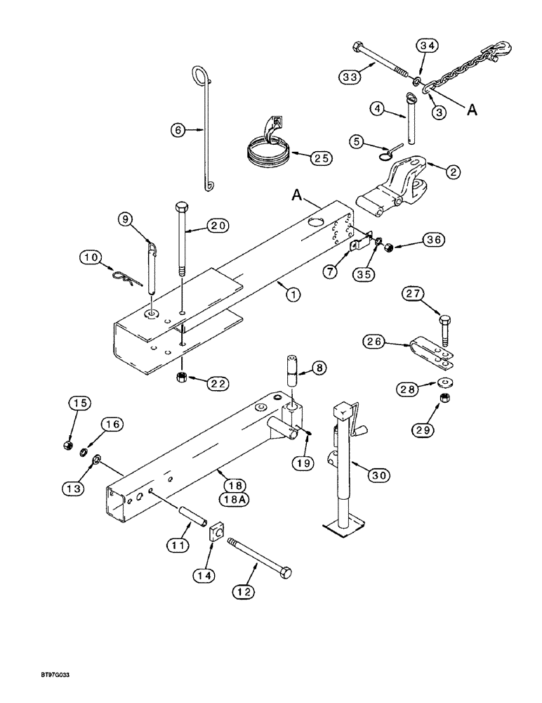
1

1268044C93

TOW BAR

TONGUE - hitch, includes decals, see items 8, 9 and 10 on page 9-337 (6 row wide and 8 row)

1шт.

1

1268045C92

TOW BAR

TONGUE - hitch, includes decals, see items 8, 9 and 10 on page 9-337 (12 row narrow)

1шт.

2

1279040C1

CLEVIS

- hitch

1шт.

3

100682C3

CHAIN (AG)

CHAIN - hitch, 5/16 link x 59-1/4 inch

1шт.

4

1277850C1

HITCH PIN,36.88mm OD x 239mm L

PIN - hitch clevis

1шт.

5

A30338

PIN

- lock

1шт.

6

1279237C1

SUPPORT

- hose

1шт.

7

137098C1

SUPPORT

BRACKET - pump mounting, if used

1шт.

8

1250754C1

SPACER

- pivot

1шт.

9

1250775C2

PIN

- tongue

1шт.

10

1978738C1

HAIR PIN COTTER

3/16"

1шт.

11

1250748C2

SPACER

- tongue

3шт.

12

413-12128

BOLT,Hex, 3/4" - 10 x 8", Gr 5

- hex, 3/4 NC x 8 inch

3шт.

13

495-81255

WASHER,0.78" ID x 1.5" OD x 0.18" Thk

- flat, 25/32 x 1-1/2 x 11/64 inch (6 row wide and 8 row)

6шт.

14

1277824C1

WASHER

WASHER - square, spacer (12 row narrow)

6шт.

15

425-1012

NUT,3/4"-10, G5

- hex, 3/4 inch NC

3шт.

16

492-11075

LOCK WASHER,3/4"

3/4"

3шт.

18

1995825C1

TUBE

- tongue, no longer available, order item 18A tube and item 8 spacer

1шт.

18a

1995825C2

TUBE

- tongue

1шт.

19

219-8

LUBE NIPPLE,1/4" - 28 NPTF

NIPPLE, LUBE, , straight, taper 1/4"-28 NPT x .54" lg

1шт.

20

326-16160

BOLT,Hex, 1" - 8 x 10", Gr 8

- hex, 1 NC x 10 inch, grade 8

1шт.

22

232-41116

LOCK NUT,1"-8, GC

NUT, LOCK, 1"-8, GC

1шт.

25

96088C1

SEAL

TRIM - tongue

1шт.

26

1279163C1

CLEVIS COUPLING

CLEVIS - chain

1шт.

27

413-1056

BOLT,Hex, 5/8" - 11 x 3-1/2", Gr 5

1шт.

28

495-81047

WASHER,25/32" x 2" x .179"

- flat, 25/32 x 2 x 11/64 inch

1шт.

29

231-14110

LOCK NUT,5/8"-11, GB

NUT - hex, self-locking, 5/8 inch NC

1шт.

30

141241C1

JACK

- hitch

1шт.

33

413-12104

BOLT,Hex, 3/4" - 10 x 6-1/2", Gr 5

- hex, 3/4 NC x 6-1/2 inch

1шт.

33

413-12112

BOLT,Hex, 3/4" - 10 x 7", Gr 5

- hex, 3/4 NC x 7 inch

1шт.

34

495-11081

WASHER,3/4", SAE

1шт.

35

492-11075

LOCK WASHER,3/4"

3/4"

2шт.

36

425-1012

NUT,3/4"-10, G5

- hex, 3/4 inch NC

2шт.

Выбрано товаров: 33