Запчасти Case IH 900 (9-122) - SEED DELIVERY TUBE, CYCLO AIR SEMI-MOUNTED, 6 ROW NARROW (09) - CHASSIS/ATTACHMENTS

Схема запчастей Case IH 900 - (9-122) - SEED DELIVERY TUBE, CYCLO AIR SEMI-MOUNTED, 6 ROW NARROW (09) - CHASSIS/ATTACHMENTS
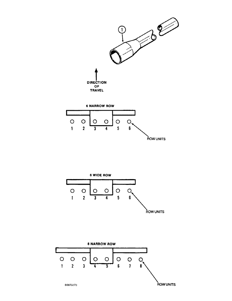
1
FIT
1:1
100%

Артикул

Название

Примечание

Количество

1

1279792C1

TUBE,17.45 - 28.5 mm OD, 2560 mm Length

- seed delivery, 101 inch, No. 1, see note (B), 6 row narrow

1шт.

Order 130979A2 tube, flared end, 4950 mm, 195 in., long, and cut to length

1шт.

1

1337525C1

TUBE,17.45 - 28.5 mm OD, 1650 mm Length

- seed delivery, 65 inch, No. 2, see note (B), 6 row narrow

1шт.

Order 130979A2 tube, flared end, 4950 mm, 195 in., long, and cut to length

1шт.

1

1337518C1

TUBE,17.45 - 28.5 mm OD, 1010 mm Length

- seed delivery, 40 inch, No. 3, see note (A), 6 row narrow

1шт.

Order 58238C2 tube, flared end, 1473 mm, 58 in., long, and cut to length

1шт.

1

1277733C1

TUBE,17.45 - 28.5 mm OD, 940 mm Length

- seed delivery, 37 inch, No. 4, see note (A), 6 row narrow

1шт.

Order 58238C2 tube, flared end, 1473 mm, 58 in., long, and cut to length

1шт.

1

1337523C1

TUBE,17.45 - 28.5 mm OD, 1430 mm Length

- seed delivery, 56 inch, No. 5, see note (A), 6 row narrow

1шт.

Order 58238C2 tube, flared end, 1473 mm, 58 in., long, and cut to length

1шт.

1

1337530C1

TUBE,17.45 - 28.5 mm OD, 2260 mm Length

- seed delivery, 89 inch, No. 6, see note (B), 6 row narrow

1шт.

Order 130979A2 tube, flared end, 4950 mm, 195 in., long, and cut to length

1шт.

1

1337534C1

TUBE,17.45 - 28.5 mm OD, 3010 mm Length

- seed delivery, 118 inch, No. 1, see note (B), 6 row wide

1шт.

Order 130979A2 tube, flared end, 4950 mm, 195 in., long, and cut to length

1шт.

1

1337528C1

TUBE,17.45 - 28.5 mm OD, 1990 mm Length

- seed delivery, 78 inch, No. 2, see note (B), 6 row wide

1шт.

Order 130979A2 tube, flared end, 4950 mm, 195 in., long, and cut to length

1шт.

1

1337519C1

TUBE,17.45 - 28.5 mm OD, 1040 mm Length

- seed delivery, 41 inch, No. 3, see note (A), 6 row wide

1шт.

Order 58238C2 tube, flared end, 1473 mm, 58 in., long, and cut to length

1шт.

1

1277733C1

TUBE,17.45 - 28.5 mm OD, 940 mm Length

- seed delivery, 37 inch, No. 4, see note (A), 6 row wide

1шт.

Order 58238C2 tube, flared end, 1473 mm, 58 in., long, and cut to length

1шт.

1

1337527C1

TUBE,17.45 - 28.5 mm OD, 1820 mm Length

- seed delivery, 72 inch, No. 5, see note (B), 6 row wide

1шт.

Order 130979A2 tube, flared end, 4950 mm, 195 in., long, and cut to length

1шт.

1

141329C2

TUBE,17.5 - 25.4 mm OD, 2690 mm Length

- seed delivery, 106 inch, No. 6, see note (B), 6 row wide

1шт.

Order 130979A2 tube, flared end, 4950 mm, 195 in., long, and cut to length

1шт.

1

1337536C1

TUBE,17.45 - 28.5 mm OD, 3300 mm Length

- seed delivery, 130 inch, No. 1, see note (B), 8 row narrow

1шт.

Order 130979A2 tube, flared end, 4950 mm, 195 in., long, and cut to length

1шт.

1

1337531C1

TUBE,17.45 - 28.5 mm OD, 2490 mm Length

- seed delivery, 98 inch, No. 2, see note (B), 8 row narrow

1шт.

Order 130979A2 tube, flared end, 4950 mm, 195 in., long, and cut to length

1шт.

1

1337525C1

TUBE,17.45 - 28.5 mm OD, 1650 mm Length

- seed delivery, 65 inch, No. 3, see note (B), 8 row narrow

1шт.

Order 130979A2 tube, flared end, 4950 mm, 195 in., long, and cut to length

1шт.

1

1337515C1

TUBE

- seed delivery, 35 inch, No. 4, see note (A), 8 row narrow

1шт.

Order 58238C2 tube, flared end, 1473 mm, 58 in., long, and cut to length

1шт.

1

1277733C1

TUBE,17.45 - 28.5 mm OD, 940 mm Length

- seed delivery, 37 inch, No. 5, see note (A), 8 row narrow

1шт.

Order 58238C2 tube, flared end, 1473 mm, 58 in., long, and cut to length

1шт.

1

1337523C1

TUBE,17.45 - 28.5 mm OD, 1430 mm Length

- seed delivery, 56 inch, No. 6, see note (A), 8 row narrow

1шт.

Order 58238C2 tube, flared end, 1473 mm, 58 in., long, and cut to length

1шт.

1

1337530C1

TUBE,17.45 - 28.5 mm OD, 2260 mm Length

- seed delivery, 89 inch, No. 7, see note (B), 8 row narrow

1шт.

Order 130979A2 tube, flared end, 4950 mm, 195 in., long, and cut to length

1шт.

1

1337534C1

TUBE,17.45 - 28.5 mm OD, 3010 mm Length

- seed delivery, 118 inch, No. 8, see note (B), 8 row narrow

1шт.

Order 130979A2 tube, flared end, 4950 mm, 195 in., long, and cut to length

1шт.

Выбрано товаров: 40