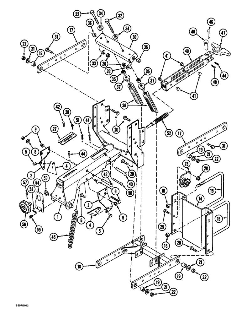
Запчасти Case IH 900 (9-162) - ROW UNIT FRAME (09) - CHASSIS/ATTACHMENTS

Схема запчастей Case IH 900 - (9-162) - ROW UNIT FRAME (09) - CHASSIS/ATTACHMENTS
22
20
4
17
57
22
14
48
55
49
16
26
1
21
41
28
32
19
31
32
19
33
20
56
16
44
19
15
42
30
19
41
23
51
9
38
40
44
6
36
37
34
26
36
27
20
21
9
35
18
6
35
46
44
47
22
43
53
21
58
33
21
50
5
2
25
15
31
54
34
8
52
5
4
22
45
3
37
43
17
FIT
1:1
100%

Артикул

Название

Примечание

Количество

1

1547308C2

FRAME ASSY

FRAME - planter unit

1шт.

2

147436C94

SCRAPER

ASSEMBLY - disc (Includes Ref. 4 and 5)

1шт.

3

147439C93

SCRAPER

ASSEMBLY - blade, disc, right-hand, prior to P.I.N. 19344

1шт.

3

1978897C2

SCRAPER

ASSEMBLY - disc, P.I.N. 19344 and after

1шт.

4

147438C2

HALF BLADE

BLADE - scraper

1шт.

5

147274C1

RIVET,4.78mm OD x 10mm L

- special, 3/16 x 3/8 inch

2шт.

6

111-260

CARRIAGE BOLT,Short NK, 5/16"-18 x 3/4", G2

BOLT - carrige, 5/16 NC x 3/4 inch, grade 2

4шт.

6

111-225

CARRIAGE BOLT,Short NK, 5/16"-18 x 2 1/2", G2

BOLT - carriage, 5/16 NC x 2-1/2 inch, grade 2

1шт.

8

495-11034

WASHER,5/16", SAE

5/16" SAE (flat, 11/32 x 11/16 x 1/16")

1шт.

9

232-4115

LOCK NUT,5/16"-18, GC

NUT, LOCK, 5/16"-18, GC

1шт.

9

231-5145

SERRATED NUT,Flg, USR, 5/16"-18

NUT - hex serrated flange, 5/16 inch NC

4шт.

14

141728C3

CHANNEL

SUPPORT - head bracket

1шт.

15

1250813C1

U-BOLT

- 5/8 inch NC, 7 x 7 inch

2шт.

16

425-1010

NUT,5/8"-11, G5

4шт.

17

137507C3

BAR

BRACKET - linkage, lower

2шт.

18

147354C2

SUPPORT

- linkage, lower

1шт.

19

137512C3

BUSHING,13.5mm ID x 22.23mm OD x 13.5mm L

- 13.5 x 22.2 x 13.5 mm, linkage pivot

8шт.

20

102732A1

BOLT

- hex, 1/2 NC x 1-1/2 inch

8шт.

21

495-11053

WASHER,1/2", SAE

(17/32" x 1-1/16" x 3/32") 1/2", SAE

8шт.

22

231-4118

LOCK NUT,1/2"-13, GB

NUT - hex, self-locking, 1/2 inch NC

8шт.

23

140920C1

GEAR, IDLER

SPROCKET - bearing, standard, 12 teeth

1шт.

23

1261576C1

SPROCKET ASSY.

SPROCKET - bearing, 14 teeth

1шт.

23

1264086C1

SPROCKET ASSY.

SPROCKET - bearing, 16 teeth

1шт.

23

1261577C1

GEAR, IDLER

SPROCKET - bearing, 18 teeth

1шт.

25

413-616

BOLT,Hex, 3/8" - 16 x 1", Gr 5

- hex, 3/8 NC x 1 inch

2шт.

26

231-5146

FLANGE NUT,3/8"-16

1шт.

27

147326C2

GAUGE

- depth

1шт.

28

187-1067

SELF-TAP SCREW,Hex Hd, #10 x 1/2"

SCREW - self-tapping, hex head, No. 10 NC x 1/2 inch

2шт.

30

141729C1

CHANNEL

SUPPORT - spring mounting (Cyclo Air except seed growers special)

1шт.

31

413-624

BOLT,Hex, 3/8" - 16 x 1-1/2", Gr 5

- hex, 3/8 NC x 1-1/2 inch

2шт.

32

149439C1

SPECIAL BOLT,Spcl, Hex, 1/2" - 13 x 4.25", Gr 5

BOLT - hex special

2шт.

33

495-81136

WASHER,10.31mm ID x 25.4mm OD x 3.81mm Thk

- flat, 13/32 x 1 x 7/64 inch

2шт.

34

496-21053

WASHER,17/32" x 1 1/16" x .134"

- flat, 17/32 x 1-1/16 x 1/8 inch, hardened

2шт.

35

425-108

NUT,1/2" - 13, Gr 5

NUT, , Hex 1/2"-13, G5

2шт.

36

141730C1

SPACER,10.34mm ID x 19.05mm OD x 7mm L

- (Cyclo Air except seed growers special)

2шт.

37

144847C1

PLUG

- spring (Cyclo Air except seed growers special)

2шт.

38

140579C1

SPRING

- linkage (Cyclo Air except seed growers special)

2шт.

40

147276C4

BAR

- tension

1шт.

41

147483C1

PLUG

- button

4шт.

42

1277597C1

STUD

- barbed, No. 12 x 3/4 inch

1шт.

43

439-5844

HEADED PIN,1/2" x 2 3/4", G5

PIN - headed, 1/2 x 2-3/4 inch

2шт.

44

432-1216

COTTER PIN,3/16" x 1"

3шт.

45

147425C5

SPRING

- press wheel

1шт.

46

439-1824

HEADED PIN,1/2" x 1 1/2", G2

PIN - headed, 1/2 x 1-1/2 inch, grade 2

1шт.

47

1279508C1

BRACKET

- wobble

1шт.

48

427-12179

CLEVIS PIN,3/4" x 1.796"

PIN - clevis, 3/4 x 1-13/16 inch, hardened

1шт.

49

432-1020

COTTER PIN,5/32" x 1 1/4"

PIN, SPLIT (COTTER), 5/32" x 1 1/4"

1шт.

50

147310C1

HEADED PIN,6.35mm OD x 69.85mm L

PIN - pointed, 1/4 x 2-3/4 inch

1шт.

51

136-159

HAIR PIN COTTER,Int, 3/16 x .080"

PIN, SPLIT (COTTER), Int, 3/16 x .080"

1шт.

52

1279684C1

ROD

- depth adjusting

1шт.

53

496-21066

WASHER,16.6mm ID x 33.5mm OD x 3.8mm Thk

- flat, 21/32 x 1-5/16 x 5/32 inch, hardened

1шт.

54

1279107C1

STRAP

COVER - detent

1шт.

55

281-1458

SELF-TAP SCREW,Hex Wash Hd, #10 x 1/2"

SCREW - self-tapping, hex washer head, No. 10 NC x 1/2 inch

2шт.

56

1279740C91

KNOB

- detent, depth adjusting

1шт.

57

439-5420

HEADED PIN,1/4" x 1 1/4", G5

PIN - headed, 1/4 x 1-1/4 inch

1шт.

58

432-812

COTTER PIN,3/4" OAL x 1/8" W

PIN, SPLIT (COTTER), 1/8" x 3/4"

1шт.

Выбрано товаров: 56