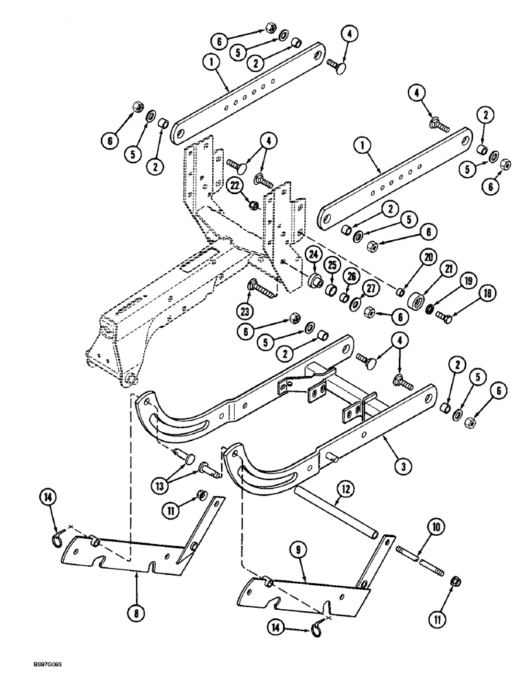
Запчасти Case IH 900 (9-166) - PIVOT LINKAGE, CYCLO AIR SEMI-MOUNTED, CORN/SOYBEAN SPECIAL (09) - CHASSIS/ATTACHMENTS

Схема запчастей Case IH 900 - (9-166) - PIVOT LINKAGE, CYCLO AIR SEMI-MOUNTED, CORN/SOYBEAN SPECIAL (09) - CHASSIS/ATTACHMENTS
2
6
27
4
26
8
5
6
5
11
2
14
3
6
18
12
22
19
2
5
24
4
5
4
11
23
2
2
6
2
20
13
25
6
14
1
5
5
6
9
10
1
21
6
4
FIT
1:1
100%

Артикул

Название

Примечание

Количество

1

1254306C3

LINK

BRACKET - linkage

2шт.

2

1254302C1

BUSHING,13.5mm ID x 22.2mm OD x 16.7mm L

- linkage pivot

6шт.

3

1254311C1

SUPPORT

- linkage

1шт.

4

433-824

CARRIAGE BOLT,Sq Nk, 1/2" - 13 x 1 1/2", Gr 5

BOLT - carriage, 1/2 NC x 1-1/2 inch

6шт.

5

495-81287

WASHER,13.49mm ID x 31.75mm OD x 3.4mm Thk

- flat, 17/32 x 1-1/4 x 7/64 inch

6шт.

6

231-4118

LOCK NUT,1/2"-13, GB

NUT - hex, self-locking, 1/2 inch NC

8шт.

8

1254554C1

LOCK

- parallel link, left-hand

1шт.

9

1254555C1

LOCK

- parallel link, right-hand

1шт.

10

1261226C1

ROD

- tie

1шт.

11

231-5148

FLANGE NUT,Flg, USR, 1/2"-13

2шт.

12

1261225C1

SPACER

- tie rod

1шт.

13

1254312C1

PIN

- lock link

2шт.

14

A33497

LINCH PIN,4.76mm OD Pin

PIN - lock

2шт.

18

413-820

BOLT,Hex, 1/2" - 13 x 1-1/4", Gr 5

- hex, 1/2 NC x 1-1/4 inch

2шт.

19

495-81254

WASHER,13.49mm ID x 25.4mm OD x 1.7mm Thk

- flat, 17/32 x 1 x 3/64 inch

2шт.

20

472104R1

BUSHING

- roller

2шт.

21

1261223C1

ROLLER

- stop, parallel link

2шт.

22

131-208

SPECIAL NUT,1/2"-13

NUT - heavy hex, self-locking, 1/2 inch NC

2шт.

23

433-840

CARRIAGE BOLT,Sq Nk, 1/2" - 13 x 2 1/2", Gr 5

BOLT - carriage, 1/2 NC x 2-1/2 inch

2шт.

24

1254299C2

BUSHING

- link

2шт.

25

1254539C1

BUSHING

- link

2шт.

26

137512C3

BUSHING,13.5mm ID x 22.23mm OD x 13.5mm L

- 13.5 x 22.2 x 13.5 mm, linkage pivot

2шт.

27

495-81163

WASHER,17/32" x 1 1/2" x .120"

- flat, 17/32 x 1-1/2 x 7/64 inch

4шт.

Выбрано товаров: 23