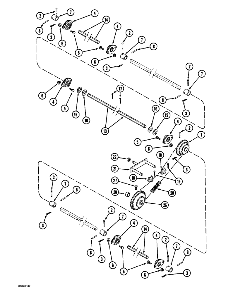
Запчасти Case IH 900 (9-258) - SECONDARY FERTILIZER DRIVE, DRY, CYCLO AIR TRAILING, 12 ROW NARROW (09) - CHASSIS/ATTACHMENTS

Схема запчастей Case IH 900 - (9-258) - SECONDARY FERTILIZER DRIVE, DRY, CYCLO AIR TRAILING, 12 ROW NARROW (09) - CHASSIS/ATTACHMENTS
6
5
2
2
20
26
5
14
3
7
17
3
6
1
6
16
8
6
4
4
27
4
6
8
16
3
14
5
7
21
3
7
22
3
15
3
2
19
7
13
4
2
18
18
8
2
7
6
2
7
8
3
8
5
4
15
2
28
8
4
FIT
1:1
100%

Артикул

Название

Примечание

Количество

1

1267911C1

SPROCKET

- triple, 16, 24 and 30 teeth (Shown)

1шт.

1

1264352C1

SPROCKET ASSY.

SPROCKET - triple, 20, 34 and 36 teeth

1шт.

2

439-5432

HEADED PIN,1/4" x 2"

PIN - clevis, 1/4 x 2 inch

7шт.

3

136-159

HAIR PIN COTTER,Int, 3/16 x .080"

PIN, SPLIT (COTTER), Int, 3/16 x .080"

7шт.

4

134158C92

BALL BEARING,22.5mm ID

- ball, hex, sealed, 7/8 inch

6шт.

5

434-512

CARRIAGE BOLT,Sht Sq Nk, 5/16" - 18 x 3/4", Gr 5

BOLT - carriage, 5/16 NC x 3/4 inch

12шт.

6

231-5145

SERRATED NUT,Flg, USR, 5/16"-18

NUT - hex serrated flange, 5/16 inch NC

12шт.

7

141771C2

COUPLING,27.05mm ID x 33.4mm OD x 36mm L

- 1-7/16 inch (36 mm) long

6шт.

8

454894R1

LOCK PIN,7/32" x 1 3/4", Slotted

Pin, 7/32" x 1 3/4", Slotted

6шт.

13

141110C2

BAR

SHAFT - drive, hex, 22 (7/8) x 630 mm (24-13/16 inch) long, center

1шт.

14

145175C1

BAR

SHAFT - drive, hex, 22 (7/8) x 746 mm (29-3/8 inch) long, outer

2шт.

15

495-81074

WASHER,1 1/32" x 1 3/4" x .120"

- flat, 1-1/32 x 1-3/4 x 1/8"

2шт.

16

495-81073

WASHER,1-1/32" x 1-3/4" x .060" Thk

- flat, 1-1/32 x 1-3/4 x 1/16 inch

4шт.

17

432-1624

COTTER PIN,1/4" x 1 1/2"

Pin, Split (Cotter), 1/4" x 1-1/2"

2шт.

18

472344R3

SPROCKET

- idler

2шт.

19

432-1216

COTTER PIN,3/16" x 1"

2шт.

20

NSS

NOT SOLD SEPARAT

CHAIN ASSEMBLY - drive (Use 57 links from bulk chain 569088R91, plus 1 connecting link 1277927C91)

1шт.

569088R91

CHAIN (AG)

CHAIN - bulk, No. 2040, 10 foot roll

1шт.

1277927C91

LINK

- connecting

1шт.

21

141074C2

ARM

- chain tightener

1шт.

22

425-108

NUT,1/2" - 13, Gr 5

NUT, , Hex 1/2"-13, G5

1шт.

26

141063C2

SPROCKET

- triple, 20, 34 and 36 teeth

1шт.

27

485-15012

SET SCREW,Sq Hd, 1/2"-13 x 3/4"

SCREW - set, square head, 1/2 NC x 3/4 inch, cup point

4шт.

28

144812C2

SPACER

- 27 x 33 x 17 mm

1шт.

Выбрано товаров: 0