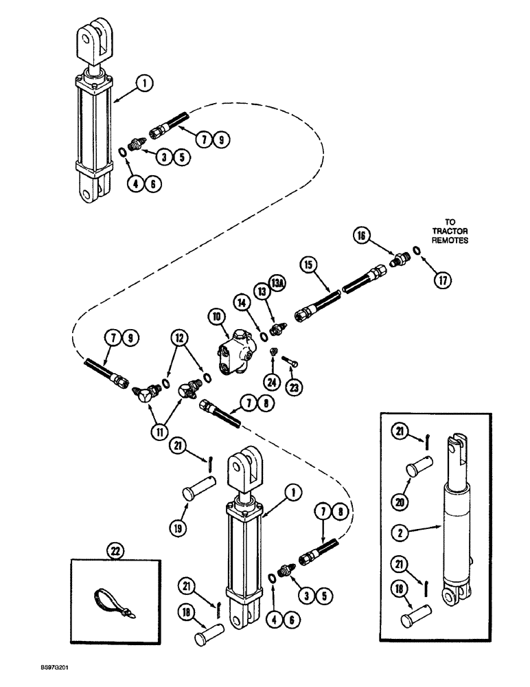
Запчасти Case IH 900 (8-010) - ROW MARKER HYDRAULIC SYSTEM, PLATE MOUNTED, ALL ROW SIZES (08) - HYDRAULICS

Схема запчастей Case IH 900 - (8-010) - ROW MARKER HYDRAULIC SYSTEM, PLATE MOUNTED, ALL ROW SIZES (08) - HYDRAULICS
12
15
1
9
8
8
7
19
21
18
2
3
4
17
20
13a
7
3
1
24
4
9
6
13
18
21
7
5
16
11
23
21
10
14
7
6
21
5
22
FIT
1:1
100%

Артикул

Название

Примечание

Количество

1

1272484C92

HYDRAULIC CYLINDER

CYLINDER ASSEMBLY - 51 (2) ID x 203 mm (8 inch) stroke, row marker (4 row adjustable and 6 row narrow) (See Page 8-65)

2шт.

2

REF

INSTRUCTION

CYLINDER ASSEMBLY - marker (6 row wide and 8 row)(See Pages 8-67 and 8-69 for correct cylinder)

2шт.

3

1263477C3

HYD CONNECTOR

ADAPTER - restrictor (4 row adjustable and 6 row narrow)

2шт.

4

237-6008

O-RING,0.087" Thk x 0.644" ID, -908, Cl 6, 90 Duro

8-1, 90 Duro, .644" ID x .087" Thk

1шт.

5

218-5057

HYD CONNECTOR,9/16" - 18 JIC x 9/16" - 18 ORB

ADAPTER - straight, 9/16-18 inch flare x O-ring boss (6 row wide and 8 row)

2шт.

7

1284291C1

HYDRAULIC HOSE

- 2413 mm (95 inch) long (4 row adjustable)

2шт.

7

1264172C2

HYDRAULIC HOSE,6.40 mm ID x 2665.00 mm, SAE 100R1

HOSE - 2667 mm (105 inch) long (6 row narrow)

2шт.

7

139655C2

HYDRAULIC HOSE

HOSE - 3937 mm (155 inch) long (6 row wide and 8 row narrow)

2шт.

8

1261401C1

HOSE,6.40 mm ID x 5200.00 mm, SAE 100R1

(8 row wide - to right-hand cylinder) 6.40 mm ID x 5200.00 mm, SAE 100R1

1шт.

9

1261399C1

HYDRAULIC HOSE,6.35mm ID x 4570mm L

HOSE - 4572 mm (180 inch) long (8 row wide - to left-hand cylinder)

1шт.

10

93006C1

HYDRAULIC VALVE

VALVE ASSEMBLY - sequencing, marker (See Page 8-115)

1шт.

11

218-5128

ELBOW,90° Elbow, 9/16" - 18 Male JIC x 3/4" - 16 Male ORB

- 90 degree, 9/16-18 flare x 3/4-16 inch adj O-ring boss

2шт.

12

237-6008

O-RING,0.087" Thk x 0.644" ID, -908, Cl 6, 90 Duro

8-1, 90 Duro, .644" ID x .087" Thk

1шт.

13

218-5059

HYD CONNECTOR,3/4"-16, 37 Degree x 3/4"-16, O-Ring

ADAPTER - straight, 3/4-16 inch flare x O-ring boss

1шт.

13a

93207C1

HYD CONNECTOR

CONNECTOR restrictor, 1/2 inch tube

1шт.

Restrictor assembly P/N 93207C1 is alternative part for proper operation of marker valve by tractor with high hydraulic flow rate.

1шт.

14

237-6008

O-RING,0.087" Thk x 0.644" ID, -908, Cl 6, 90 Duro

8-1, 90 Duro, .644" ID x .087" Thk

1шт.

15

90882C1

HYDRAULIC HOSE,12.70 mm ID x 1195.00 mm, SAE 100R1

(All except 8 row wide) 12.70 mm ID x 1195.00 mm, SAE 100R1

1шт.

15

90877C1

HYDRAULIC HOSE

HOSE - 1524 mm (60 inch) long (8 row wide)

1шт.

16

218-5059

HYD CONNECTOR,3/4"-16, 37 Degree x 3/4"-16, O-Ring

ADAPTER - straight, 3/4-16 inch flare x O-ring boss

1шт.

17

237-6008

O-RING,0.087" Thk x 0.644" ID, -908, Cl 6, 90 Duro

8-1, 90 Duro, .644" ID x .087" Thk

1шт.

18

439-51648

HEADED PIN,1" x 3"

PIN - headed, 1 x 3 inch

2шт.

19

61571C2

HEADED PIN,25.4mm OD x 82.5mm L

PIN - headed, 1 x 3-1/4 inch (4 row adjustable and 6 row narrow)

2шт.

20

439-11639

HEADED PIN,1" x 2 7/16"

PIN - headed, 1 x 2-7/16 inch, grade 2 (6 row wide and 8 row)

2шт.

21

432-1624

COTTER PIN,1/4" x 1 1/2"

Pin, Split (Cotter), 1/4" x 1-1/2"

4шт.

22

306132C1

CABLE TIE,14.5" L

STRAP - tie, 14 inch

1шт.

23

413-532

BOLT,Hex, 5/16" - 18 x 2", Gr 5

2шт.

24

231-5145

SERRATED NUT,Flg, USR, 5/16"-18

NUT - hex serrated flange, 5/16 inch NC

2шт.

6

237-6006

O-RING,0.078" Thk x 0.468" ID, -906, Cl 6, 90 Duro

6-1, 90 Duro, .468" ID x .078" Thk

1шт.

Выбрано товаров: 29