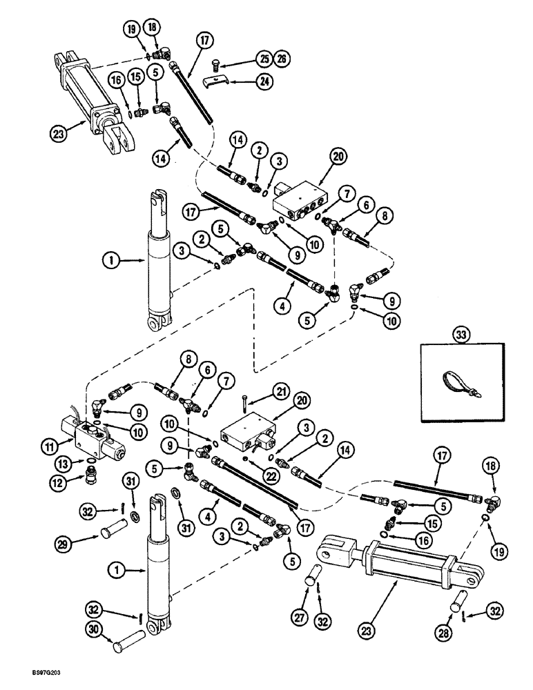
Запчасти Case IH 900 (8-016) - ROW MARKER HYDRAULIC SYSTEM, CYCLO AIR HORIZONTAL FOLDING, ALL ROW SIZES (08) - HYDRAULICS

Схема запчастей Case IH 900 - (8-016) - ROW MARKER HYDRAULIC SYSTEM, CYCLO AIR HORIZONTAL FOLDING, ALL ROW SIZES (08) - HYDRAULICS
2
32
9
6
12
7
2
3
17
5
11
10
32
5
25
33
9
17
27
7
8
18
1
3
13
31
30
20
5
10
21
15
24
19
16
17
23
14
2
4
10
5
22
14
9
17
20
19
18
8
32
9
14
15
29
26
2
23
4
3
16
10
6
28
1
5
5
32
31
3
FIT
1:1
100%

Артикул

Название

Примечание

Количество

1

REF

INSTRUCTION

CYLINDER ASSEMBLY - row marker, outer arm (See Pages 8-67 and 8-69 for correct cylinder)

2шт.

2

218-5057

HYD CONNECTOR,9/16" - 18 JIC x 9/16" - 18 ORB

ADAPTER - straight, 9/16-18 inch flare x O-ring boss

4шт.

4

1254574C2

HYDRAULIC HOSE

HOSE - 1525 mm (60 inch) long (12 row narrow)

2шт.

4

1301350C2

HYDRAULIC HOSE

HOSE - 3048 mm (120 inch) long (16 row narrow)

2шт.

4

129671C2

HYDRAULIC HOSE

HOSE - 2667 mm (105 inch) long (12 row wide)

2шт.

5

218-980

ELBOW,90 Degree, 9/16"-18, 37 Degree x 9/16"-18, 37 Degree Fem Sw

- 90 degree, 9/16-18 inch flare x swivel

6шт.

6

218-5243

TEE,9/16" - 18 Male JIC x 9/16" - 18 Male JIC x 9/16" - 18 Male ORB

- 9/16-18 inch flare branch x flare x adj O-ring boss

2шт.

8

1268131C2

HYDRAULIC HOSE,9.53mm ID x 5840mm L

HOSE - 5840 mm (230 inch) long

2шт.

9

218-5105

ELBOW,90 Degree Elbow, 9/16" - 18 Male JIC x 9/16" - 18 Male ORB

- 90 degree, 9/16-18 inch flare x adj O-ring boss

4шт.

11

1272396C91

VALVE

ASSEMBLY - row marker (See Page 8-121)

1шт.

12

66895C1

FITTING

UNION - 7/8-14 female flared x 7/8-14 inch male O-ring boss

1шт.

13

237-6010

O-RING,0.097" Thk x 0.755" ID, -910, Cl 6, 90 Duro

10-1, 90 Duro, .755" ID x .097" Thk

1шт.

14

1254576C2

HOSE ASSY.

HOSE - 1092 mm (43 inch) long (12 row narrow)

2шт.

14

1264172C2

HYDRAULIC HOSE,6.40 mm ID x 2665.00 mm, SAE 100R1

HOSE - 2667 mm (105 inch) long (16 row narrow)

2шт.

14

1279526C1

HYDRAULIC HOSE,6.35 mm ID x 2285.00 mm

(12 row wide) 6.35 mm ID x 2285.00 mm

2шт.

15

1263477C3

HYD CONNECTOR

ADAPTER - restrictor

2шт.

16

237-6008

O-RING,0.087" Thk x 0.644" ID, -908, Cl 6, 90 Duro

8-1, 90 Duro, .644" ID x .087" Thk

1шт.

17

1277717C1

HYDRAULIC HOSE,6.35 mm ID x 1525.00 mm

(12 row narrow) 6.35 mm ID x 1525.00 mm

2шт.

17

1277718C1

HYDRAULIC HOSE,6.35 mm ID x 3050.00 mm

(16 row narrow) 6.35 mm ID x 3050.00 mm

2шт.

17

1264172C2

HYDRAULIC HOSE,6.40 mm ID x 2665.00 mm, SAE 100R1

HOSE - 2667 mm (105 inch) long (12 row wide)

2шт.

18

218-5128

ELBOW,90° Elbow, 9/16" - 18 Male JIC x 3/4" - 16 Male ORB

- 90 degree, 9/16-18 flare x 3/4-16 inch adj O-ring boss

2шт.

19

237-6008

O-RING,0.087" Thk x 0.644" ID, -908, Cl 6, 90 Duro

8-1, 90 Duro, .644" ID x .087" Thk

1шт.

20

1272466C91

VALVE

ASSEMBLY - row marker (See Page 8-119)

2шт.

21

413-436

BOLT,Hex, 1/4" - 20 x 2-1/4", Gr 5

4шт.

22

231-5144

SERRATED NUT,Flg, USR, 1/4"-20

4шт.

23

1272402C91

CYLINDER,Double Acting, 31.7mm Rod, 203.2mm Stroke

ASSEMBLY - 64 (2-1/2) ID x 203 mm (8 inch) stroke, row marker, inner arm (See Page 8-71)

2шт.

24

129886C2

CLAMP

- hose (4 used on 12 row narrow)

6шт.

25

413-88

BOLT,Hex, 1/2" - 13 x 1/2", Gr 5

- hex, 1/2 NC x 1/2 inch

4шт.

26

413-812

BOLT,Hex, 1/2" - 13 x 3/4", Gr 5

- hex, 1/2 NC x 3/4 inch (12 row wide and 16 row narrow)

2шт.

27

64560C1

HEADED PIN

PIN - headed, 1 x 3 inch

2шт.

28

61571C2

HEADED PIN,25.4mm OD x 82.5mm L

PIN - headed, 1 x 3-1/4 inch

2шт.

29

439-11656

HEADED PIN,25.4mm OD x 88.9mm L

PIN - headed, 1 x 3-1/2 inch, grade 2

2шт.

30

439-11668

HEADED PIN,25.4mm OD x 107.95mm L

PIN - headed, 1 x 4-1/4 inch, grade 2

2шт.

31

495-81068

WASHER,1 1/32" x 1 1/2" x .030"

- flat, 1-1/32 x 1-1/2 x 1/32 inch

4шт.

32

432-1624

COTTER PIN,1/4" x 1 1/2"

Pin, Split (Cotter), 1/4" x 1-1/2"

8шт.

33

306132C1

CABLE TIE,14.5" L

STRAP - tie, 14 inch

1шт.

33

22-824

CABLE TIE,3/16" x 7 1/4"

STRAP - tie, 7 inch

1шт.

3

237-6006

O-RING,0.078" Thk x 0.468" ID, -906, Cl 6, 90 Duro

6-1, 90 Duro, .468" ID x .078" Thk

1шт.

7

237-6006

O-RING,0.078" Thk x 0.468" ID, -906, Cl 6, 90 Duro

6-1, 90 Duro, .468" ID x .078" Thk

1шт.

10

237-6006

O-RING,0.078" Thk x 0.468" ID, -906, Cl 6, 90 Duro

6-1, 90 Duro, .468" ID x .078" Thk

1шт.

Выбрано товаров: 40