Запчасти Case IH 900 (8-049C) - BLOWER PUMP HYDRAULIC SYSTEM, 1000 RPM PTO, ALL RIGID PLANTERS 8 ROW WIDE- VERTICAL FOLD (08) - HYDRAULICS

Схема запчастей Case IH 900 - (8-049C) - BLOWER PUMP HYDRAULIC SYSTEM, 1000 RPM PTO, ALL RIGID PLANTERS 8 ROW WIDE- VERTICAL FOLD (08) - HYDRAULICS
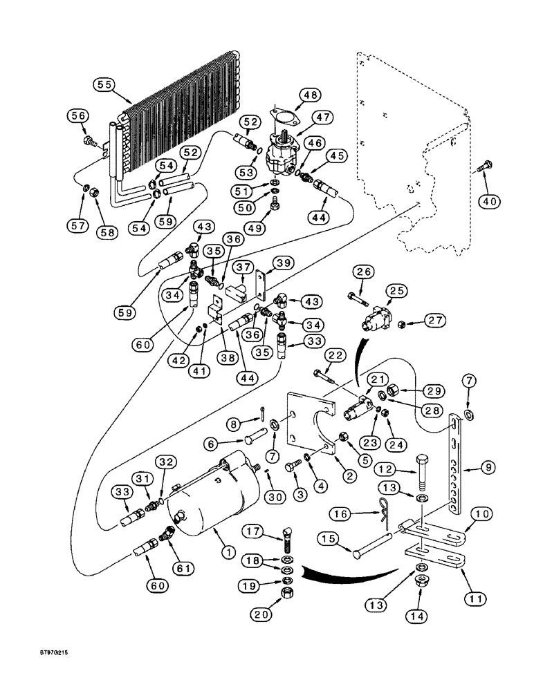
13
17
31
41
3
57
52
53
6
60
50
9
32
20
4
5
36
52
15
21
43
60
2
30
37
7
18
33
54
11
35
39
23
46
49
59
26
45
19
1
51
55
7
36
24
38
47
48
27
44
44
59
14
12
58
61
8
25
29
42
28
13
56
34
16
34
43
10
40
54
22
35
33
FIT
1:1
100%

Артикул

Название

Примечание

Количество

1

1986017C1

PUMP

ASSEMBLY - blower, hydraulic

1шт.

1

1986017C1R

REMAN-HYD PUMP

900 CASE IH PLANTER, ASSEMBLY - blower, hydraulic, 1000 RPM PTO, RIGID PLANTERS 8 ROW WIDE- VERTICAL FOLD (1/87-)

1шт.

1

1986017C1C

CORE-HYDRAULIC PUMP

Return Number

1шт.

1

1543176C1

RESERVOIR

- pump (not shown)

1шт.

1

1543174C1

FILLER CAP

CAP - filler, reservoir, reservoir (not shown)

1шт.

1

1543175C1

SEAL

- filler cap (not shown)

1шт.

1

1543177C1

ELEMENT

- filter, hydraulic oil (not shown)

1шт.

1

1543173C1

SEAL KIT

- seal, reservoir (not shown)

1шт.

1

1543172C1

SEAL KIT

- seal, complete pump, includes items from 1543173C1 (reservoir seal kit) and item 1543175C1 (filler cap seal) not shown

1шт.

1

813-8115

BOLT,Hex, M8 x 1.25 x 115mm, Cl 8.8

- hex, 8 - 1.25 x 115 mm

4шт.

2

1986192C1

PLATE

BRACKET - pump mounting

1шт.

3

413-620

BOLT,Hex, 3/8" - 16 x 1-1/4", Gr 5

- hex, 3/8 NC x 1-1/4 inch

2шт.

4

492-11038

LOCK WASHER,3/8"

2шт.

5

425-106

NUT,3/8"-16, Cl 5

2шт.

6

39-1720

HEADED PIN,7/16" x 1 1/4"

PIN - headed, 7/16 x 1-1/4 inch, grade 2

2шт.

7

495-11047

WASHER,7/16", SAE

(15/32 x 59/64 x 1/16") 7/16", SAE

4шт.

8

432-1216

COTTER PIN,3/16" x 1"

2шт.

9

56774C1

BRACKET

- adjusting, pump

1шт.

10

1254128C1

STRAP

- retaining, upper

1шт.

11

56776C1

BAR

STRAP - retaining, lower

1шт.

12

413-856

BOLT,Hex, 1/2" - 13 x 3-1/2", Gr 5

- hex, 1/2 NC x 3-1/2 inch

2шт.

13

496-21053

WASHER,17/32" x 1 1/16" x .134"

- flat, 17/32 x 1-1/16 x 1/8 inch, hardened

4шт.

14

231-5148

FLANGE NUT,Flg, USR, 1/2"-13

2шт.

15

496496R1

HEADED PIN,5/8" x 2 3/4"

PIN - clevis, 5/8 x 2-3/4 inch

1шт.

16

1970957C1

SPRING

PIN - cotter, hair, 3/16 inch, hair type

1шт.

17

1958312C1

ANCHOR

BOLT - special, 5/8 NC x 3-1/2 inch, pump retaining (alternate use for items 10 and 11, if required)

1шт.

18

396-21066

WASHER,16.66mm ID x 33.33mm OD x 4.27mm Thk

2шт.

19

492-11062

BEARING WASHER,5/8"

WASHER, LOCK, 5/8"

1шт.

20

425-1010

NUT,5/8"-11, G5

1шт.

1546919C2

COUPLING

COUPLER ASSEMBLY - pump, 1-3/8 inch spline

1шт.

21

NSS

NOT SOLD SEPARAT

COUPLER - power takeoff

1шт.

22

413-848

BOLT,Hex, 1/2" - 13 x 3", Gr 5

- hex, 1/2 NC x 3 inch

1шт.

23

80679

LOCK WASHER,1/20.507 CST ZND

WASHER, LOCK, 1/2"

1шт.

24

425-108

NUT,1/2" - 13, Gr 5

NUT, , Hex 1/2"-13, G5

1шт.

1546920C2

COUPLING

COUPLER ASSEMBLY - pump, 1-3/4 inch spline

1шт.

25

NSS

NOT SOLD SEPARAT

COUPLER - power takeoff

1шт.

26

413-856

BOLT,Hex, 1/2" - 13 x 3-1/2", Gr 5

- hex, 1/2 NC x 3-1/2 inch

2шт.

27

131-492

NUT,1/2"-13

NUT - heavy hex, self-locking, 1/2 inch NC, self-locking

2шт.

28

80679

LOCK WASHER,1/20.507 CST ZND

WASHER, LOCK, 1/2"

1шт.

29

425-108

NUT,1/2" - 13, Gr 5

NUT, , Hex 1/2"-13, G5

1шт.

30

126-113

WOODRUFF KEY,#61, 3/16" x 5/8", HT

1шт.

31

218-5060

HYD CONNECTOR,3/4" - 16 Male JIC x 7/8" - 14 Male ORB

Adapter, straight, O-ring boss 3/4"-16, 37º x 7/8"-14, O-Ring

1шт.

32

237-6010

O-RING,0.097" Thk x 0.755" ID, -910, Cl 6, 90 Duro

10-1, 90 Duro, .755" ID x .097" Thk

1шт.

33

91205C1

HYDRAULIC HOSE,12.70 mm ID x 5335.00 mm, SAE 100R1

Supply 12.70 mm ID x 5335.00 mm, SAE 100R1

1шт.

34

218-840

TEE,37 Degree, 3/4"-16 x 3/4"-16, Fem Sw Br

- 3/4-16 inch swivel branch x flare x flare

2шт.

35

218-5351

HYD CONNECTOR,3/4"-16, 37 Degree x 9/16"-18, O-Ring

ADAPTER - straight, 3/4-16 flare x 9/16-18 inch O-ring boss

2шт.

37

1985946C1

VALVE

- flow control

1шт.

38

1985945C1

BRACKET

- valve mounting

1шт.

39

1986189C1

STRAP

PLATE - valve mounting

1шт.

40

434-616

CARRIAGE BOLT,Sht Sq Nk, 3/8" - 16 x 1", Gr 5

BOLT - carriage, 3/8 NC x 1 inch

2шт.

41

492-11038

LOCK WASHER,3/8"

2шт.

42

425-106

NUT,3/8"-16, Cl 5

2шт.

43

218-5230

ELBOW,90 Degree, 3/4"-16, 37 Degree x 3/4"-16, 37 Degree Fem Sw

- 90 degree, 3/4-16 inch flare x swivel

2шт.

44

90877C1

HYDRAULIC HOSE

HOSE - 1524 mm (60 inch) long, Serial Range: supply-pump

1шт.

45

218-5059

HYD CONNECTOR,3/4"-16, 37 Degree x 3/4"-16, O-Ring

ADAPTER - straight, 3/4-16 inch flare x O-ring boss

1шт.

46

237-6008

O-RING,0.087" Thk x 0.644" ID, -908, Cl 6, 90 Duro

8-1, 90 Duro, .644" ID x .087" Thk

1шт.

47

1272056C92

HYDRAULIC MOTOR,7.05 CC

MOTOR ASSEMBLY - blower, seed module (Parts list page 8-125)

1шт.

47

1272056C92R

REMAN-HYD MOTOR

900 - CASE IH PLANTER, N.A. Only

1шт.

47

1272056C92C

CORE-HYDRAULIC PUMP

Return Number, For N.A. Only

1шт.

48

1985956C1

GASKET

- motor, blower

1шт.

49

413-616

BOLT,Hex, 3/8" - 16 x 1", Gr 5

- hex, 3/8 NC x 1 inch

2шт.

50

492-11038

LOCK WASHER,3/8"

2шт.

51

495-21044

WASHER,3/8"

(flat, 7/16 x 1 x 5/64 inch) 3/8"

2шт.

52

90698C1

HOSE,12.70 mm ID x 13208.00 mm, SAE 30 R2 OR SAE 100R6

Return , Blower Motor To Cooler 12.70 mm ID x 13208.00 mm, SAE 30 R2 OR SAE 100R6

1шт.

53

237-6010

O-RING,0.097" Thk x 0.755" ID, -910, Cl 6, 90 Duro

10-1, 90 Duro, .755" ID x .097" Thk

1шт.

54

214-1406

HOSE CLAMP,#06, 0.44" - 0.78", Type F Worm

CLAMP, HOSE, , Adj. #06, .44/.78 Type F Worm

2шт.

55

1265677C1

OIL COOLER

COOLER - oil

1шт.

56

413-616

BOLT,Hex, 3/8" - 16 x 1", Gr 5

- hex, 3/8 NC x 1 inch

2шт.

57

492-11038

LOCK WASHER,3/8"

2шт.

58

425-106

NUT,3/8"-16, Cl 5

2шт.

59

1985947C1

HOSE,12.70 mm ID x 1905.00 mm, SAE 30R2 Type 3 (or) SAE 100R6, SAE J517

RADIATOR HOSE, , Return from Oil Cooler 12.70 mm ID x 1905.00 mm, SAE 30R2 Type 3 (or) SAE 100R6, SAE J517

1шт.

60

91241C1

HYDRAULIC HOSE,12.70 mm ID x 5080.00 mm, SAE 100R1

Return to Pump Reservoir 12.70 mm ID x 5080.00 mm, SAE 100R1

1шт.

61

218-5230

ELBOW,90 Degree, 3/4"-16, 37 Degree x 3/4"-16, 37 Degree Fem Sw

- 90 degree, 3/4-16 inch flare x swivel

1шт.

36

237-6006

O-RING,0.078" Thk x 0.468" ID, -906, Cl 6, 90 Duro

6-1, 90 Duro, .468" ID x .078" Thk

1шт.

Выбрано товаров: 74