Запчасти Case IH 900 (8-068) - ROW MARKER HYDRAULIC CYLINDER, CYCLO AIR & PLATE PLANTERS, ALL EXCEPT 6 ROW NARROW & 4 ROW (08) - HYDRAULICS

Схема запчастей Case IH 900 - (8-068) - ROW MARKER HYDRAULIC CYLINDER, CYCLO AIR & PLATE PLANTERS, ALL EXCEPT 6 ROW NARROW & 4 ROW (08) - HYDRAULICS
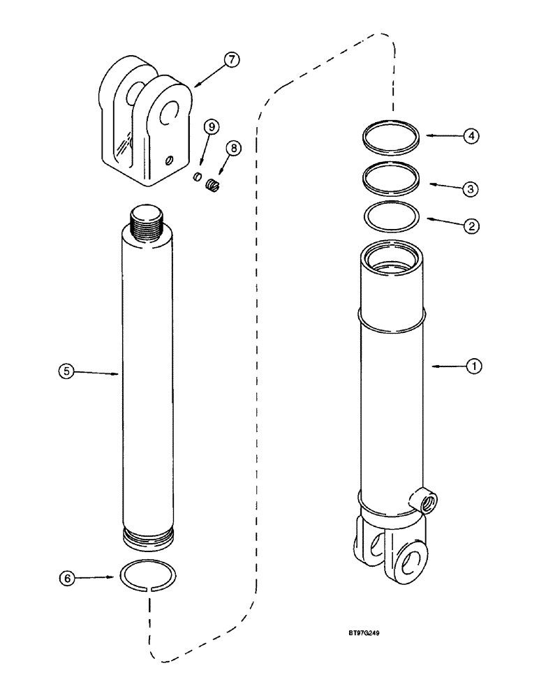
1
3
7
5
9
6
4
8
2
FIT
1:1
100%

Артикул

Название

Примечание

Количество

1345980C1

HYDRAULIC CYLINDER

CYLINDER ASSEMBLY - 51 (2) ID x 203 mm (8 inch) stroke, marker lift, see note

1шт.

Part number stamped on part.

1шт.

1

145621C1

HYD TUBE

TUBE - cylinder

1шт.

2

238-6329

O-RING,0.21" Thk x 1.975" ID, -329, Cl 6, 90 Duro

- 2 ID x 3/16 inch wide

1шт.

Part of seal kit P/N 145682C1

1шт.

3

NSS

NOT SOLD SEPARAT

WIPER - rod

1шт.

Part of seal kit P/N 145682C1

1шт.

4

NSS

NOT SOLD SEPARAT

WASHER - back up

1шт.

Part of seal kit P/N 145682C1

1шт.

5

1343689C1

PISTON ROD

ROD - cylinder

1шт.

6

NSS

NOT SOLD SEPARAT

RING - retaining, rod

1шт.

Part of seal kit P/N 145682C1

1шт.

7

145233C1

CLEVIS,1/4" - 12

- rod end

1шт.

8

483-1386

SET SCREW,Hex Soc, 3/8"-16 x 3/8"

SCREW - set, hex socket headless, 3/8 NC x 3/8 inch, cup point

1шт.

9

145453C1

PLUG,Lock, 7.938mm Dia x 3.175mm Thk, Nylon

PAD - insert, rod clevis

1шт.

145682C1

SEALING RING

KIT - seal, Includes: Ref. 2, 3, 4 and 6

1шт.

Выбрано товаров: 16