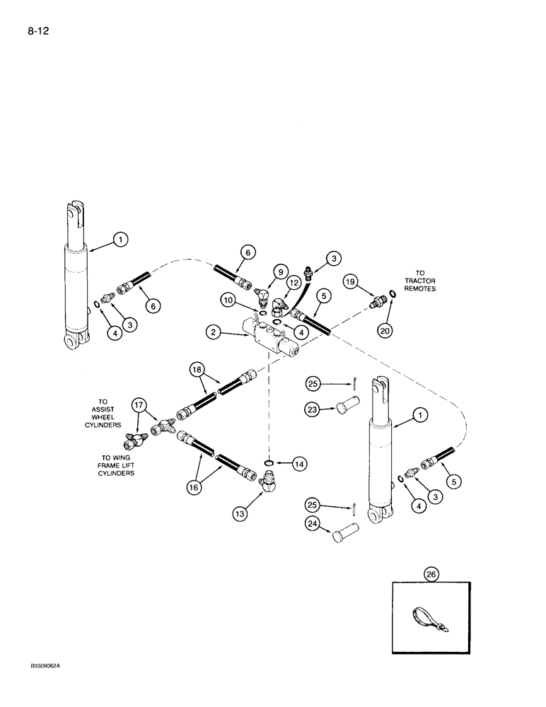
Запчасти Case IH 950 (8-12) - ROW MARKER HYDRAULIC SYSTEM, 8 ROW WIDE AND 12 ROW NARROW, VERTICAL FOLD (08) - HYDRAULICS

Схема запчастей Case IH 950 - (8-12) - ROW MARKER HYDRAULIC SYSTEM, 8 ROW WIDE AND 12 ROW NARROW, VERTICAL FOLD (08) - HYDRAULICS
25
5
6
3
18
3
20
1
2
4
25
12
4
3
16
5
24
9
26
13
6
19
4
14
23
10
1
17
FIT
1:1
100%

Артикул

Название

Примечание

Количество

1

REF

INSTRUCTION

CYLINDER ASSEMBLY - marker (See Pages 8-23 and 8-25)

2шт.

2

REF

INSTRUCTION

VALVE ASSEMBLY - marker (See Page 8-35)

1шт.

3

218-5057

HYD CONNECTOR,9/16" - 18 JIC x 9/16" - 18 ORB

ADAPTER - straight, 9/16-18 inch flare x O-ring boss

3шт.

5

1261401C1

HOSE,6.40 mm ID x 5200.00 mm, SAE 100R1

1шт.

6

1261399C1

HYDRAULIC HOSE,6.35mm ID x 4570mm L

HOSE - 180 inch long (8 row wide)

1шт.

6

1261441C1

HYDRAULIC HOSE

HOSE - 230 inch long (12 row narrow)

1шт.

9

218-5105

ELBOW,90 Degree Elbow, 9/16" - 18 Male JIC x 9/16" - 18 Male ORB

- 90 degree adjustable, 9/16-18 flared x 9/16-18 inch O-ring boss

2шт.

12

218-980

ELBOW,90 Degree, 9/16"-18, 37 Degree x 9/16"-18, 37 Degree Fem Sw

- 90 degree, 9/16-18 flare x swivel flare

1шт.

13

218-5121

ELBOW,90 Degree Elbow, 3/4" - 16 Male JIC x 7/8" - 14 Male ORB

- 90 degree adjustable, 3/4-16 flared x 7/8-14 inch O-ring boss

1шт.

14

237-6010

O-RING,0.097" Thk x 0.755" ID, -910, Cl 6, 90 Duro

10-1, 90 Duro, .755" ID x .097" Thk

1шт.

16

90875C1

HYDRAULIC HOSE

HOSE - 29 inch long

1шт.

17

218-845

TEE,37 Degree, 3/4"-16 x 3/4"-16, Fem Sw Run

- swivel, 3/4-16 inch flared

1шт.

18

90877C1

HYDRAULIC HOSE

HOSE - 60 inch long

1шт.

19

218-5059

HYD CONNECTOR,3/4"-16, 37 Degree x 3/4"-16, O-Ring

ADAPTER - straight, 3/4-16 inch flare x O-ring boss

1шт.

20

237-6008

O-RING,0.087" Thk x 0.644" ID, -908, Cl 6, 90 Duro

8-1, 90 Duro, .644" ID x .087" Thk

1шт.

23

61571C2

HEADED PIN,25.4mm OD x 82.5mm L

PIN - headed, 1 x 3-1/4 inch

2шт.

24

439-11648

HEADED PIN,1" x 3", G2

PIN - headed, 1 x 3 inch

2шт.

25

432-1624

COTTER PIN,1/4" x 1 1/2"

Pin, Split (Cotter), 1/4" x 1-1/2"

4шт.

26

306132C1

CABLE TIE,14.5" L

STRAP - tie 14 in

1шт.

4

237-6006

O-RING,0.078" Thk x 0.468" ID, -906, Cl 6, 90 Duro

6-1, 90 Duro, .468" ID x .078" Thk

1шт.

10

237-6006

O-RING,0.078" Thk x 0.468" ID, -906, Cl 6, 90 Duro

6-1, 90 Duro, .468" ID x .078" Thk

1шт.

Выбрано товаров: 21