Запчасти Case IH 950 (9D-22) - WING FURROWING ATTACHMENT (09) - CHASSIS/ATTACHMENTS

Схема запчастей Case IH 950 - (9D-22) - WING FURROWING ATTACHMENT (09) - CHASSIS/ATTACHMENTS
7
5
15
12
11
6
10
9
14
2
3
16
1
4
13
8
FIT
1:1
100%

Артикул

Название

Примечание

Количество

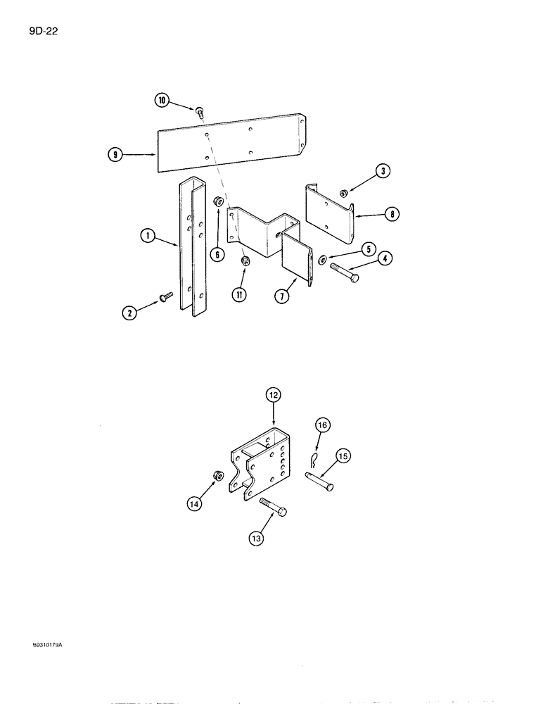
1

141232C2

CHANNEL

BRACKET - furrowing channel

1шт.

2

477-73816

SERRATED SCREW,Sl Truss Hd, 3/8" x 1"

BOLT - truss head slotted, 3/8 NC x 1 inch

2шт.

3

231-5146

FLANGE NUT,3/8"-16

2шт.

4

413-848

BOLT,Hex, 1/2" - 13 x 3", Gr 5

- hex, 1/2 NC x 3 inch

1шт.

5

495-81021

WASHER,17/32" x 1" x .120"

- flat, 17/32 x 1 x 7/64 inch

2шт.

6

232-5318

FLANGE NUT,Flg, 1/2"-13

NUT - hex flange lock, 1/2 inch NC

1шт.

7

141231C1

SUPPORT

- furrowing, rear

1шт.

8

141230C1

SUPPORT

- furrowing, front

1шт.

9

141229C1

BLADE

- furrowing

2шт.

10

477-73812

SERRATED SCREW,Truss HD, 3/8" - 16 x 3/4"

BOLT - truss head slotted, 3/8 NC x 3/4 inch

10шт.

11

231-5146

FLANGE NUT,3/8"-16

10шт.

12

90974C1

BRACKET

- socket TILLAGE SUPPORT ATTACHMENT

1шт.

13

413-848

BOLT,Hex, 1/2" - 13 x 3", Gr 5

- hex, 1/2 NC x 3 inch TILLAGE SUPPORT ATTACHMENT

2шт.

14

231-5146

FLANGE NUT,3/8"-16

Tillage Support Attachment Flg, USR, 3/8"-16

2шт.

15

147404C1

PIN,12.7mm OD x 83mm L

- clevis TILLAGE SUPPORT ATTACHMENT

1шт.

16

486830R1

COTTER PIN

PIN - cotter, hair TILLAGE SUPPORT ATTACHMENT

1шт.

Выбрано товаров: 16