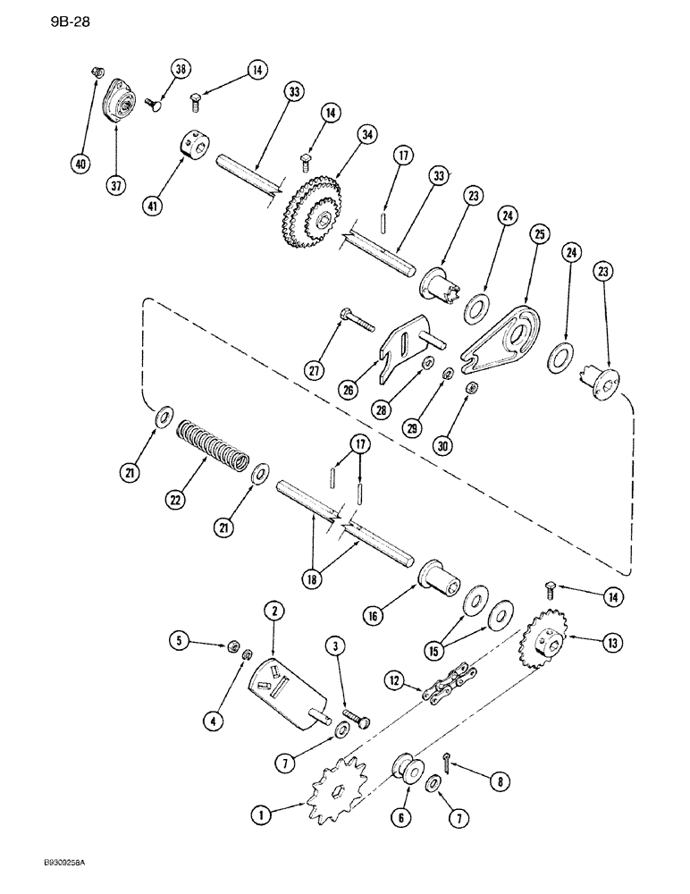
Запчасти Case IH 950 (9B-28) - PRIMARY FERTILIZER DRIVE, DRY AND LIQUID, 4 ROW NARROW, RIGID, 4 ROW WIDE, RIGID (09) - CHASSIS/ATTACHMENTS

Схема запчастей Case IH 950 - (9B-28) - PRIMARY FERTILIZER DRIVE, DRY AND LIQUID, 4 ROW NARROW, RIGID, 4 ROW WIDE, RIGID (09) - CHASSIS/ATTACHMENTS
6
26
33
16
41
8
3
33
23
12
17
5
38
28
14
14
21
29
21
40
24
18
17
4
34
25
24
37
13
7
14
23
7
15
27
1
22
2
30
FIT
1:1
100%

Артикул

Название

Примечание

Количество

1

1277737C1

SPROCKET

- wheel 12 tooth

1шт.

2

96140C2

LARGE PLATE

PLATE - drive wheel idler

1шт.

3

433-828

CARRIAGE BOLT,Sq Nk, 1/2" - 13 x 1 3/4", Gr 5

BOLT - round head square neck 1/2 NC x 1-3/4 inch

2шт.

4

192-23

LOCK WASHER,1/2"

WASHER, LOCK, 1/2"

2шт.

5

425-108

NUT,1/2" - 13, Gr 5

NUT, , Hex 1/2"-13, G5

2шт.

6

1277726C1

ROLLER,48mm OD x 34mm L

- idler

1шт.

7

495-81178

WASHER,21/32" x 1 1/8" x .048"

- flat, 21/32 x 1-1/8 x 3/64 inch

1шт.

8

432-1216

COTTER PIN,3/16" x 1"

1шт.

12

1277740C91

CHAIN (AG)

CHAIN ASSEMBLY - wheel drive (Use 55 links from bulk chain 569089R91, and 1 connecting link 1277928C91)

1шт.

569089R91

CHAIN (AG),10' L, 1.0" Pitch

CHAIN - 10 foot roll

1шт.

1277928C91

LINK

- chain, connecting

1шт.

13

1277743C1

DRIVING SPROCKET

SPROCKET - 23 tooth

1шт.

14

28066R1

SET SCREW,Hex Soc, 1/2"-13 x 3/4"

SCREW - set square head, 1/2 NC x 3/4 inch

6шт.

15

495-2106

WASHER - flat, 1-1/16 x 2-1/2 x 9/64 inch

2шт.

16

90335C2

BUSHING

- drive shaft

1шт.

17

19795R1

PIN,1/4" x 1 3/4", Coiled

3шт.

18

90394C1

SHAFT

BAR - drive, hex, 7/8 x 14-11/64 inch

1шт.

21

495-81074

WASHER,1 1/32" x 1 3/4" x .120"

- flat, 1-1/32 x 1-3/4 x 7/64"

2шт.

22

1264302C1

SPRING

- clutch

1шт.

23

1264314C1

CLUTCH

- right driver

2шт.

24

1267994C1

WASHER

- flat, 1-21/32 x 2-1/4 x 7/64 inch

2шт.

25

90344C1

PLATE

- clutch throwout

1шт.

26

91245C1

SUPPORT

THROWOUT - clutch

1шт.

27

413-1040

BOLT,Hex, 5/8" - 11 x 2-1/2", Gr 5

- hex, 5/8 NC x 2-1/2 inch

1шт.

28

396-21066

WASHER,16.66mm ID x 33.33mm OD x 4.27mm Thk

1шт.

29

492-11062

BEARING WASHER,5/8"

WASHER, LOCK, 5/8"

1шт.

30

425-1010

NUT,5/8"-11, G5

1шт.

33

90560C1

SHAFT

BAR - drive, hex, 7/8 x 53-35/64 inch (4 row narrow)

1шт.

33

90559C1

SHAFT

BAR - drive, hex, 7/8 x 31-1/2 inch (4 row wide)

1шт.

34

141063C2

SPROCKET

- triple, dry fertilizer drive 20, 34 and 36 tooth (Shown)

1шт.

34

1254152C2

SPROCKET

- liquid fertilizer drive, 30 tooth

1шт.

37

134158C91

FLANGED BEARING

- ball

1шт.

38

598804R1

CARRIAGE BOLT,Sht Sq Nk, 5/16" - 18 x 1 1/4", Gr 5

BOLT - round head square neck, 5/16 NC x 1-1/4 inch

2шт.

40

231-5145

SERRATED NUT,Flg, USR, 5/16"-18

NUT - hex flange lock, 5/16 inch NC

2шт.

41

141572C2

COLLAR

HUB - sprocket

1шт.

Выбрано товаров: 0