Запчасти Case IH 950 (9B-60) - SECONDARY FERTILIZER DRIVE, DRY, 6 ROW WIDE, RIGID (09) - CHASSIS/ATTACHMENTS

Схема запчастей Case IH 950 - (9B-60) - SECONDARY FERTILIZER DRIVE, DRY, 6 ROW WIDE, RIGID (09) - CHASSIS/ATTACHMENTS
3
4
7
6
20
16
16
6
18
17
1
5
3
12
2
4
15
8
18
8
15
7
2
5
2
11
19
10
9
17
13
14
FIT
1:1
100%

Артикул

Название

Примечание

Количество

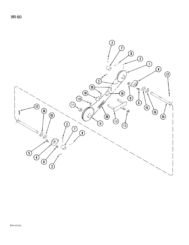
1

1267911C1

SPROCKET

- triple, 16, 24 and 30 tooth

1шт.

1

1264352C1

SPROCKET ASSY.

SPROCKET - triple, 20, 34 and 36 tooth, not shown

1шт.

2

439-1432

HEADED PIN,1/4" x 2", G2

PIN - headed, 1/4 x 2 inch

3шт.

3

136-159

HAIR PIN COTTER,Int, 3/16 x .080"

PIN, SPLIT (COTTER), Int, 3/16 x .080"

3шт.

4

134158C91

FLANGED BEARING

- ball

2шт.

5

412-512

CARRIAGE BOLT,Short Sq Nk, 5/16" - 18 x 3/4", Gr 2

BOLT - carriage, 5/16 NC x 3/4 inch, grade 2

4шт.

6

231-5145

SERRATED NUT,Flg, USR, 5/16"-18

NUT - hex serrated flange, 5/16 inch NC

4шт.

7

1279571C1

COUPLING

SPACER - coupling drive

2шт.

8

454894R1

LOCK PIN,7/32" x 1 3/4", Slotted

Pin, 7/32" x 1 3/4", Slotted

2шт.

9

141063C2

SPROCKET

- driver, 20, 34 and 36 tooth

1шт.

10

485-15012

SET SCREW,Sq Hd, 1/2"-13 x 3/4"

SCREW - set, square, cup point, 1/2 NC x 3/4 inch

2шт.

11

144812C1

SPACER

- bearing

1шт.

12

141074C2

ARM

- chain tightener

1шт.

13

425-108

NUT,1/2" - 13, Gr 5

NUT, , Hex 1/2"-13, G5

1шт.

14

1279881C1

SHAFT

- fertilizer drive

1шт.

15

495-81074

WASHER,1 1/32" x 1 3/4" x .120"

- flat, 1-1/32 x 1-3/4 x 7/64"

2шт.

16

495-81073

WASHER,1-1/32" x 1-3/4" x .060" Thk

- flat, 1-1/32 x 1-3/4 x 3/64 inch

4шт.

17

432-1624

COTTER PIN,1/4" x 1 1/2"

Pin, Split (Cotter), 1/4" x 1-1/2"

2шт.

18

472344R3

SPROCKET

- idler

2шт.

19

432-1216

COTTER PIN,3/16" x 1"

2шт.

20

137465C92

CHAIN (AG)

CHAIN ASSEMBLY - drive, not available for service, use 57 links from bulk chain 569088R91 and one connecting link 1277927C91, see below

1шт.

569088R91

CHAIN (AG)

CHAIN - bulk, 10 foot roll, use to make item 20

1шт.

1277927C91

LINK

- connecting, chain, use to make item 20

1шт.

Выбрано товаров: 0