Запчасти Case IH 950 (8-034) - ROW MARKER HYDRAULIC SYSTEM, 8 ROW WIDE AND 12 ROW NARROW, VERTICAL FOLD (08) - HYDRAULICS

Схема запчастей Case IH 950 - (8-034) - ROW MARKER HYDRAULIC SYSTEM, 8 ROW WIDE AND 12 ROW NARROW, VERTICAL FOLD (08) - HYDRAULICS
14
15
10
16
16
17
11
12
7
4
11
9
5
13
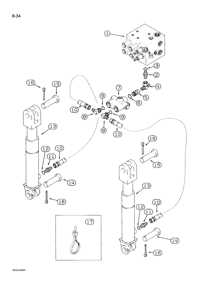
1
3
10
16
8
15
14
9
16
13
2
12
10
8
10
6
FIT
1:1
100%

Артикул

Название

Примечание

Количество

1

138295A1

VALVE

ASSEMBLY - planter control, parts list page 8-133

1шт.

2

218-5070

HYD CONNECTOR,3/4" - 16 Male JIC x 1-1/16" - 12 Male ORB

ADAPTER - straight, 3/4-16 flare x 1-1/16-12 inch O-ring (Port "R1" of control valve)

1шт.

3

237-6012

O-RING,0.116" Thk x 0.924" ID, -912, Cl 6, 90 Duro

12-1, 90 Duro, .924 ID x .116" Thk

1шт.

4

218-840

TEE,37 Degree, 3/4"-16 x 3/4"-16, Fem Sw Br

- 3/4-16 inch swivel straight thread branch x flare

1шт.

5

118694A1

CONNECTOR, ELEC

CONNECTOR - straight, special

1шт.

6

237-6008

O-RING,0.087" Thk x 0.644" ID, -908, Cl 6, 90 Duro

8-1, 90 Duro, .644" ID x .087" Thk

1шт.

7

93006C1

HYDRAULIC VALVE

VALVE ASSEMBLY - sequencing, row marker (Parts list page 8-107)

1шт.

8

218-5128

ELBOW,90° Elbow, 9/16" - 18 Male JIC x 3/4" - 16 Male ORB

- 90 degree, 9/16-18 flare x 3/4-16 inch adj O-ring

2шт.

9

237-6008

O-RING,0.087" Thk x 0.644" ID, -908, Cl 6, 90 Duro

8-1, 90 Duro, .644" ID x .087" Thk

1шт.

10

1264171C1

HYDRAULIC HOSE,6.40 mm ID x 5590.00 mm, SAE 100R1

HOSE - 5460 mm long, valve to row marker cylinder (12 row narrow planter)

2шт.

10

1261399C1

HYDRAULIC HOSE,6.35mm ID x 4570mm L

HOSE - 4570 mm long, valve to row marker cylinder (8 row wide planter)

2шт.

11

218-5057

HYD CONNECTOR,9/16" - 18 JIC x 9/16" - 18 ORB

ADAPTER - straight, 9/16-18 inch flare x O-ring boss

2шт.

13

1345980C1

HYDRAULIC CYLINDER

CYLINDER ASSEMBLY - 2 ID x 8 inch stroke, row marker lift (Parts list page 8-73)

2шт.

13

841038C91

CYLINDER ASSY.

CYLINDER ASSEMBLY - 2 ID x 8 inch stroke, row marker lift, alternate part (Parts list page 8-71)

2шт.

14

439-11648

HEADED PIN,1" x 3", G2

PIN - clevis, 1 x 3 inch

2шт.

15

61571C2

HEADED PIN,25.4mm OD x 82.5mm L

PIN - clevis, 1 x 3-1/4 inch

2шт.

16

432-1624

COTTER PIN,1/4" x 1 1/2"

Pin, Split (Cotter), 1/4" x 1-1/2"

4шт.

17

L18337

CABLE TIE,9.95"-12.1" lg

STRAP - tie, 15 inch, nylon

1шт.

12

237-6006

O-RING,0.078" Thk x 0.468" ID, -906, Cl 6, 90 Duro

6-1, 90 Duro, .468" ID x .078" Thk

1шт.

Выбрано товаров: 19