Запчасти Case IH 950 (8-048) - CARRYING WHEEL HYDRAULIC CIRCUIT, 16 ROW NARROW, FRONT FOLD (08) - HYDRAULICS

Схема запчастей Case IH 950 - (8-048) - CARRYING WHEEL HYDRAULIC CIRCUIT, 16 ROW NARROW, FRONT FOLD (08) - HYDRAULICS
21
14
8
19
15
10
22
4
16
8
3
1
22
15
2
20
19
16
3
25
28
19
6
23
5
27
12
4
20
27
14
10
29
3
14
16
7
13
18
21
25
21
12
13
9
11
5
13
26
17
14
4
15
27
9
28
3
13
18
26
11
13
14
7
24
17
2
20
2
2
FIT
1:1
100%

Артикул

Название

Примечание

Количество

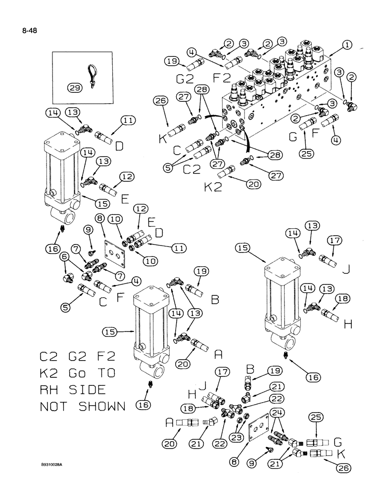
1

117311A2

VALVE

ASSEMBLY - control, parts list page 8-129

1шт.

2

218-5280

ELBOW,90 Degree, 3/4"-16, 37 Degree x 9/16"-18, O-Ring

- 90 degree, 3/4-16 flare x 9/16-18 inch adj O-ring

4шт.

4

118813A1

HOSE

- 1/2 ID x 245 inch, valve to outer cylinders, closed end

2шт.

5

1978105C1

HYDRAULIC HOSE

HOSE - 1/2 ID x 225 inch, valve to outer cylinders, rod end

2шт.

6

218-5230

ELBOW,90 Degree, 3/4"-16, 37 Degree x 3/4"-16, 37 Degree Fem Sw

- 90 degree, 3/4-16 inch flare x swivel flare

4шт.

7

218-674

FITTING,Blkhd, 3/4"-16, 37 Degree x 3/4"-16, 37 Degree

ADAPTER - straight, 3/4-16 inch flare x bulkhead flare

4шт.

8

133467A1

PLATE

- hose mounting

4шт.

9

276-14812

SELF-TAP SCREW,Hex Wash Hd, 5/16" x 3/4"

SCREW - self-tapping, hex head, 5/16 NC x 3/4 inch

8шт.

10

218-1255

BHD LOCK NUT,Blkhd, 3/4"-16

NUT, LOCK, Blkhd, 3/4"-16

4шт.

11

91201C1

HYDRAULIC HOSE,12.70 mm ID x 585.00 mm, SAE 100R1

Cylinder, Closed End 12.70 mm ID x 585.00 mm, SAE 100R1

2шт.

12

1336924C1

HYDRAULIC HOSE

HOSE - 1/2 ID x 24 inch, cylinder, rod end

2шт.

13

218-5106

90 ELBOW,90 Degree Elbow, 3/4" - 16 Male JIC x 3/4" - 16 Male ORB

- 90 degree, 3/4-16 inch flare x adj O-ring boss

12шт.

14

237-6008

O-RING,0.087" Thk x 0.644" ID, -908, Cl 6, 90 Duro

8-1, 90 Duro, .644" ID x .087" Thk

1шт.

15

113820A1

CYLINDER,Double Acting, 31.75mm Rod, 158.75mm Stroke

ASSEMBLY - 3-1/4 ID x 6-1/4 inch stroke, parts list page 8-87

6шт.

16

219-93

LUBE NIPPLE,90 Degree Elbow, 1/4" - 28 NPTF

6шт.

17

91201C1

HYDRAULIC HOSE,12.70 mm ID x 585.00 mm, SAE 100R1

Cylinder, Closed End 12.70 mm ID x 585.00 mm, SAE 100R1

2шт.

18

1336924C1

HYDRAULIC HOSE

HOSE - 1/2 ID x 27 inch long, cylinder, rod end

2шт.

19

390649R92

HYDRAULIC HOSE

HOSE - 1/2 ID x 19 inch, cylinder, closed end

2шт.

20

90880C1

HYDRAULIC HOSE,12.70 mm ID x 635.00 mm, SAE 100 R17

Cylinder, Rod End 12.70 mm ID x 635.00 mm, SAE 100 R17

2шт.

21

218-5173

ELBOW,45 Degree Elbow, 3/4" - 16 Male JIC x 3/4" - 16 Female JIC

- 45 deg, 3/4-16 inch flare x swivel straight thread

8шт.

22

218-845

TEE,37 Degree, 3/4"-16 x 3/4"-16, Fem Sw Run

- 3/4-16 inch flare branch x flare x adj straight thread

4шт.

23

218-1255

BHD LOCK NUT,Blkhd, 3/4"-16

NUT, LOCK, Blkhd, 3/4"-16

4шт.

24

218-674

FITTING,Blkhd, 3/4"-16, 37 Degree x 3/4"-16, 37 Degree

ADAPTER - straight, 3/4-16 inch flare x bulkhead flare

4шт.

25

90879C1

HYDRAULIC HOSE,12.70 mm ID x 2030.00 mm, SAE 100R1

Valve to Inner Cylinder, Closed End 12.70 mm ID x 2030.00 mm, SAE 100R1

2шт.

26

168132C2

HYDRAULIC HOSE,12.70 mm ID x 1650.00 mm

- Valve to inner cylinders, Rod end 12.70 mm ID x 1650.00 mm

2шт.

27

218-5351

HYD CONNECTOR,3/4"-16, 37 Degree x 9/16"-18, O-Ring

ADAPTER - straight, 3/4-16 flare x 9/16-18 O-ring boss

4шт.

29

306132C1

CABLE TIE,14.5" L

STRAP - tie, nylon, 14 inch

1шт.

3

237-6006

O-RING,0.078" Thk x 0.468" ID, -906, Cl 6, 90 Duro

6-1, 90 Duro, .468" ID x .078" Thk

1шт.

28

237-6006

O-RING,0.078" Thk x 0.468" ID, -906, Cl 6, 90 Duro

6-1, 90 Duro, .468" ID x .078" Thk

1шт.

Выбрано товаров: 29