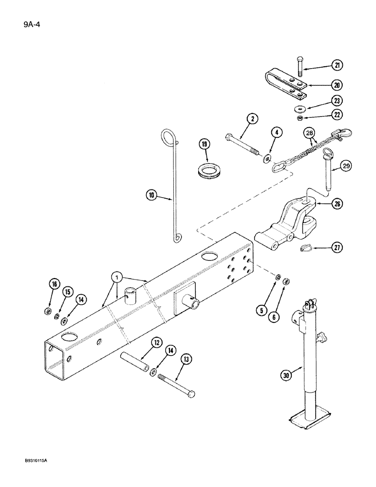
Запчасти Case IH 950 (9A-04) - RIGID HITCH, 4 AND 6 ROW NARROW, RIGID, 4 ROW WIDE, RIGID (09) - CHASSIS/ATTACHMENTS

Схема запчастей Case IH 950 - (9A-04) - RIGID HITCH, 4 AND 6 ROW NARROW, RIGID, 4 ROW WIDE, RIGID (09) - CHASSIS/ATTACHMENTS
15
29
30
5
28
4
1
13
19
20
10
26
6
21
23
27
2
12
16
14
22
14
FIT
1:1
100%

Артикул

Название

Примечание

Количество

1

96208C1

TOW BAR

TONGUE ASSEMBLY - hitch, with decals

1шт.

1254170C1

DECAL

- Caution, read the operator's manual, not shown, see page 9F-85, item 5

1шт.

1254234C1

PRODUCT GRAPHIC,Caution To Prevent Personal Injury

DECAL - Caution, prevent personal injury, not shown, see page 9F-85, item 6

1шт.

1277910C1

PRODUCT GRAPHIC,Caution Always Use 7/8 in Hitch Pin

DECAL - Caution, always use hitch pin, not shown, see page 9F-85, item 7

1шт.

2

413-12104

BOLT,Hex, 3/4" - 10 x 6-1/2", Gr 5

- hex, 3/4 NC x 6-1/2 inch

1шт.

2

413-12112

BOLT,Hex, 3/4" - 10 x 7", Gr 5

- hex, 3/4 NC x 7 inch

1шт.

4

495-11081

WASHER,3/4", SAE

1шт.

5

492-11075

LOCK WASHER,3/4"

3/4"

2шт.

6

425-1012

NUT,3/4"-10, G5

2шт.

10

1279237C1

SUPPORT

ROD - support hose

1шт.

12

1250748C2

SPACER

- tongue

2шт.

13

413-12128

BOLT,Hex, 3/4" - 10 x 8", Gr 5

- hex, 3/4 NC x 8 inch

2шт.

14

495-81255

WASHER,0.78" ID x 1.5" OD x 0.18" Thk

- flat, 25/32 x 1-1/2 x 5/32 inch

4шт.

15

492-11075

LOCK WASHER,3/4"

3/4"

2шт.

16

425-1012

NUT,3/4"-10, G5

2шт.

19

96088C1

SEAL

TRIM - tongue

2шт.

20

148558C1

CLEVIS

- chain

1шт.

21

413-1056

BOLT,Hex, 5/8" - 11 x 3-1/2", Gr 5

1шт.

22

231-14110

LOCK NUT,5/8"-11, GB

NUT - hex, self-locking, 5/8 inch NC

1шт.

23

495-81047

WASHER,25/32" x 2" x .179"

- flat, 25/32 x 2 x 5/32 inch

1шт.

26

1279040C1

CLEVIS

- hitch

1шт.

27

A30338

PIN

- snap lock 1/4 inch diameter

1шт.

1337592C1

CHAIN (AG)

CHAIN ASSEMBLY - hitch

1шт.

28

100682C3

CHAIN (AG)

CHAIN - hitch

1шт.

29

NSS

NOT SOLD SEPARAT

PIN - retaining

1шт.

30

1333730C1

JACK

- hitch

1шт.

Выбрано товаров: 26