Запчасти Case IH 955 (9D-28) - SPRING TOOTH INCORPORATOR (09) - CHASSIS/ATTACHMENTS

Схема запчастей Case IH 955 - (9D-28) - SPRING TOOTH INCORPORATOR (09) - CHASSIS/ATTACHMENTS
6
25
23
4
17
12
7
28
18
20
13
21
24
5
3
26
19
1
11
2
14
27
15
22
FIT
1:1
100%

Артикул

Название

Примечание

Количество

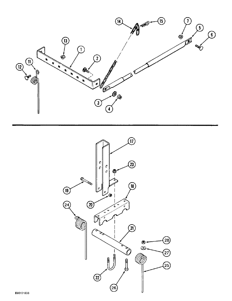
1

1263671C1

CHANNEL

BRACKET - support, rear

1шт.

2

412-616

CARRIAGE BOLT,Short Sq Nk, 3/8" - 16 x 1", Gr 2

BOLT - carriage, 3/8 NC x 1 inch, grade 2

1шт.

3

493-11039

LOCK WASHER,3/8", Int-Ext Tooth

WASHER - internal-external tooth lock, 3/8 inch

2шт.

4

231-5146

FLANGE NUT,3/8"-16

2шт.

5

1279951C1

CABLE

- spring tooth

2шт.

6

434-624

CARRIAGE BOLT,Sht Sq Nk, 3/8" - 16 x 1 1/2", Gr 5

BOLT - carriage, 3/8 NC x 1-1/2 inch

2шт.

7

231-5146

FLANGE NUT,3/8"-16

2шт.

11

1261265C2

TOOTH

- incorporator

7шт.

12

412-616

CARRIAGE BOLT,Short Sq Nk, 3/8" - 16 x 1", Gr 2

BOLT - carriage, 3/8 NC x 1 inch, grade 2

7шт.

13

231-5146

FLANGE NUT,3/8"-16

7шт.

14

1263672C1

CHAIN (AG)

CHAIN - support

2шт.

15

586591R1

COTTER PIN

PIN - cotter, hair, 1/8 inch

2шт.

17

141381C2

SUPPORT

- tine tooth attachment

1шт.

18

141382C1

CHANNEL

BRACKET - support tube, tine tooth attachment

1шт.

19

413-540

BOLT,Hex, 5/16" - 18 x 2-1/2", Gr 5

- hex, 5/16 NC x 2-1/2 inch, Tine tooth attachment

1шт.

20

232-4115

LOCK NUT,5/16"-18, GC

NUT, LOCK, , Tine tooth attachment 5/16"-18, GC

1шт.

21

1279536C1

SUPPORT TUBE,33.4 mm OD, 248 mm Length

TUBE - tine support, tooth attachment

3шт.

22

141384C1

U-BOLT,5/16" - 18 x 77mm L

- 5/16 inch NC, tine tooth attachment

3шт.

23

231-5145

SERRATED NUT,Flg, USR, 5/16"-18

NUT - hex serrated flange, 5/16 inch NC, Tine tooth attachment

6шт.

24

1279534C1

SPRING

- tooth tine, left-hand attachment

3шт.

25

1279535C1

SPRING

- tooth tine, right-hand attachment

2шт.

26

413-636

BOLT,Hex, 3/8" - 16 x 2-1/4", Gr 5

- hex, 3/8 NC x 2-1/4 inch, Tine tooth attachment

5шт.

27

495-21044

WASHER,3/8"

(flat, 7/16 x 1 x 5/64 inch), Tine tooth attachment 3/8"

5шт.

28

231-4116

NUT,3/8"-16, GB

NUT - hex, self-locking, 3/8 inch NC, tine tooth attachment

5шт.

Выбрано товаров: 24