Запчасти Case IH 955 (9D-32) - FERTILIZER APPLICATOR MOUNTING BAR (09) - CHASSIS/ATTACHMENTS

Схема запчастей Case IH 955 - (9D-32) - FERTILIZER APPLICATOR MOUNTING BAR (09) - CHASSIS/ATTACHMENTS
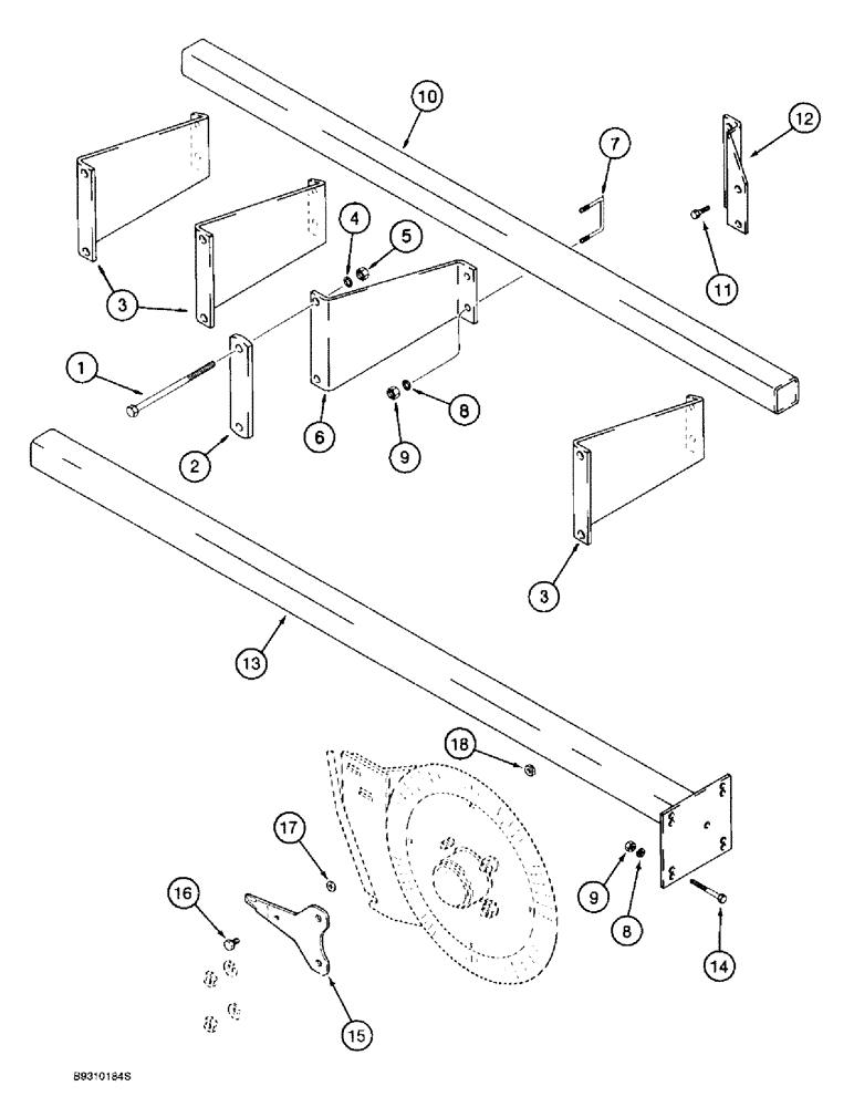
9
13
16
5
7
18
17
1
2
10
15
3
3
8
6
4
12
9
11
14
8
FIT
1:1
100%

Артикул

Название

Примечание

Количество

1

413-10144

BOLT,Hex, 5/8" - 11 x 9", Gr 5

- hex, 5/8 NC x 9 inch

20шт.

2

111465A1

STRAP

- front bar bracket

10шт.

3

113666A1

BAR

BRACKET - fertilizer bar, left-hand

5шт.

4

492-11062

BEARING WASHER,5/8"

WASHER, LOCK, 5/8"

20шт.

5

425-1010

NUT,5/8"-11, G5

20шт.

6

113667A1

BAR

BRACKET - fertilizer bar, right-hand

5шт.

7

1344524C1

U-BOLT

- 1/2 inch NC, 2-1/2 x 3-1/2 inch

12шт.

8

80679

LOCK WASHER,1/20.507 CST ZND

WASHER, LOCK, 1/2"

40шт.

9

425-108

NUT,1/2" - 13, Gr 5

NUT, , Hex 1/2"-13, G5

40шт.

10

1344526C1

TUBE,1702 mm Length

BAR - extension, 67 inch long

2шт.

11

413-816

BOLT,Hex, 1/2" - 13 x 1", Gr 5

4шт.

12

111467A1

BRACKET

- squeeze pump

2шт.

13

111466A1

BAR

- front

2шт.

14

413-840

BOLT,Hex, 1/2" - 13 x 2-1/2", Gr 5

- hex, 1/2 NC x 2-1/2 inch

8шт.

15

1344522C1

KIT

BLADE - knife scraper (See note A)

1шт.

16

426-512

BOLT,Hex, 5/16" - 18 x 3/4", Gr 8

- hex, 5/16 NC x 3/4 inch, grade 8, Knife scraper

1шт.

17

495-21038

WASHER,5/16"

(flat, 3/8 x 7/8 x 3/32"), Knife scraper 5/16"

1шт.

18

492-11031

LOCK WASHER,5/16"

WASHER, LOCK, , Knife scraper 5/16"

1шт.

Выбрано товаров: 18