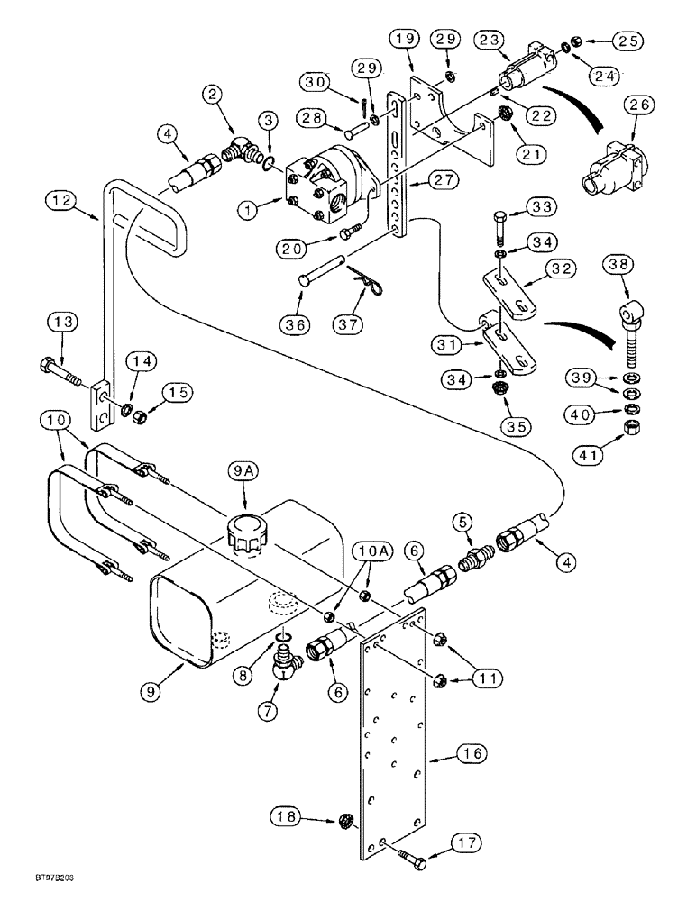
Запчасти Case IH 955 (8-19A) - BLOWER PUMP HYDRAULIC SYSTEM, RESERVOIR TO PUMP & PUMP MOUNTING PARTS (08) - HYDRAULICS

Схема запчастей Case IH 955 - (8-19A) - BLOWER PUMP HYDRAULIC SYSTEM, RESERVOIR TO PUMP & PUMP MOUNTING PARTS (08) - HYDRAULICS
33
10a
4
25
12
5
4
31
23
29
30
28
38
6
10
14
40
32
37
34
39
11
7
34
27
13
26
18
16
6
15
9a
19
20
2
9
1
8
3
24
41
21
36
35
29
17
22
FIT
1:1
100%

Артикул

Название

Примечание

Количество

1

142482C91

PUMP, HYDRAULIC

PUMP ASSEMBLY - hydraulic, new (See Page 8-53)

1шт.

2

218-5110

ELBOW,90 Degree Elbow, 1-5/16" - 12 Male JIC x 1-5/16" - 12 Male ORB

90º, 1-5/16-12 inch flare x adj O-ring boss

1шт.

3

237-6016

O-RING,0.116" Thk x 1.171" ID, -916, Cl 6, 90 Duro

- 1-11/64 ID x 7/64 inch wide

1шт.

4

258054A1

HYDRAULIC HOSE

HOSE - 610 mm (24 inch) long, suction, at pump

1шт.

5

218-438

HYD CONNECTOR,1-5/16" - 12 Male JIC x 1-5/16" - 12 Male JIC

CONNECTOR - straight, large hex, 1-5/16-12 inch flare

1шт.

6

58159C2

HOSE,31.75mm ID x 1371.6mm L

- Suction, at reservoir 1.25" ID x 54.00"

1шт.

7

218-5110

ELBOW,90 Degree Elbow, 1-5/16" - 12 Male JIC x 1-5/16" - 12 Male ORB

90º, 1-5/16-12 inch flare x adj O-ring boss

1шт.

8

237-6016

O-RING,0.116" Thk x 1.171" ID, -916, Cl 6, 90 Duro

- 1-11/64 ID x 7/64 inch wide

1шт.

9

115869A1

RESERVOIR, HYDRAULIC

RESERVOIR ASSEMBLY - hydraulic oil, 3 gallon

1шт.

9a

129575A1

CAP

- reservoir, includes dipstick

1шт.

10

116093A1

STRAP

- reservoir mounting

2шт.

10a

425-106

NUT,3/8"-16, Cl 5

2шт.

11

231-5146

FLANGE NUT,3/8"-16

4шт.

12

250737A1

GUIDE

- hose

1шт.

13

413-1032

BOLT,Hex, 5/8" - 11 x 2", Gr 5

- hex, 5/8 NC x 2 inch

2шт.

14

492-11062

BEARING WASHER,5/8"

WASHER, LOCK, 5/8"

2шт.

15

425-1010

NUT,5/8"-11, G5

2шт.

16

145103C4

PLATE

BRACKET - reservoir mounting

1шт.

17

413-828

BOLT,Hex, 1/2" - 13 x 1-3/4", Gr 5

3шт.

18

231-5148

FLANGE NUT,Flg, USR, 1/2"-13

3шт.

19

56773C2

PLATE

- pump mounting

1шт.

20

413-820

BOLT,Hex, 1/2" - 13 x 1-1/4", Gr 5

- hex, 1/2 NC x 1-1/4 inch

2шт.

21

231-5148

FLANGE NUT,Flg, USR, 1/2"-13

2шт.

22

177192C1

KEY

- shaft, pump, order 575824R1 key and cut to 1-7/32 inch (31 mm) length

1шт.

23

1958267C1

COUPLING,Assembly, Pump, 1 3/8" Spline, 21 Tooth

COUPLER ASSEMBLY - pump, 1-3/8 inch spline, tapered

1шт.

24

80679

LOCK WASHER,1/20.507 CST ZND

WASHER, LOCK, 1/2"

1шт.

25

425-118

NUT,1/2"-20, G5

- hex, 1/2 inch NF

1шт.

26

1958268C1

COUPLING

COUPLER ASSEMBLY - pump, 1-3/4 inch spline, tapered

1шт.

27

56774C1

BRACKET

- adjusting

1шт.

28

39-1720

HEADED PIN,7/16" x 1 1/4"

PIN - headed, 7/16 x 1-1/4 inch, grade 2

2шт.

29

495-11047

WASHER,7/16", SAE

(15/32 x 59/64 x 1/16") 7/16", SAE

4шт.

30

432-1216

COTTER PIN,3/16" x 1"

2шт.

31

1254128C1

STRAP

- retaining

1шт.

32

56776C1

BAR

STRAP - retaining

1шт.

33

413-856

BOLT,Hex, 1/2" - 13 x 3-1/2", Gr 5

- hex, 1/2 NC x 3-1/2 inch

2шт.

34

495-11053

WASHER,1/2", SAE

(17/32" x 1-1/16" x 3/32") 1/2", SAE

4шт.

35

231-5148

FLANGE NUT,Flg, USR, 1/2"-13

2шт.

36

439-11044

HEADED PIN,5/8" x 2 3/4", G2

PIN - headed, 5/8 x 2-3/4 inch, grade 2

1шт.

37

1978738C1

HAIR PIN COTTER

3/16"

1шт.

38

1958312C1

ANCHOR

BOLT - special, 5/8 NC x 3-1/2 inch (Use instead of Ref. 31 and 32 as required)

1шт.

39

396-21066

WASHER,16.66mm ID x 33.33mm OD x 4.27mm Thk

2шт.

40

492-11062

BEARING WASHER,5/8"

WASHER, LOCK, 5/8"

1шт.

41

425-1010

NUT,5/8"-11, G5

1шт.

Выбрано товаров: 0