Запчасти Case IH 955 (9A-05A) - MAIN FRAME, 6/11 ROW & 8/15 ROW SOLID ROW CROP, 8 ROW & 12 ROW W/22 INCH ROW SPACING (SUGAR BEET) (09) - CHASSIS/ATTACHMENTS

Схема запчастей Case IH 955 - (9A-05A) - MAIN FRAME, 6/11 ROW & 8/15 ROW SOLID ROW CROP, 8 ROW & 12 ROW W/22 INCH ROW SPACING (SUGAR BEET) (09) - CHASSIS/ATTACHMENTS
15
20
14
2
9
1
14
13
16
7
18
19
11
17
17
6
18
4
21
16
3
8
18
3a
12
18
5
7a
15
10
FIT
1:1
100%

Артикул

Название

Примечание

Количество

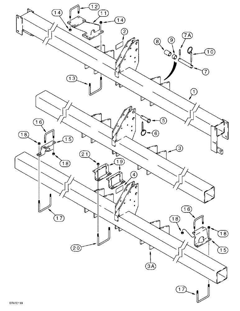
1

231065A1

FRAME

ASSEMBLY - main, includes decal (6/11 solid row crop and 8 row with 22 inch row spacing)

1шт.

See page 9A-3, items 16 through 21, for parking stand and attaching parts when frame is used for 8 row with 22 inch row spacing.

1шт.

2

220321A1

WARNING DECAL

DECAL - Warning, read the operator\qs manual, see item 10, page 9F-11

1шт.

3

242772A1

FRAME

ASSEMBLY - main, includes decal (8/15 solid row crop)

1шт.

3a

231066A1

FRAME

ASSEMBLY - main, includes decal (12 row with 22 inch row spacing)

1шт.

4

220321A1

WARNING DECAL

DECAL - Warning, read the operator\qs manual, see item 10, page 9F-11

1шт.

5

392211R2

PIN

- frame, upper link

1шт.

6

372907R91

LINCH PIN

PIN - self-locking

1шт.

7

236592A1

PIN

- frame, lower link

2шт.

7a

438-33240

PIN,1/2" x 2 1/2", Coiled

2шт.

8

599801R1

SPACER

- pin, long

2шт.

9

599802R1

SPACER

- pin, short

2шт.

10

372907R91

LINCH PIN

PIN - self-locking

2шт.

11

228432A1

SUPPORT

- module, high mount (used on 231065A1 frame for 8 row with 22 inch row spacing)

2шт.

12

842977C1

BOLT

U-BOLT - 5/8 inch NC 3 x 5 inch, support to module frame

4шт.

13

1250813C1

U-BOLT

- 5/8 inch NC, 7 x 7 inch, support to main frame

4шт.

14

425-1010

NUT,5/8"-11, G5

16шт.

15

228423A1

BRACKET

- mounting, module support (used on 231066A1 frame for 12 row with 22 inch row spacing, 242772A1 frame for 8/15 row and 231065A1 frame for 6/11 row)

6шт.

16

842977C1

BOLT

U-BOLT - 5/8 inch NC 3 x 5 inch, support to module frame

6шт.

17

1250813C1

U-BOLT

- 5/8 inch NC, 7 x 7 inch, support to main frame

6шт.

18

425-1010

NUT,5/8"-11, G5

24шт.

19

183284A1

BRACKET

- mounting, tank, used on 231066A1 main frame (12 row with 22 inch row spacing)

2шт.

20

1250813C1

U-BOLT

- 5/8 inch NC, 7 x 7 inch, tank to main frame

2шт.

21

425-1010

NUT,5/8"-11, G5

4шт.

Выбрано товаров: 24