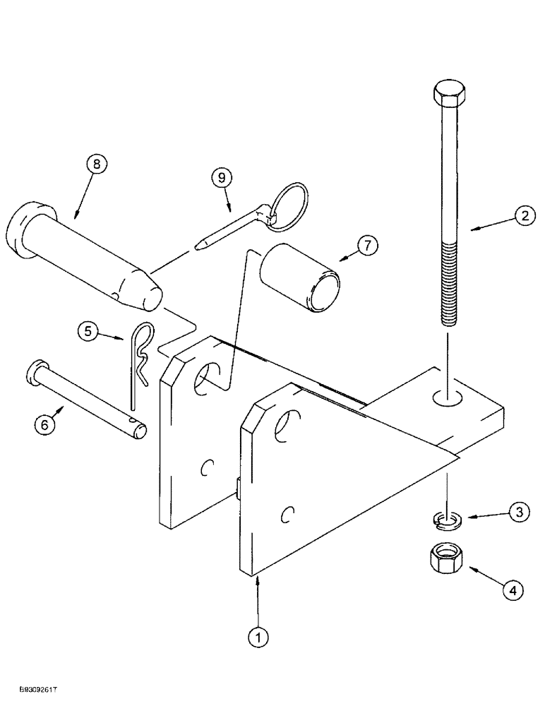
Запчасти Case IH 955 (9A-046) - DRAWBAR SUPPORT, 12, 16 AND 24 ROW NARROW - FRONT FOLD, 12 ROW WIDE - FRONT FOLD (09) - CHASSIS/ATTACHMENTS

Схема запчастей Case IH 955 - (9A-046) - DRAWBAR SUPPORT, 12, 16 AND 24 ROW NARROW - FRONT FOLD, 12 ROW WIDE - FRONT FOLD (09) - CHASSIS/ATTACHMENTS
2
6
8
5
4
9
1
3
7
FIT
1:1
100%

Артикул

Название

Примечание

Количество

1

118601A3

SUPPORT

- drawbar

1шт.

2

326-12136

BOLT,Hex, 3/4" - 10 x 8-1/2", Gr 8

- hex, 3/4 NC x 8-1/2 inch, grade 8

2шт.

3

492-11075

LOCK WASHER,3/4"

3/4"

2шт.

4

425-1012

NUT,3/4"-10, G5

- hex, 3/4 inch NC

2шт.

5

1978738C1

HAIR PIN COTTER

3/16"

1шт.

6

439-1876

HEADED PIN,1/2" x 4 3/4"

PIN - headed, 1/2 x 4-3/4 inch, grade 2

1шт.

7

398406R1

BUSHING,26.29mm ID x 31.37mm OD x 50.8mm L

- support

1шт.

8

374132R1

PIN

- Category II, link implement

1шт.

9

392181R1

SPLIT PIN/SAFETY PIN,11.13mm OD

PIN - klik

1шт.

Выбрано товаров: 9