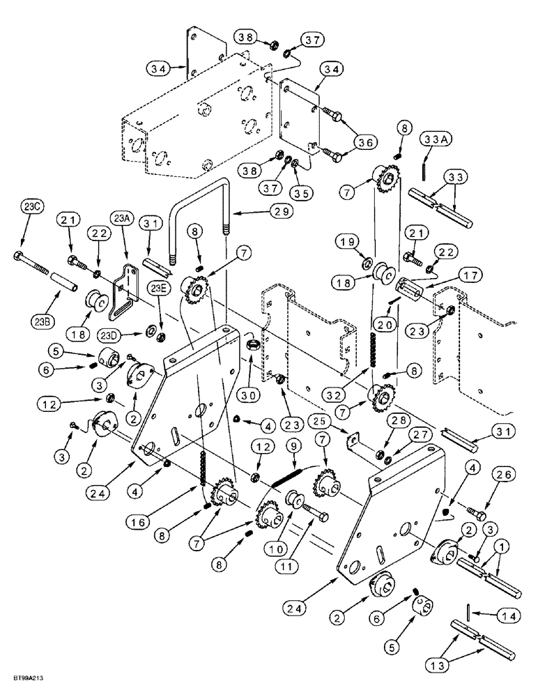
Запчасти Case IH 955 (9A-068) - MAIN DRIVE, CENTER MAIN FRAME, 12/23 SOLID ROW CROP - FRONT FOLD (09) - CHASSIS/ATTACHMENTS

Схема запчастей Case IH 955 - (9A-068) - MAIN DRIVE, CENTER MAIN FRAME, 12/23 SOLID ROW CROP - FRONT FOLD (09) - CHASSIS/ATTACHMENTS
3
8
24
4
7
18
22
26
23
2
23
18
38
10
5
33a
16
21
2
9
1
23d
33
8
7
13
4
23a
30
8
23c
38
8
20
23b
3
2
24
34
12
36
8
37
17
31
5
14
4
21
29
11
12
31
6
37
32
22
27
35
34
7
3
23e
25
6
7
2
7
28
19
FIT
1:1
100%

Артикул

Название

Примечание

Количество

1

305088A1

SHAFT

- drive, hex, 22 (7/8) x 500 mm (19-11/16 inch) long, clutch driven, outer

1шт.

See Figure 9A-80 for drive wheel clutch parts.

1шт.

2

134158C92

BALL BEARING,22.5mm ID

- ball, hex, sealed, 7/8 inch

4шт.

3

434-516

CARRIAGE BOLT,Sht Sq Nk, 5/16" - 18 x 1", Gr 5

BOLT - carriage, 5/16 NC x 3/4 inch

8шт.

4

231-5145

SERRATED NUT,Flg, USR, 5/16"-18

NUT - hex serrated flange, 5/16 inch NC

8шт.

5

141572C2

COLLAR

HUB - sprocket, 7/8 inch hex

4шт.

6

483-15012

SET SCREW,Hex Soc, 1/2"-13 x 3/4"

SCREW - set, hex socket headless, 1/2 NC x 3/4 inch, cup point

4шт.

7

103681A1

SPROCKET

- 18 teeth, chain drive

5шт.

8

483-15012

SET SCREW,Hex Soc, 1/2"-13 x 3/4"

SCREW - set, hex socket headless, 1/2 NC x 3/4 inch, cup point

5шт.

9

238828A2

CHAIN (AG)

CHAIN - clutch shaft to jackshaft, use 47 links from 1790D bulk chain and (1) 241-1314 connecting link, see below

1шт.

10

1277726C1

ROLLER,48mm OD x 34mm L

- idler, jackshaft chain

1шт.

11

413-1064

BOLT,Hex, 5/8" - 11 x 4", Gr 5

- hex, 5/8 NC x 4 inch

1шт.

12

425-1410

JAM NUT,Jam, 5/8"-11, G5

- hex, jam, 5/8 inch NC

2шт.

13

305086A1

SHAFT

- drive, hex, 22 (7/8) x 335 mm (13-3/16 inch) long, jackshaft

1шт.

14

38-31628

PIN,1/4" x 1 3/4", Coiled

1шт.

16

238824A2

CHAIN (AG)

CHAIN - jackshaft to row unit shaft, use 57 links from 1790D bulk chain and (1) 241-1314 connecting link

1шт.

17

113509A1

FRONT IDLER

IDLER - chain, single roller

2шт.

18

1277726C1

ROLLER,48mm OD x 34mm L

- idler

2шт.

19

495-81178

WASHER,21/32" x 1 1/8" x .048"

- flat, 21/32 x 1-1/8 x 3/64 inch

2шт.

20

432-1224

COTTER PIN,3/16" x 1-1/2"

3/16" x 1 1/2"

2шт.

21

413-824

BOLT,Hex, 1/2" - 13 x 1-1/2", Gr 5

2шт.

22

80679

LOCK WASHER,1/20.507 CST ZND

WASHER, LOCK, 1/2"

2шт.

23

425-108

NUT,1/2" - 13, Gr 5

NUT, , Hex 1/2"-13, G5

2шт.

23a

302457A1

BRACKET

- mounting, idler

1шт.

23b

302500A1

BUSHING

- idler roller

1шт.

23c

413-760

BOLT,Hex, 7/16" - 14 x 3-3/4", Gr 5

- hex, 7/16 NC x 3-3/4 inch

1шт.

23d

496-81010

WASHER

- flat, 15/32 x 1 x 7/64 inch, hardened

3шт.

23e

231-4117

LOCK NUT,7/16"-14, GB

NUT - hex, self-locking, 7/16 inch NC

1шт.

24

222629A2

BRACKET

- support, jackshaft drive

2шт.

25

241079A2

BRACKET

BRACE - support bracket

2шт.

26

413-824

BOLT,Hex, 1/2" - 13 x 1-1/2", Gr 5

4шт.

27

80679

LOCK WASHER,1/20.507 CST ZND

WASHER, LOCK, 1/2"

4шт.

28

425-108

NUT,1/2" - 13, Gr 5

NUT, , Hex 1/2"-13, G5

4шт.

29

1250813C1

U-BOLT

- 5/8 inch NC, 7 x 7 inch

2шт.

30

425-1410

JAM NUT,Jam, 5/8"-11, G5

- hex, jam, 5/8 inch NC

4шт.

31

232891A1

SHAFT

- drive, hex, 22 (7/8) x 4053 mm (159-9/16 inch) long, row units

1шт.

32

256110A1

CHAIN (AG)

CHAIN - drive, row unit to transmission center shaft, use 77 links from 1790D bulk chain, (1) 241-1314 connecting link and (1) 241-1714 offset links

1шт.

33

241361A1

SHAFT

- drive, hex, 22 (7/8) x 381 mm (15 inch) long, transmission center shaft

1шт.

33a

38-31628

PIN,1/4" x 1 3/4", Coiled

1шт.

34

222126A1

PLATE

SUPPORT - transmission

2шт.

35

495-81159

WASHER,33/64" x 7/8" x .180"

- flat, 33/64 x 7/8 x 3/16 inch, use as spacer

4шт.

36

413-820

BOLT,Hex, 1/2" - 13 x 1-1/4", Gr 5

4шт.

37

80679

LOCK WASHER,1/20.507 CST ZND

WASHER, LOCK, 1/2"

4шт.

38

425-108

NUT,1/2" - 13, Gr 5

NUT, , Hex 1/2"-13, G5

4шт.

1790D

CHAIN (AG)

CHAIN - bulk, 10 foot roll

1шт.

241-1314

CHAIN LINK

LINK - connecting, single pitch, No. 40, 1/2 inch pitch

1шт.

241-1714

CHAIN LINK

LINK - offset, single pitch, No. 40, 1/2 inch pitch

1шт.

Выбрано товаров: 47