Запчасти Case IH 955 (9A-084) - MAIN DRIVE, 12 ROW NARROW - PARALLEL FRONT FOLD (09) - CHASSIS/ATTACHMENTS

Схема запчастей Case IH 955 - (9A-084) - MAIN DRIVE, 12 ROW NARROW - PARALLEL FRONT FOLD (09) - CHASSIS/ATTACHMENTS
16
30
38
47
42
21
44
20
16
23
46
36
20
50
27
10
7
5
5
39
22
12
1
29
6
34
26
19
49
40
3a
9
18
15
24
30
37
2
12
48
8
13
14
3
14
16
20
32
29
43
10a
33
35
14
25a
45
41
38
31
17
21
4
10
25
50
28
11
FIT
1:1
100%

Артикул

Название

Примечание

Количество

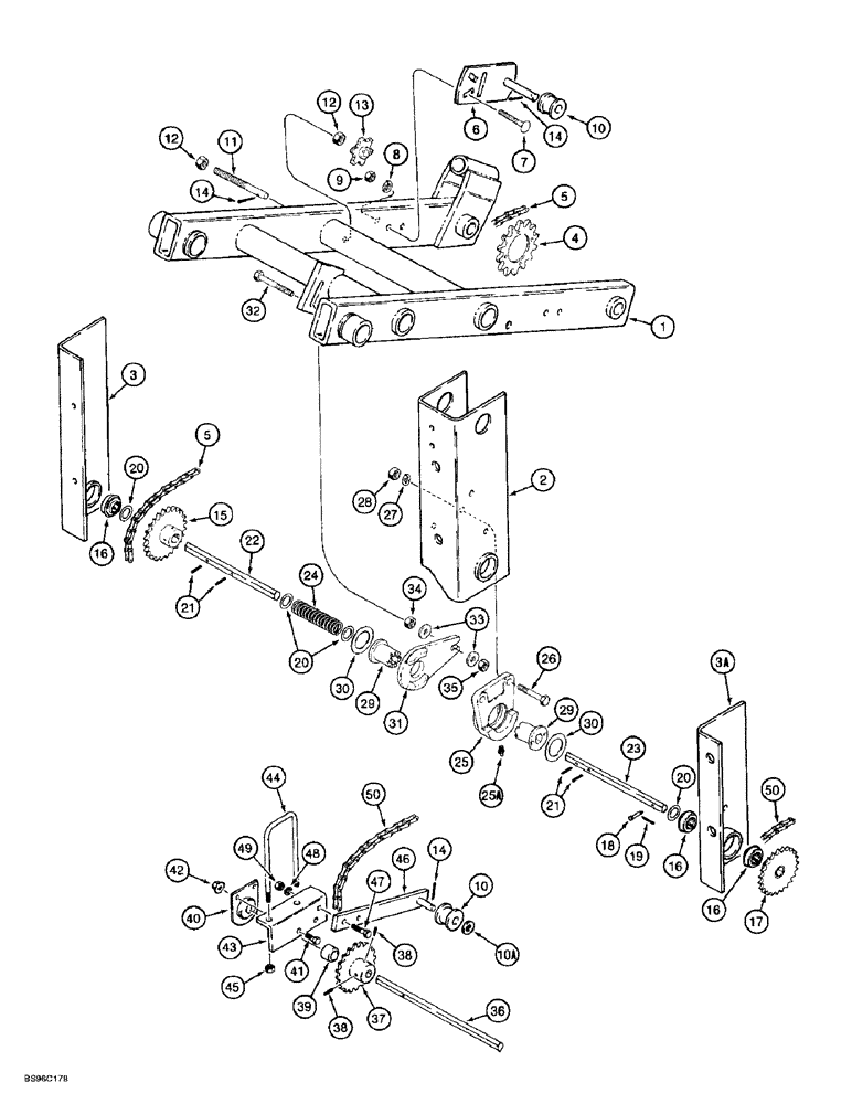
1

97659C3

FRAME

- drive wheel, see page 9A-83, item 11A for bearings

1шт.

2

97669C1

SUPPORT

- drive wheel and clutch, right-hand, see page 9A-83, item 4

1шт.

3

97674C1

SUPPORT

- drive wheel and cylinder, left-hand, see page 9A-83, item 5

1шт.

3a

97668C1

SUPPORT

- drive wheel, right-hand, see page 9A-83, item 3

1шт.

4

100040C1

DRIVEN SPROCKET

SPROCKET - 15 teeth, drive wheel hub

1шт.

5

1336994C1

CHAIN (AG)

CHAIN - drive, order 73 links from 569089R91 bulk chain, (1) 1277928C91 connecting link and (1) 456929R91 offset link, see below

1шт.

6

1973134C1

PLATE

- idler, roller

1шт.

7

433-848

CARRIAGE BOLT,Sq Nk, 1/2" - 13 x 3", Gr 5

BOLT - carriage, 1/2 NC x 3 inch

2шт.

8

80679

LOCK WASHER,1/20.507 CST ZND

WASHER, LOCK, 1/2"

2шт.

9

425-108

NUT,1/2" - 13, Gr 5

NUT, , Hex 1/2"-13, G5

2шт.

10

1277726C1

ROLLER,48mm OD x 34mm L

- idler

2шт.

10a

495-81178

WASHER,21/32" x 1 1/8" x .048"

- flat, 21/32 x 1-1/8 x 3/64 inch

1шт.

11

1960308C1

STUD

- idler

1шт.

12

425-1010

NUT,5/8"-11, G5

2шт.

13

819457C1

SPROCKET

- idler, 6 teeth

1шт.

14

432-1216

COTTER PIN,3/16" x 1"

3шт.

15

1277743C1

DRIVING SPROCKET

SPROCKET - drive, 23 teeth

1шт.

16

134181C92

BALL BEARING,2.125" OD x 0.046"

- ball

3шт.

17

1995654C1

SPROCKET

- drive, 15 teeth, shear pin type

1шт.

item # 17- if looking for a sprocket with a hexagonal center instead of a regular hole and set screw-- use part # 326402a1-- from the 1998 product update- jp tsg

1шт.

18

439-1432

HEADED PIN,1/4" x 2", G2

PIN - headed, 1/4 x 2 inch, grade 2

1шт.

19

432-88

COTTER PIN,1/8" x 1/2"

PIN, SPLIT (COTTER), 1/8" x 1/2"

1шт.

20

495-81074

WASHER,1 1/32" x 1 3/4" x .120"

- flat, 1-1/32 x 1-3/4 x 1/8"

4шт.

21

438-31628

PIN,1/4" x 1 3/4", Coiled

4шт.

22

97893C1

SHAFT

- drive, hex, 22 (7/8) x 285 mm (11-1/4 inch) long

1шт.

23

192541A1

SHAFT

- drive, hex, 22 (7/8) x 305 mm (12 inch) long, used on planter without electric clutch, see page 9A-89, item 19 for shaft used with electric clutch

1шт.

24

1264302C1

SPRING

- clutch

1шт.

25

90345C3

BRACKET

- pivot

1шт.

25a

219-8

LUBE NIPPLE,1/4" - 28 NPTF

NIPPLE, LUBE, 1/4"-28 NPT x .54" lg

1шт.

26

413-1032

BOLT,Hex, 5/8" - 11 x 2", Gr 5

- hex, 5/8 NC x 2 inch

2шт.

27

492-11062

BEARING WASHER,5/8"

WASHER, LOCK, 5/8"

2шт.

28

425-1010

NUT,5/8"-11, G5

2шт.

29

1264313C1

CLUTCH

- drive and driven, left-hand

2шт.

30

1267994C2

THRUST WASHER,42.06mm ID x 57.15mm OD x 2.7mm Thk

- flat, 1-21/32 x 2-1/4 x 7/64 inch, special

2шт.

31

90344C1

PLATE

- clutch throwout

1шт.

32

426-864

BOLT,Hex, 1/2" - 13 x 4", Gr 8

- hex, 1/2 NC x 4 inch, grade 8

1шт.

33

495-11053

WASHER,1/2", SAE

(17/32" x 1-1/16" x 3/32") 1/2", SAE

2шт.

34

425-158

JAM NUT,Jam, 1/2"-20, G5

1шт.

35

231-4118

LOCK NUT,1/2"-13, GB

NUT - hex, self-locking, 1/2 inch NC

1шт.

36

196273A1

SHAFT

- drive, hex, 22 (7/8) x 390 mm (15-3/8 inch) long

1шт.

37

278969A1

SPROCKET ASSY.

SPROCKET - drive, 17 teeth

1шт.

38

483-1508

SET SCREW,Hex Soc, 1/2"-13 x 1/2"

SCREW - set, hex socket headless, 1/2 NC x 1/2 inch, cup point

2шт.

39

1544786C1

BUSHING

SPACER - 27 x 30 x 22 mm long

1шт.

40

102724A1

BALL BEARING

HANGER - bearing

1шт.

41

413-616

BOLT,Hex, 3/8" - 16 x 1", Gr 5

- hex, 3/8 NC x 1 inch

2шт.

42

231-5146

FLANGE NUT,3/8"-16

2шт.

43

185159A1

BRACKET

- mounting, bearing hanger

1шт.

44

188585A1

U-BOLT,5/8" - 11 x 77.20mm W x 211.30mm L

- 5/8 inch NC, 3 x 8 inch, Serial Range: bracket-frame

1шт.

45

425-1010

NUT,5/8"-11, G5

2шт.

46

133917A1

FRONT IDLER

BRACKET - idler, drive chain

1шт.

47

413-820

BOLT,Hex, 1/2" - 13 x 1-1/4", Gr 5

1шт.

48

80679

LOCK WASHER,1/20.507 CST ZND

WASHER, LOCK, 1/2"

1шт.

49

425-108

NUT,1/2" - 13, Gr 5

NUT, , Hex 1/2"-13, G5

1шт.

50

223949A1

BRACKET

CHAIN - drive wheel, order 31 links from 569089R91 bulk chain, (1) 242-1310 connecting link and (1) 242-1710 offset link, see below

1шт.

569089R91

CHAIN (AG),10' L, 1.0" Pitch

CHAIN - bulk roll, 10 foot long

1шт.

Выбрано товаров: 55