Запчасти Case IH 955 (9A-108) - DRAWBAR HELPER, AFS PLANTER (09) - CHASSIS/ATTACHMENTS

Схема запчастей Case IH 955 - (9A-108) - DRAWBAR HELPER, AFS PLANTER (09) - CHASSIS/ATTACHMENTS
10
11
6
11
4
2
10
9
8
7
1
3
5
12
FIT
1:1
100%

Артикул

Название

Примечание

Количество

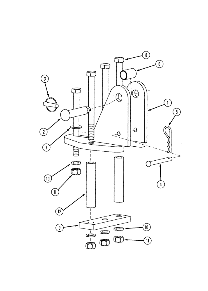
1

297095A1

SUPPORT

- drawbar

1шт.

2

300860A1

HEADED PIN

PIN - headed with tapered end

1шт.

3

392181R1

SPLIT PIN/SAFETY PIN,11.13mm OD

PIN - klik

1шт.

4

439-1876

HEADED PIN,1/2" x 4 3/4"

PIN - headed, 1/2 x 4-3/4 inch, grade 2

1шт.

5

1978738C1

HAIR PIN COTTER

3/16"

1шт.

6

398406R1

BUSHING,26.29mm ID x 31.37mm OD x 50.8mm L

- upper link rear

1шт.

7

496-11081

WASHER,13/16" x 1 1/2" x .134", HDN

Flat 13/16" x 1 1/2" x .134", HDN

1шт.

8

326-12136

BOLT,Hex, 3/4" - 10 x 8-1/2", Gr 8

- hex, 3/4 NC x 8-1/2 inch, grade 8

4шт.

9

297101A1

BAR

- spacer

1шт.

10

492-11075

LOCK WASHER,3/4"

3/4"

4шт.

11

329-1012

NUT,3/4"-10, G8

4шт.

12

297179A1

SPACER

-

2шт.

Выбрано товаров: 12