Запчасти Case IH 955 (9B-24) - DRIVE PARTS FOR SPEED CHANGE ASSEMBLY, 24 ROW NARROW - FRONT FOLD - CENTER MODULE ONLY (09) - CHASSIS/ATTACHMENTS

Схема запчастей Case IH 955 - (9B-24) - DRIVE PARTS FOR SPEED CHANGE ASSEMBLY, 24 ROW NARROW - FRONT FOLD - CENTER MODULE ONLY (09) - CHASSIS/ATTACHMENTS
6
8
2
17
11
15
13
3
2
13
14
18
3
5
9
12
4
19
7
16
10
FIT
1:1
100%

Артикул

Название

Примечание

Количество

1

REF

INSTRUCTION

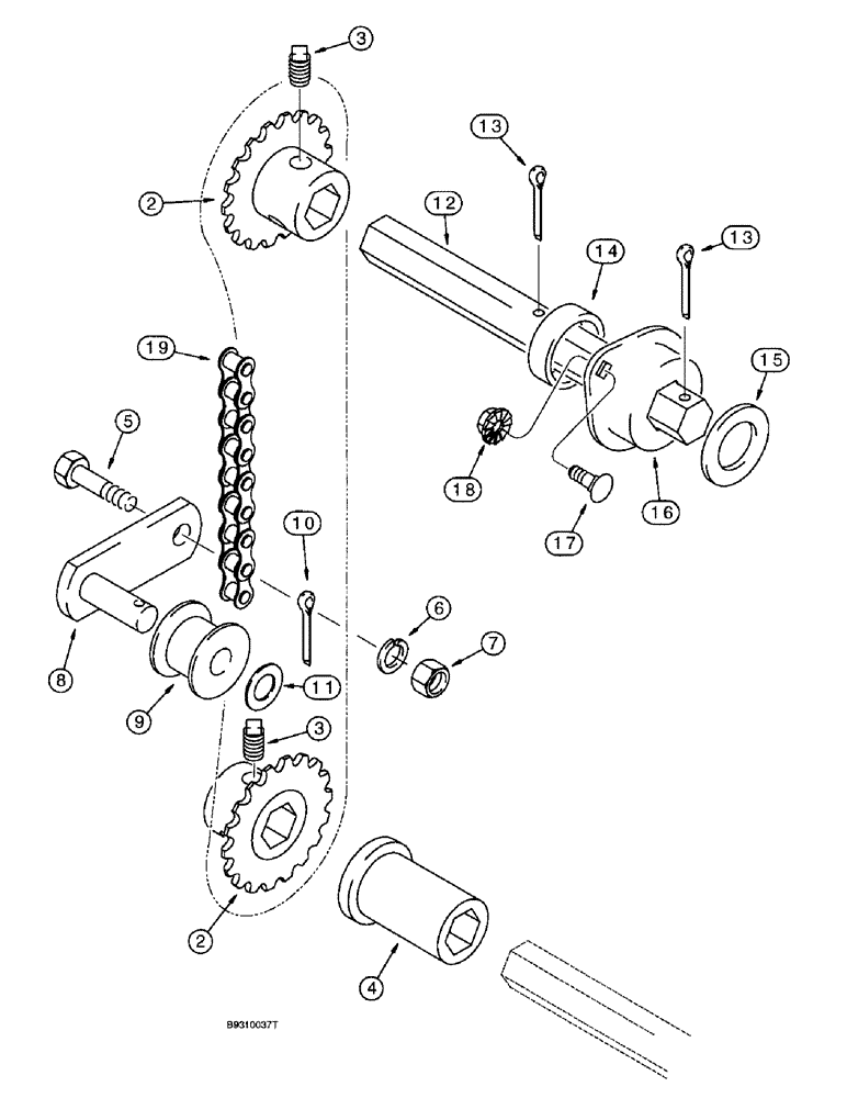
SPEED CHANGE ASSEMBLY - seed drive, not shown, see page 9B-21

1шт.

2

103681A1

SPROCKET

- 18 teeth, drive and driven

2шт.

3

485-15012

SET SCREW,Sq Hd, 1/2"-13 x 3/4"

SCREW - set, square head, 1/2 NC x 3/4 inch, cup point

4шт.

4

90335C2

BUSHING

- drive shaft

1шт.

5

413-824

BOLT,Hex, 1/2" - 13 x 1-1/2", Gr 5

1шт.

6

80679

LOCK WASHER,1/20.507 CST ZND

WASHER, LOCK, 1/2"

1шт.

7

425-108

NUT,1/2" - 13, Gr 5

NUT, , Hex 1/2"-13, G5

1шт.

8

113509A1

FRONT IDLER

IDLER - drive chain

1шт.

9

1277726C1

ROLLER,48mm OD x 34mm L

- idler

1шт.

10

432-1224

COTTER PIN,3/16" x 1-1/2"

3/16" x 1 1/2"

1шт.

11

495-81178

WASHER,21/32" x 1 1/8" x .048"

- flat, 21/32 x 1-1/8 x 3/64 inch

1шт.

12

125488A1

SHAFT

JACKSHAFT - 10-1/4 inch long

1шт.

13

432-1624

COTTER PIN,1/4" x 1 1/2"

Pin, Split (Cotter), 1/4" x 1-1/2"

2шт.

14

1277812C2

SPACER

- sprocket, 27 x 33 x 9 mm

1шт.

15

495-81070

WASHER,1 1/32" x 1 1/2" x .120"

- flat, 1-1/32 x 1-1/2 x 7/64 inch

1шт.

16

134158C92

BALL BEARING,22.5mm ID

- ball, hex, sealed, 7/8 inch, hex shaft

1шт.

17

412-512

CARRIAGE BOLT,Short Sq Nk, 5/16" - 18 x 3/4", Gr 2

BOLT - carriage, 5/16 NC x 3/4 inch, grade 2

2шт.

18

231-5145

SERRATED NUT,Flg, USR, 5/16"-18

NUT - hex serrated flange, 5/16 inch NC

2шт.

19

125486A2

CHAIN (AG)

CHAIN ASSEMBLY - use 75 links from 1790D bulk chain, plus (1) 241-1314 connecting link and (1) 241-1714 offset link, see below

1шт.

1790D

CHAIN (AG)

CHAIN - bulk, 10 foot roll

1шт.

241-1314

CHAIN LINK

LINK - connecting, single pitch, No. 40, 1/2 inch pitch

1шт.

241-1714

CHAIN LINK

LINK - offset, single pitch, No. 40, 1/2 inch pitch

1шт.

Выбрано товаров: 22