Запчасти Case IH 955 (9D-26) - WING FURROWING ATTACHMENT (09) - CHASSIS/ATTACHMENTS

Схема запчастей Case IH 955 - (9D-26) - WING FURROWING ATTACHMENT (09) - CHASSIS/ATTACHMENTS
1
16
8
6
19
3
15
4
11
7
18
9
10
17
2
5
FIT
1:1
100%

Артикул

Название

Примечание

Количество

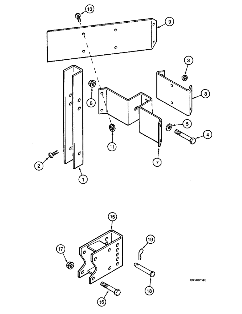
1

141232C2

CHANNEL

BRACKET - furrowing channel

1шт.

3

231-5146

FLANGE NUT,3/8"-16

2шт.

4

413-848

BOLT,Hex, 1/2" - 13 x 3", Gr 5

- hex, 1/2 NC x 3 inch

1шт.

5

495-81021

WASHER,17/32" x 1" x .120"

- flat, 17/32 x 1 x 7/64 inch

1шт.

6

232-5318

FLANGE NUT,Flg, 1/2"-13

NUT, LOCK, Flg, 1/2"-13

1шт.

7

141231C1

SUPPORT

- furrowing, rear, rear

1шт.

8

141230C1

SUPPORT

- furrowing, front, front

1шт.

9

141229C1

BLADE

- furrowing

2шт.

10

477-73812

SERRATED SCREW,Truss HD, 3/8" - 16 x 3/4"

BOLT - serrated slotted truss head, 3/8 NC x 3/4 inch

10шт.

11

231-5146

FLANGE NUT,3/8"-16

10шт.

15

90974C1

BRACKET

- socket

1шт.

16

413-848

BOLT,Hex, 1/2" - 13 x 3", Gr 5

- hex, 1/2 NC x 3 inch

2шт.

17

231-5148

FLANGE NUT,Flg, USR, 1/2"-13

2шт.

18

147404C1

PIN,12.7mm OD x 83mm L

- clevis, 1/2 x 3-1/4 inch

1шт.

19

1978738C1

HAIR PIN COTTER

3/16"

1шт.

2

477-73816

SERRATED SCREW,Sl Truss Hd, 3/8" x 1"

BOLT - serrated slotted truss head, 3/8 NC x 1 inch

2шт.

Выбрано товаров: 16