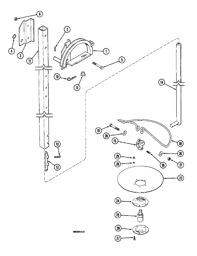
Запчасти Case IH 955 (9E-04) - ROW MARKER OUTER SECTION, 6 ROW WIDE AND 8 ROW NARROW - (09) - CHASSIS/ATTACHMENTS

Схема запчастей Case IH 955 - (9E-04) - ROW MARKER OUTER SECTION, 6 ROW WIDE AND 8 ROW NARROW - (09) - CHASSIS/ATTACHMENTS
26
24
25
6
20
27
19
13
18
15
28
11
9
14
29
5
20
16
12
23
4
10
1
3
2
21
FIT
1:1
100%

Артикул

Название

Примечание

Количество

1

100220C1

PULLEY

BRACKET - pulley, right-hand

1шт.

1

100219C1

PULLEY

BRACKET - pulley, left-hand, not shown

1шт.

2

432-1620

COTTER PIN,1/4" x 1 1/4"

Pin, Split (Cotter), 1/4" x 1 1/4"

2шт.

3

100222C1

SUPPORT

BRACKET - pivot, left-hand

1шт.

3

113041C1

SUPPORT

BRACKET - pivot, right-hand, not shown

1шт.

4

495-81051

WASHER,29/32" x 1 1/4" x .060"

- flat, 29/32 x 1-1/4 x 1/16 inch

2шт.

5

413-852

BOLT,Hex, 1/2" - 13 x 3-1/4", Gr 5

- hex, 1/2 NC x 3-1/4 inch

4шт.

6

231-5148

FLANGE NUT,Flg, USR, 1/2"-13

4шт.

9

439-11214

HEADED PIN,3/4" x 7/8", G2

PIN - headed, 3/4 x 7/8 inch, grade 2

2шт.

10

1980543C1

HAIR PIN COTTER

PIN - cotter, hair, 5/32 inch diameter

2шт.

11

1254187C94

TUBE

ARM - marker, outer, includes decal, 6 row wide and 8 row narrow

2шт.

11

1254188C93

TUBE

ARM - marker, outer, includes decal, 8 row wide, 12 row narrow vertical fold and parallel front fold

2шт.

11a

1254154C2

WARNING DECAL

DECAL - Warning, Keep away. Markers actuate automatically, not shown, see page 9F-115, item 8

1шт.

12

1264424C1

STOP

CLAMP - row marker adjustment rod

2шт.

13

485-15020

SET SCREW,Sq Hd, 1/2"-13 x 1 1/4"

SCREW - set, square head, 1/2 NC x 1-1/4 inch, cup point

4шт.

14

125901C1

TUBE

ARM - marker, inner, 6 row wide, 8 row narrow and 12 row narrrow parallel front fold

2шт.

14

119950C1

TUBE

ARM - marker, inner, 8 row wide and 12 row narrow vertical fold

2шт.

15

97741C1

PIVOT

CLAMP - disk

2шт.

16

485-13812

SET SCREW,Sq Hd, 3/8"-16 x 3/4"

SCREW - set, square head, 3/8 NC x 3/4 inch, cup point

2шт.

18

113223C1

GUARD

- marker disc

2шт.

19

413-848

BOLT,Hex, 1/2" - 13 x 3", Gr 5

- hex, 1/2 NC x 3 inch

2шт.

20

495-21056

WASHER,1/2"

- flat, 9/16 x 1-3/8 x 7/64 inch

4шт.

21

231-4218

LOCK NUT,1/2"-13, GB

NUT - hex, self-locking, 1/2 inch NC

2шт.

1337981C2

DISC

ASSEMBLY - marker

2шт.

23

31283R1

DISC,13", FLAT CENTER

- marker

1шт.

24

472020R1

BEARING HOUSING,19.66 mm ID x 38.125 mm OD

HOUSING - bearing, inner

1шт.

25

1980505C1

BALL BEARING,38.1mm OD x 90.91mm L

BEARING - ball, includes spindle

1шт.

26

472021R1

HOUSING,38.125 mm ID x 76.2 mm OD

- bearing, outer

1шт.

NSS

NOT SOLD SEPARAT

RIVET - 1/4 x 3/4 inch, not shown, order items 27 through 29

5шт.

27

413-412

BOLT,Hex, 1/4" - 20 x 3/4", Gr 5

- hex, 1/4 NC x 3/4 inch

10шт.

28

492-11025

LOCK WASHER,1/4"

WASHER, LOCK, 1/4"

10шт.

29

425-104

NUT,1/4"-20, Cl 5

- hex, 1/4 inch NC

10шт.

Выбрано товаров: 32