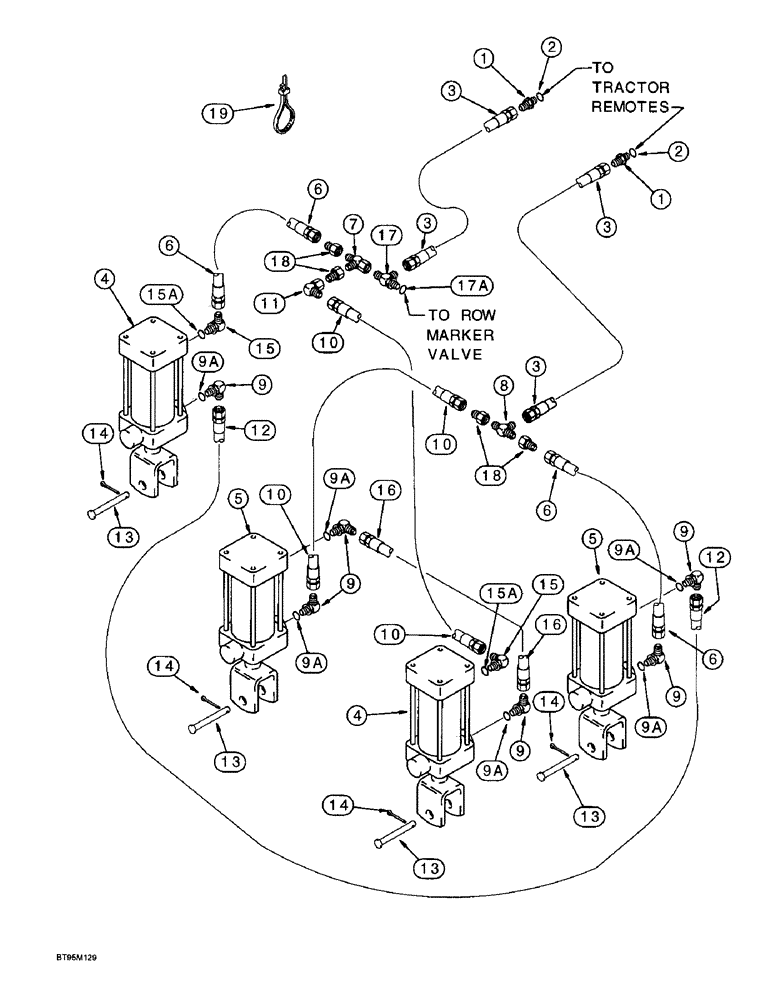
Запчасти Case IH 955 (8-050) - CARRYING WHEEL HYDRAULIC SYSTEM, 6 ROW WIDE - RIGID, 8 ROW NARROW RIGID (08) - HYDRAULICS

Схема запчастей Case IH 955 - (8-050) - CARRYING WHEEL HYDRAULIC SYSTEM, 6 ROW WIDE - RIGID, 8 ROW NARROW RIGID (08) - HYDRAULICS
10
7
9a
16
12
6
14
13
9a
5
8
3
16
9
13
10
13
9
5
1
18
14
15
17
2
6
4
1
15a
6
2
17a
15
13
14
19
9a
10
9a
14
10
3
9
9
12
11
9a
9
3
9a
15a
4
6
3
18
FIT
1:1
100%

Артикул

Название

Примечание

Количество

1

218-5059

HYD CONNECTOR,3/4"-16, 37 Degree x 3/4"-16, O-Ring

ADAPTER - straight, 3/4-16 inch flare x O-ring boss

2шт.

2

237-6008

O-RING,0.087" Thk x 0.644" ID, -908, Cl 6, 90 Duro

8-1, 90 Duro, .644" ID x .087" Thk

1шт.

3

91159C1

HYDRAULIC HOSE,12.70 mm ID x 4955.00 mm, SAE 100R1

HYDRALUIC HOSE, 12.70 mm ID x 4955.00 mm, SAE 100R1

2шт.

4

1286472C1

HYDRAULIC CYLINDER

CYLINDER ASSEMBLY - 83 (3-1/4) ID x 203 mm (8 inch) stroke, carrying wheel, master (See Page 8-101)

2шт.

5

1286471C1

HYDRAULIC CYLINDER

CYLINDER ASSEMBLY - 76 (3) ID x 203 mm (8 inch) stroke, carrying wheel, slave (See Page 8-99)

2шт.

6

1284368C1

HYDRAULIC HOSE

HOSE - 2540 mm (100 inch) long, 8 row narrow

2шт.

6

813006C2

HYDRAULIC HOSE

HOSE - 2160 mm (85 inch) long, 6 row wide

2шт.

7

218-845

TEE,37 Degree, 3/4"-16 x 3/4"-16, Fem Sw Run

- 3/4-16 inch flare branch x flare x swivel

1шт.

8

218-594

TEE,3/4"-16, 37 Degree

- 3/4-16 inch flare branch x flare x flare

1шт.

9

218-5128

ELBOW,90° Elbow, 9/16" - 18 Male JIC x 3/4" - 16 Male ORB

- 90 degree, 9/16-18 flare x 3/4-16 inch adj O-ring boss

6шт.

9a

237-6008

O-RING,0.087" Thk x 0.644" ID, -908, Cl 6, 90 Duro

8-1, 90 Duro, .644" ID x .087" Thk

1шт.

10

1284301C1

HYDRAULIC HOSE

HOSE - 1143 mm (45 inch) long, 8 row narrow

2шт.

10

1254574C2

HYDRAULIC HOSE

HOSE - 1525 mm (60 inch) long, 6 row wide

2шт.

11

218-980

ELBOW,90 Degree, 9/16"-18, 37 Degree x 9/16"-18, 37 Degree Fem Sw

- 90 degree, 9/16-18 inch flare x swivel

1шт.

12

1284256C1

HYDRAULIC HOSE,9.52 mm ID x 4955.00 mm

8 row narrow 9.52 mm ID x 4955.00 mm

1шт.

12

129782C2

HYDRAULIC HOSE

HOSE - 4191 mm (165 inch) long, 6 row wide

1шт.

13

724775R1

HEADED PIN,3/4" x 3 1/4"

PIN - headed, 3/4 x 3-1/4 inch

4шт.

14

432-1620

COTTER PIN,1/4" x 1 1/4"

Pin, Split (Cotter), 1/4" x 1 1/4"

4шт.

15

92781C1

RESTRICTOR

ELBOW - 90 degree, special restrictor

2шт.

15a

237-6008

O-RING,0.087" Thk x 0.644" ID, -908, Cl 6, 90 Duro

8-1, 90 Duro, .644" ID x .087" Thk

1шт.

16

1284315C1

HYDRAULIC HOSE

HOSE - 2415 mm (65 inch) long, 8 row narrow

1шт.

16

1284367C1

HYDRAULIC HOSE,9.53mm ID x 2415mm L

HOSE - 2415 mm (95 inch) long, 6 row wide

1шт.

17

218-5292

TEE,37 Degree, 3/4"-16, 7/8"-14 O-Ring Run, 3/4"-16

- 3/4-16 fl branch x flare x 7/8-14 inch adj O-ring boss

1шт.

17a

237-6008

O-RING,0.087" Thk x 0.644" ID, -908, Cl 6, 90 Duro

8-1, 90 Duro, .644" ID x .087" Thk

1шт.

18

218-786

REDUCER,37 Degree, 3/4"-16, Fem x 9/16"-18 Male

ADAPTER - reducing, 3/4-16 female str thread x 9/16-18 inch flare

4шт.

19

306132C1

CABLE TIE,14.5" L

STRAP - tie, 14 inch

1шт.

Выбрано товаров: 26