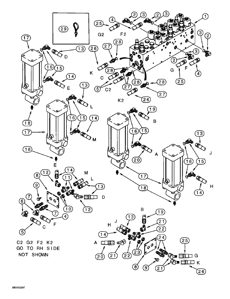
Запчасти Case IH 955 (8-066) - CARRYING WHEEL HYDRAULIC CIRCUIT, W/ VICKERS CONTROL VALVE 24 ROW NARROW FRONT FOLD PLANTERS BUILT (08) - HYDRAULICS

Схема запчастей Case IH 955 - (8-066) - CARRYING WHEEL HYDRAULIC CIRCUIT, W/ VICKERS CONTROL VALVE 24 ROW NARROW FRONT FOLD PLANTERS BUILT (08) - HYDRAULICS
16
3
2
11
28
9
23
12
8
19
18
16
21
17
5
29
1
16
2
13
2
20
27
5
13
14
14
14
27
9
17
3
6
2
4
10
27
13
18
12
16
8
25
7
26
19
17
26
15
20
13
28
26
28
21
3
14
7
22
4
15
14
3
28
21
25
13
22
25
18
4
24
15
15
FIT
1:1
100%

Артикул

Название

Примечание

Количество

1

124461A2

VALVE

ASSEMBLY - control, 24 row narrow, parts list page 8-159

1шт.

2

218-5280

ELBOW,90 Degree, 3/4"-16, 37 Degree x 9/16"-18, O-Ring

- 90 degree, 3/4-16 flare x 9/16-18 inch adj O-ring boss

4шт.

4

134210A1

HOSE

- 9271 mm (365 inch) long, valve to outer cylinders, closed end

2шт.

5

134209A1

HOSE

- 8763 mm (345 inch) long, valve to outer cylinders, rod end

2шт.

6

218-5230

ELBOW,90 Degree, 3/4"-16, 37 Degree x 3/4"-16, 37 Degree Fem Sw

- 90 degree, 3/4-16 inch flare x swivel

4шт.

7

218-674

FITTING,Blkhd, 3/4"-16, 37 Degree x 3/4"-16, 37 Degree

ADAPTER - straight, 3/4-16 inch flare x bulkhead flare

4шт.

8

133467A1

PLATE

- hose mounting

4шт.

9

276-14812

SELF-TAP SCREW,Hex Wash Hd, 5/16" x 3/4"

SCREW - self-tapping, hex head, 5/16 NC x 3/4 inch

8шт.

10

218-1255

BHD LOCK NUT,Blkhd, 3/4"-16

NUT, LOCK, Blkhd, 3/4"-16

4шт.

11

218-845

TEE,37 Degree, 3/4"-16 x 3/4"-16, Fem Sw Run

- 3/4-16 inch flare branch x flare x swivel

4шт.

12

218-5173

ELBOW,45 Degree Elbow, 3/4" - 16 Male JIC x 3/4" - 16 Female JIC

- 45 degree, 3/4-16 inch flare x swivel

4шт.

13

91201C1

HYDRAULIC HOSE,12.70 mm ID x 585.00 mm, SAE 100R1

Cylinders, Closed End 12.70 mm ID x 585.00 mm, SAE 100R1

6шт.

14

1336924C1

HYDRAULIC HOSE

HOSE - 686 mm (27 inch) long, cylinders, rod end

6шт.

15

218-5106

90 ELBOW,90 Degree Elbow, 3/4" - 16 Male JIC x 3/4" - 16 Male ORB

- 90 degree, 3/4-16 inch flare x adj O-ring boss

16шт.

16

237-6008

O-RING,0.087" Thk x 0.644" ID, -908, Cl 6, 90 Duro

8-1, 90 Duro, .644" ID x .087" Thk

1шт.

17

113820A1

CYLINDER,Double Acting, 31.75mm Rod, 158.75mm Stroke

ASSEMBLY - 83 (3-1/4) ID x 159 mm (6-1/4 inch) stroke, carrying wheel, parts list page 8-107

8шт.

18

219-93

LUBE NIPPLE,90 Degree Elbow, 1/4" - 28 NPTF

Special taper 90º, 1/4"-28 NPT x .75" lg, Drive

8шт.

19

390649R92

HYDRAULIC HOSE

HOSE - 483 mm (19 inch) long, cylinder, closed end

2шт.

20

90880C1

HYDRAULIC HOSE,12.70 mm ID x 635.00 mm, SAE 100 R17

cylinder, rod end 12.70 mm ID x 635.00 mm, SAE 100 R17

2шт.

21

218-5173

ELBOW,45 Degree Elbow, 3/4" - 16 Male JIC x 3/4" - 16 Female JIC

- 45 degree, 3/4-16 inch flare x swivel

8шт.

22

218-845

TEE,37 Degree, 3/4"-16 x 3/4"-16, Fem Sw Run

- 3/4-16 inch flare branch x flare x swivel

4шт.

23

218-1255

BHD LOCK NUT,Blkhd, 3/4"-16

NUT, LOCK, Blkhd, 3/4"-16

4шт.

24

218-674

FITTING,Blkhd, 3/4"-16, 37 Degree x 3/4"-16, 37 Degree

ADAPTER - straight, 3/4-16 inch flare x bulkhead flare

4шт.

25

90879C1

HYDRAULIC HOSE,12.70 mm ID x 2030.00 mm, SAE 100R1

Valve to Innter Cylinders, Closed End 12.70 mm ID x 2030.00 mm, SAE 100R1

2шт.

26

168132C2

HYDRAULIC HOSE,12.70 mm ID x 1650.00 mm

- Valve to inner cylinders, Rod end 12.70 mm ID x 1650.00 mm

2шт.

27

218-5351

HYD CONNECTOR,3/4"-16, 37 Degree x 9/16"-18, O-Ring

ADAPTER - straight, 3/4-16 flare x 9/16-18 inch O-ring boss

4шт.

29

306132C1

CABLE TIE,14.5" L

STRAP - tie, 14 inch

1шт.

3

237-6006

O-RING,0.078" Thk x 0.468" ID, -906, Cl 6, 90 Duro

6-1, 90 Duro, .468" ID x .078" Thk

1шт.

28

237-6006

O-RING,0.078" Thk x 0.468" ID, -906, Cl 6, 90 Duro

6-1, 90 Duro, .468" ID x .078" Thk

1шт.

Выбрано товаров: 29