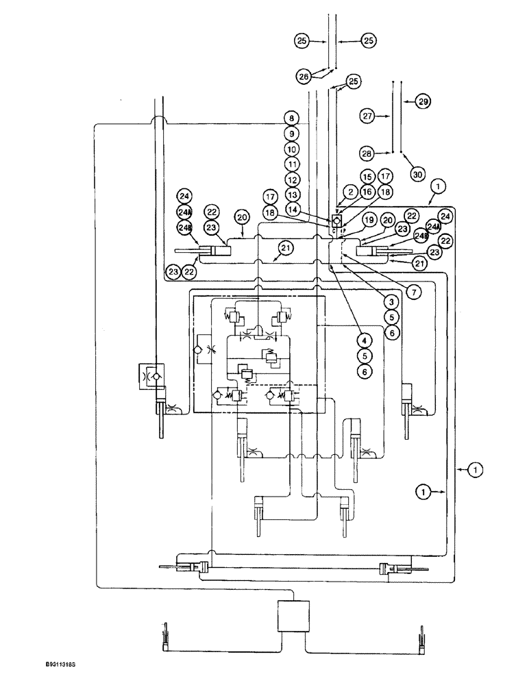
Запчасти Case IH 955 (8-072) - HYDRAULIC SYSTEM, FERTILIZER FRAME HINGE, 8 ROW WIDE & 12 ROW NARROW VERTICAL FOLD (08) - HYDRAULICS

Схема запчастей Case IH 955 - (8-072) - HYDRAULIC SYSTEM, FERTILIZER FRAME HINGE, 8 ROW WIDE & 12 ROW NARROW VERTICAL FOLD (08) - HYDRAULICS
27
3
8
24a
9
7
15
22
23
20
21
24b
30
23
14
22
19
6
25
13
5
29
23
10
25
20
26
4
17
2
5
22
24
1
24b
18
23
6
24a
17
28
1
25
11
24
21
22
1
18
12
16
FIT
1:1
100%

Артикул

Название

Примечание

Количество

1

90876C1

HYDRAULIC HOSE,12.70 mm ID x 2540.00 mm, SAE 100R1

Tee and Cross to Wing Frame Cylinders 12.70 mm ID x 2540.00 mm, SAE 100R1

2шт.

2

218-845

TEE,37 Degree, 3/4"-16 x 3/4"-16, Fem Sw Run

- 3/4-16 inch flare branch x flare x swivel

1шт.

3

218-5222

TEE,37 Degree, 9/16"-18, x 9/16"-18, Fem Sw Run

- swivel, 9/16-18 inch flare branch x flare x swivel

1шт.

4

218-654

4 WAY CONNECTION,3/4"-16, 37 Degree

CROSS - 3/4-16 inch flare

1шт.

5

218-792

REDUCER,37 Degree, 1/2" x 3/8" Tube

ADAPTER - reducing, 1/2 tube OD x 9/16-18 inch flare

2шт.

6

218-344

TUBE NUT,37 Degree, 3/4"-16, Type B

NUT - hex, 1/2 inch NF

2шт.

7

97638C1

HYDRAULIC HOSE,6.35 mm ID x 482.60 mm, SAE 100 R1

Tee to Check Valve 6.35 mm ID x 482.60 mm, SAE 100 R1

1шт.

8

1272359C91

VALVE

ASSEMBLY - check, pilot operated (Parts list page 8-139)

1шт.

9

138173A2

BRACKET

- valve mounting

1шт.

10

112422A1

FASTENER

BRACKET - grating clamping

2шт.

11

433-532

CARRIAGE BOLT,Sq Nk, 5/16" - 18 x 2", Gr 5

BOLT - carriage, 5/16 NC x 2 inch

2шт.

12

231-5145

SERRATED NUT,Flg, USR, 5/16"-18

NUT - hex serrated flange, 5/16 inch NC

2шт.

14

231-5144

SERRATED NUT,Flg, USR, 1/4"-20

2шт.

15

218-5060

HYD CONNECTOR,3/4" - 16 Male JIC x 7/8" - 14 Male ORB

Adapter, straight, O-ring boss 3/4"-16, 37º x 7/8"-14, O-Ring

1шт.

16

237-6010

O-RING,0.097" Thk x 0.755" ID, -910, Cl 6, 90 Duro

10-1, 90 Duro, .755" ID x .097" Thk

1шт.

17

218-5354

HYD CONNECTOR,9/16"-18, 37 Degree x 7/8"-14, O-Ring

FITTING, 9/16"-18, 37° x 7/8"-14, O-Ring

2шт.

18

237-6010

O-RING,0.097" Thk x 0.755" ID, -910, Cl 6, 90 Duro

10-1, 90 Duro, .755" ID x .097" Thk

1шт.

19

218-836

TEE,37 Degree, 9/16"-18 x 9/16"-18, Fem Sw Br

- 9/16-18 inch swivel x flare x flare

1шт.

20

1284338C1

HYDRAULIC HOSE

HOSE - 940 mm (37 inch) long, to base end of hinge cylinder (8 row wide)

2шт.

20

1284315C1

HYDRAULIC HOSE

HOSE - 2415 mm (65 inch) long, to base end of hinge cylinder (12 row narrow)

2шт.

21

810139C2

HYDRAULIC HOSE,9.53mm ID x 1397mm L, SAE 100R7

HOSE - 1397 mm (55 inch) long, to rod end of hinge cylinder (8 row wide)

2шт.

21

195504C2

HYDRAULIC HOSE

HOSE - 2030 mm (80 inch) long, to rod end of hinge cylinder (12 row narrow)

2шт.

22

218-5128

ELBOW,90° Elbow, 9/16" - 18 Male JIC x 3/4" - 16 Male ORB

- 90 degree, 9/16-18 flare x 3/4-16 inch adj O-ring boss

4шт.

23

237-6008

O-RING,0.087" Thk x 0.644" ID, -908, Cl 6, 90 Duro

8-1, 90 Duro, .644" ID x .087" Thk

1шт.

24

138623A1

HYDRAULIC CYLINDER,Double Acting, 31.75mm Rod, 406.4mm Stroke

ASSEMBLY - 89 (3-1/2) ID x 406 mm (16 inch) stroke, frame hinge (Parts list page 8-123)

2шт.

24a

439-51648

HEADED PIN,1" x 3"

PIN - headed, 1 x 3 inch

2шт.

24b

432-1628

COTTER PIN,1/4" x 1 3/4"

Pin, Split (Cotter), 1/4" x 1 3/4"

2шт.

25

90877C1

HYDRAULIC HOSE

HOSE - 1524 mm (60 inch) long, pressure and return and extensions ,to tractor

4шт.

26

218-735

UNION,3/4"-16, 37 Degree x 3/4"-16, 37 Degree

CONNECTOR - straight, 3/4-16 inch flare

2шт.

27

58159C2

HOSE,31.75mm ID x 1371.6mm L

- Blow motor extension (12 row narrow) 1.25" ID x 54.00"

1шт.

28

218-737

UNION,1 1/16"-12, 37 Degree x 1 1/16"-12, 37 Degree

CONNECTOR - straight, 1-1/16-12 inch flare (12 row narrow)

1шт.

29

843063C1

HYDRAULIC HOSE,0.75" ID x 52.00"

Blower Motor Extension (12 Row Narrow) 0.75" ID x 52.00"

1шт.

13

413-420

BOLT,Hex, 1/4" - 20 x 1-1/4", Gr 5

2шт.

30

218-739

UNION,1 5/16"-12, 37 Degree x 1 5/16"-12, 37 Degree

CONNECTOR - straight, 1-5/16-12 inch flare (12 row narrow)

1шт.

Выбрано товаров: 34