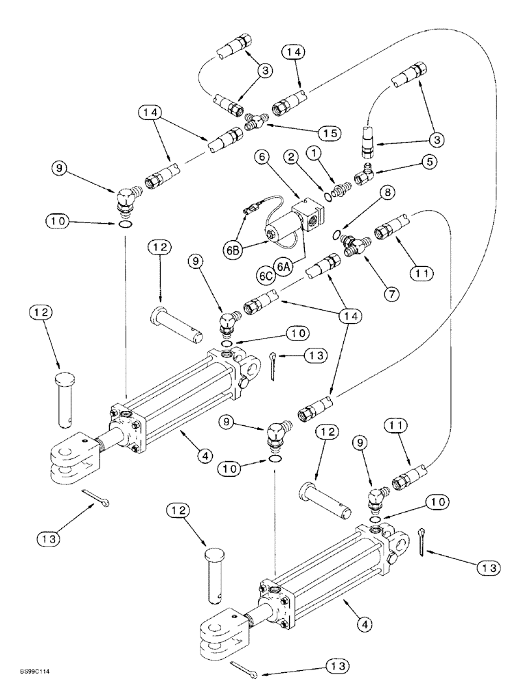
Запчасти Case IH 955 (8-084) - WING FOLD HYDRAULIC SYSTEM, 12 ROW NARROW - PARALLEL FRONT FOLD (08) - HYDRAULICS

Схема запчастей Case IH 955 - (8-084) - WING FOLD HYDRAULIC SYSTEM, 12 ROW NARROW - PARALLEL FRONT FOLD (08) - HYDRAULICS
12
10
9
9
4
9
5
3
13
15
12
14
12
7
11
6c
10
1
6
8
3
12
13
13
14
6b
6a
14
9
4
13
11
10
2
10
FIT
1:1
100%

Артикул

Название

Примечание

Количество

1

95750C1

HYD CONNECTOR

CONNECTOR - restrictor

1шт.

2

237-6008

O-RING,0.087" Thk x 0.644" ID, -908, Cl 6, 90 Duro

8-1, 90 Duro, .644" ID x .087" Thk

1шт.

3

1284262C1

HYDRAULIC HOSE,9.53mm ID x 6985mm L

HOSE - 6985 mm (275 inch) long

2шт.

4

1282329C91

HYDRAULIC CYLINDER

CYLINDER ASSEMBLY - 102 (4) ID x 406 mm (16 inch) stroke, wing fold, parts list page 8-117

2шт.

5

218-980

ELBOW,90 Degree, 9/16"-18, 37 Degree x 9/16"-18, 37 Degree Fem Sw

- 90 degree, 9/16-18 inch flare x swivel

1шт.

6

1954190C1

SOLENOID VALVE

VALVE ASSEMBLY - solenoid, wing frame fold

1шт.

6a

1272308C1

SEAL KIT

KIT - seal, replacement, includes (2) O-rings and (2) backup rings

1шт.

6b

93209C1

KIT

- solenoid coil

1шт.

6c

93210C1

VALVE

CARTRIDGE - valve

1шт.

7

218-5192

TEE,9/16" - 18 Male JIC x 9/16" - 18 Male JIC x 3/4" - 16 Male ORB

- 3/4-16 adj O-ring branch x 9/16-18 inch flare x flare

1шт.

8

237-6008

O-RING,0.087" Thk x 0.644" ID, -908, Cl 6, 90 Duro

8-1, 90 Duro, .644" ID x .087" Thk

1шт.

9

218-5128

ELBOW,90° Elbow, 9/16" - 18 Male JIC x 3/4" - 16 Male ORB

- 90 degree, 9/16-18 flare x 3/4-16 inch adj O-ring boss

4шт.

10

237-6008

O-RING,0.087" Thk x 0.644" ID, -908, Cl 6, 90 Duro

8-1, 90 Duro, .644" ID x .087" Thk

1шт.

11

843066C1

HYDRAULIC HOSE,0.25" ID x 33.00"

0.25" ID x 33.00"

1шт.

12

145282C1

CLEVIS PIN

PIN - headed, 1-1/4 x 3-1/2 inch

4шт.

13

432-1628

COTTER PIN,1/4" x 1 3/4"

Pin, Split (Cotter), 1/4" x 1 3/4"

4шт.

14

97638C1

HYDRAULIC HOSE,6.35 mm ID x 482.60 mm, SAE 100 R1

3шт.

15

218-593

TEE,9/16"-18, 37 Degree

- 9/16-18 inch flare branch x flare x flare

1шт.

Выбрано товаров: 18