Запчасти Case IH 185 (B-19) - HOPPER AND COVER WITH INTERNATIONAL BOTTOM, FOR CORN AND BEET PLANTING, ONE PER ROW, 1966 & SINCE

Схема запчастей Case IH 185 - (B-19) - HOPPER AND COVER WITH INTERNATIONAL BOTTOM, FOR CORN AND BEET PLANTING, ONE PER ROW, 1966 & SINCE
10
14
9
9
7
17
9
4
18
12
15
2
5
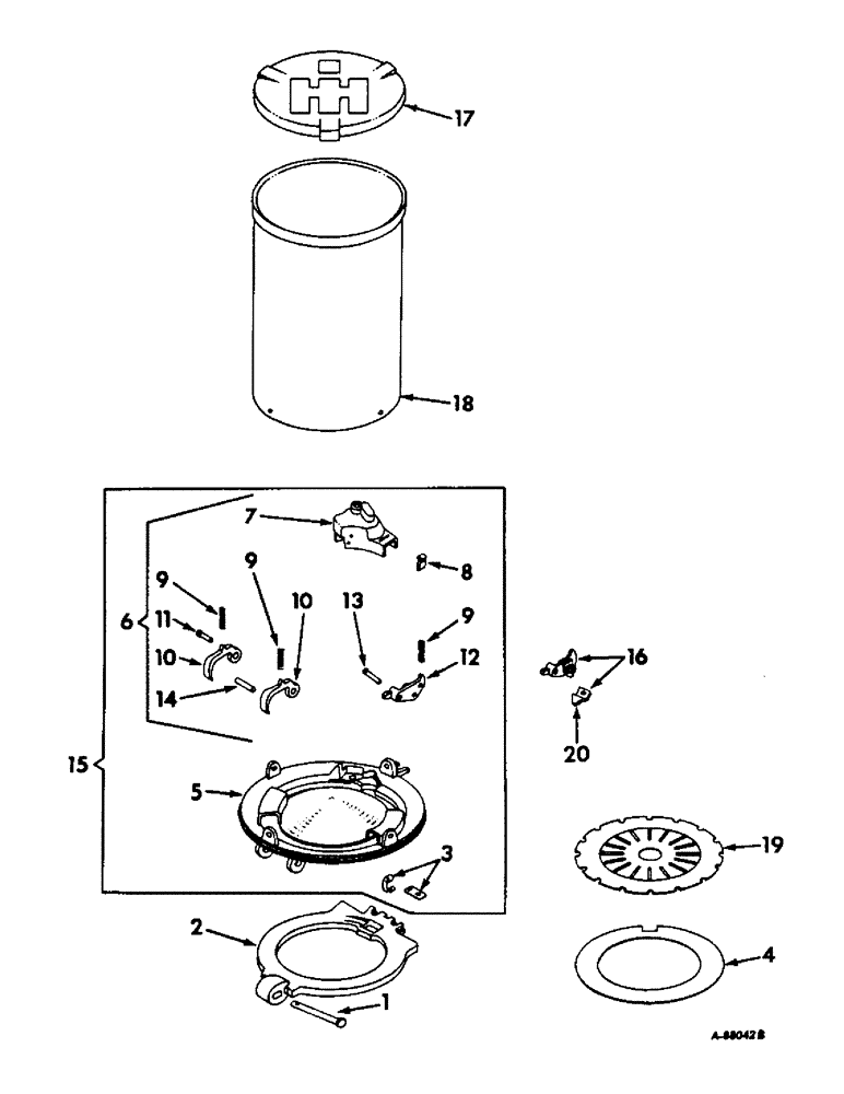
1
11
6
13
3
8
20
19
10
16
FIT
1:1
100%

Артикул

Название

Примечание

Количество

1

Q3429

DOWEL

PIN, 5/16 x 3-1/2 std-hd, Serial Range: 1966-1967

1шт.

103384

COTTER PIN,1/8" x 3/4"

Pin, Split (Cotter), , 1966 to 1967 1/8" x 3/4"

1шт.

1

21959R1

HEADED PIN,5/16" x 3 1/2"

PIN, 5/16 x 3-1/2 C-Z std-hd, 1967 and since

1шт.

648002

KNIFE

1/8" x 3/4", 1967 and since

1шт.

2

484888R1

PLATE ASSY.

PLATE, reversible bottom corn

1шт.

2

484889R1

PLATE

reversible bottom beet

1шт.

3

490272R1

VALVE SPRING

SPRING ASSY, bottom plate retainer

1шт.

4

RING, filler, refer to seed plate section

1шт.

5

BOTTOM, International hopper, order bottom assy, 484918R91, Serial Range: 1966-1967

1шт.

5

BOTTOM, International hopper, order bottom assy, 488790R91, 1967 and since

1шт.

6

484871R91

SERVICE KIT

double pawl corn, consists of ref. nos. 7 through 14

1шт.

6

484884R91

COVER

ASSY, double pawl beet, consists of ref. nos. 7 through 14

1шт.

7

COVER, double pawl corn, order cover assy, 484871R91

1шт.

7

COVER, double pawl beet, order cover assy, 484884R91

1шт.

180697

SCREW, 5/16-24 x 2-1/8 C-Z hex-hd cap

1шт.

124920

JAM NUT,Jam, 5/16"-24, G5

1шт.

8

484879R1

DOOR

GATE, double pawl cover

1шт.

9

484881R1

SPRING

cut-off pawl and knocker

3шт.

10

484875R1

PAWL

corn cut-off

2шт.

10

484874R1

PAWL

beet cut-off

2шт.

11

484883R1

PIN

3/16 x 1 knurled hd, cut-off pawl pivot

1шт.

12

484885R11

ARM

ASSY, corn roller knocker

1шт.

12

484872R11

ARM

ASSY, beet roller knocker

1шт.

488808R1

SCREW

no. 10 x 1 C-Z slt-pan-hd tap

1шт.

131015

WASHER

3/16 x 7/16 x .038 C-Z

2шт.

138530

LOCK WASHER,Int Tooth, #8

WASHER, LOCK, Int Tooth, #8

1шт.

120622

NUT,#8-32

1шт.

13

484882R1

PIN

3/16 x 1-1/2 knurled hd, knocker arm pivot

1шт.

14

20479R1

PIN, 3/16 x 1-1/4 C-Z chamfered str, Serial Range: 1966-1967

1шт.

14

22433R1

PIN,3/16" x 1 5/16"

3/16 x 1-5/16 C-Z chamfered str, 1967 and since, cut-off pawl stop

1шт.

15

484918R91

BOTTOM

ASSY, International hopper, Serial Range: 1966-1967

1шт.

15

488790R91

BOTTOM

ASSY, International hopper, 1967 and since, corn, consists of ref. no. 3, 5 through 14

1шт.

15

484919R91

BOTTOM

ASSY, International hopper, Serial Range: 1966-1967

1шт.

15

488791R91

BOTTOM

ASSY, International hopper, 1967 and since, beet, consists of ref. nos. 3, 5 through 14

1шт.

88574

BOLT,Hex, 5/16" - 18 x 1/2", Gr 5, Full Thd

4шт.

611344R1

WASHER

11/32 x 7/8 x 16 ga C-Z

4шт.

138538

LOCK WASHER

WASHER, 5/16 C-Z int-tooth lock

5шт.

16

484878R11

ARM

ASSY, small seed knocker, special, used with either corn or beet planting International hopper bottom assemblies

1шт.

436694

SCREW,Slotted Pan Hd, #8-32 x 7/16"

8/32 x 7/16 C-Z slt-pan hd mach

1шт.

138530

LOCK WASHER,Int Tooth, #8

WASHER, LOCK, Int Tooth, #8

1шт.

120622

NUT,#8-32

1шт.

17

474850R2

COVER ASSY

COVER, straight side fiberglass hopper

1шт.

17

474852R1

COVER

offset side fiberglass hopper

1шт.

18

478558R11

HOPPER

ASSY, straight side fiberglass, 30 lbs capacity

1шт.

18

478559R11

HOPPER

ASSY, offset side fiberglass, 70 lbs capacity

1шт.

19

PLATE, seed, refer to seed plate section

1шт.

20

484880R1

STRIP

small seed knocker arm

1шт.

Выбрано товаров: 47