Запчасти Case IH 284 (A-18[A]) - SPRING LOADED DISK COVERERS

Схема запчастей Case IH 284 - (A-18[A]) - SPRING LOADED DISK COVERERS
12
3
5
8
9
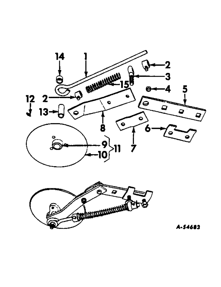
1
6
2
15
11
4
7
10
14
2
13
FIT
1:1
100%

Артикул

Название

Примечание

Количество

1

520473R1

ROD, pressure

1шт.

PIN, 1/8 x 3/4 self-opening cot.

1шт.

WASHER, 13/32 x 1-1/4 x 16 ga

1шт.

2

517951R11

WEAR PAD

COLLAR W/SET SCREW, pressure rod

1шт.

105111

FITTING

SCREW, 5/116 x 3/8 cup-pt sq-hd set

1шт.

3

516653R1

EYEBOLT

1шт.

NUT, 7/16

1шт.

WASHER, 7/16 lock

1шт.

WASHER, 15/32 x 7/8 x 11 ga

1шт.

4

526713R1

BUSHING, pivot bracket

1шт.

5

526710R1

ARM, pivot

1шт.

BOLT W/NUT, 7/16 x 1-1/4 crg

1шт.

WASHER, 7/16 lock

1шт.

6

526715R1

CLIP, pivot bracket

1шт.

7

526709R1

STRAP, hammer

1шт.

BOLT W/NUT, 5/16 x 1-1/4 mach

1шт.

WASHER, 5/16 lock

1шт.

8

526717R1

ARM, disk cover left

1шт.

8

526718R1

ARM, disk cover right

1шт.

BOLT W/NUT, 5/16 x 3/4 mach

1шт.

WASHER, 5/16 lock

1шт.

9

517948R2

HUB, disk

1шт.

BOLT, 7/16 x 3-1/4 mach

1шт.

NUT, 7/16 lock

1шт.

RIVET, 3/16 x 11/16 rd-hd

3шт.

WASHER, 15/32 x 1 x 16 ga

2шт.

WASHER, 15/32 x 1-1/4 x 16 ga

1шт.

10

DISK, covering, not serviced separately, order 623128R12

1шт.

11

623128R12

DISC

DISK ASSY, covering

1шт.

12

125617

LUBE NIPPLE,3/16" x .61 lg, Drive

FITTING, 3/16 drive type straight lub.

1шт.

13

517958R2

BUSHING

hub

1шт.

14

S4954

SPACER

BUSHING, pressure rod

1шт.

15

PO104

VALVE SPRING

SPRING, pressure rod

1шт.

Выбрано товаров: 33