Качественные детали и логистика
Оригинальные и аналоговые запчасти с доставкой по России, Казахстану и Беларуси
©2022 PartSell ООО "Система" ИНН 2463123282 ОГРН 1212400004838
Центральный офис: г. Красноярск, Академика Киренского, д.87, пом.4
Телефон: 8 (800) 777-65-74 Email: zakaz@partsell.ru
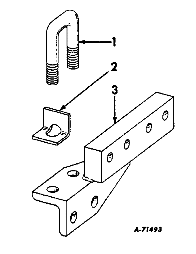
(A-12) - ATTACHING UNIT, PARTS REQUIRED TO ADAPT PLANTER UNIT TO 268 & 468 CULTIVATORS
№
Артикул
Название
Примечание
Количество
1
468689R1
U-BOLT, attaching bracket
4шт.
NUT, 5/8
8шт.
WASHER, 5/8 lock
2
(Not used in this application)
1шт.
3
468684R91
BRACKET, attaching LH
2шт.
468685R91
BRACKET, attaching RH
Выбрано товаров: 0