Запчасти Case IH 296 (AA-13) - RUNNER OPENER, ONE PER ROW

Схема запчастей Case IH 296 - (AA-13) - RUNNER OPENER, ONE PER ROW
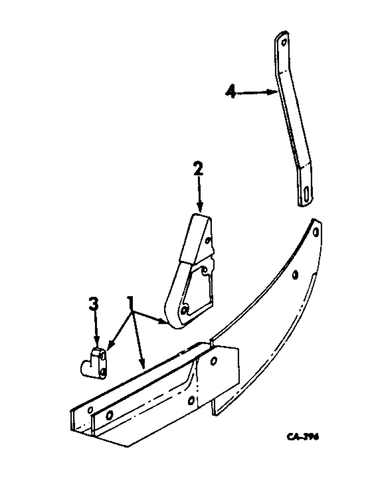
1
2
4
3
FIT
1:1
100%

Артикул

Название

Примечание

Количество

1

492740R92

OPENER

ASSY, runner, for hill drop

2шт.

1

489403R91

OPENER

ASSY, runner, for drill

2шт.

2

492742R2

FROG

for hill drop

2шт.

14064R1

RIVET, 3/8 x 1-13/16 x 74 deg csk-hd

2шт.

14036R1

RIVET, 3/8 x 1-1/2 74 deg C-Z csk-hd

2шт.

14078R1

RIVET, 3/8 x 2-1/8 74 deg csk-hd solid

2шт.

2

489404R1

FROG, runner, for drill

2шт.

14036R1

RIVET, 3/8 x 1-1/2 74 deg C-Z csk-hd

2шт.

14064R1

RIVET, 3/8 x 1-13/16 x 74 deg csk-hd

4шт.

3

492708R1

BLOCK

runner, for hill drop

2шт.

20314R1

BOLT,Short NK, 1/2"-13 x 2 1/2", G2

1/2 x 2-1/2 znd sq-nk crg

2шт.

120378

NUT,Hex, 1/2" - 13, Gr 5

NUT, 1/2"-13, G5

2шт.

18684R1

BOLT,Sht Sq Nk, 3/8" - 16 x 1 1/4", Gr 2

3/8 x 1-1/4 znd crg hd

2шт.

120382

LOCK WASHER,Helical Spring, 3/8"

WASHER, LOCK, 3/8"

2шт.

120377

NUT,3/8" - 16, Gr 5

2шт.

3

489406R1

BLOCK

runner, for drill

2шт.

18782R1

BOLT,Hex, 3/8" - 16 x 2 1/4", Gr 2

3/8 x 2-1/4 znd hex-hd mach

2шт.

120377

NUT,3/8" - 16, Gr 5

2шт.

120382

LOCK WASHER,Helical Spring, 3/8"

WASHER, LOCK, 3/8"

2шт.

4

492745R1

SUPPORT

BRACE, runner

4шт.

18496R1

BOLT,Hex, 1/2"-13 x 1 1/2", G2

1/2 x 1-1/2 znd hex-hd mach

2шт.

18494R1

BOLT,Hex, 3/8" - 16 x 1", Gr 2

3/8 x 1 znd hex-hd mach

4шт.

120382

LOCK WASHER,Helical Spring, 3/8"

WASHER, LOCK, 3/8"

4шт.

120384

WASHER,1/2"

LOCK, 1/2"

2шт.

120377

NUT,3/8" - 16, Gr 5

4шт.

120378

NUT,Hex, 1/2" - 13, Gr 5

NUT, 1/2"-13, G5

2шт.

178374R1

WASHER

17/32 x 1-1/4 x 16 ga C-Z

4шт.

Выбрано товаров: 27