Запчасти Case IH 326 (AB-03) - TOOL BAR FRAME

Схема запчастей Case IH 326 - (AB-03) - TOOL BAR FRAME
10
6
2
5
1
10
11
9
6
4
9
7
7
3
FIT
1:1
100%

Артикул

Название

Примечание

Количество

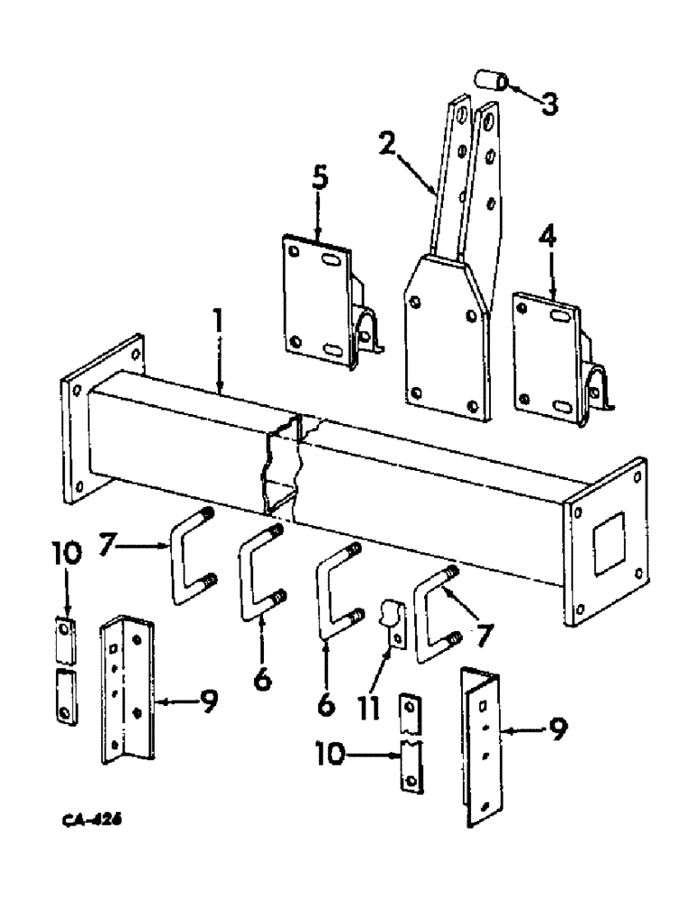
1

493963R1

TUBE ASSY, main frame 307 in., for 8 row

1шт.

1

493966R1

TUBE ASSY, main frame 238 in., for 6 row

1шт.

2

493968R1

MAST ASSY

1шт.

271779

STRIP,Hex, 3/4" - 10 x 4", Gr 5

SCREW, 3/4-10 x 4 znd hex-hd cap

1шт.

87340

LOCK WASHER,Helical Spring, 0.759" ID, CST, ZND

WASHER, LOCK, 3/4"

1шт.

280954

NUT,3/4"-10, G5

1шт.

3

462425R1

SPACER

mast

1шт.

4

493971R1

BRACKET ASSY, hitch LH

1шт.

5

493972R1

BRACKET ASSY, hitch RH

1шт.

6

493468R1

BOLT,7/8" - 9 x 6 1/2"

U-BOLT, mast

2шт.

23831R1

NUT,7/8"-9, G8

7/8-9 type 4 znd hex.

4шт.

7

493975R1

BOLT

U-BOLT, hitch bracket

2шт.

22049R1

NUT,3/4"-10, G8

3/4-10 type 4 zip hex.

4шт.

8

493977R1

ANGLE, head bracket LH

1шт.

9

493978R1

ANGLE, head bracket RH

1шт.

10

493976R1

STRAP, angle

2шт.

271725

SNAP RING,Hex, 5/8" - 11 x 2 1/2", Gr 5

SCREW, 5/8-11 x 2-1/2 znd hex-hd cap

2шт.

492-11062

BEARING WASHER,5/8"

WASHER, LOCK, 5/8"

2шт.

280374

NUT,Hex, 5/8" - 11, Gr 5

5/8-11 C-Z hex.

2шт.

20575R1

BOLT,Hex, 3/4" - 10 x 8", Gr 5

SCREW, 3/4-10 x 8 znd hex-hd cap

4шт.

23245R1

WASHER

25/32 x 1-1/2 x 7 ga C-Z

4шт.

87340

LOCK WASHER,Helical Spring, 0.759" ID, CST, ZND

WASHER, LOCK, 3/4"

4шт.

280954

NUT,3/4"-10, G5

4шт.

11

493962R1

CLAMP, hyd hose

4шт.

Выбрано товаров: 0