Запчасти Case IH 400 (A-035) - HYDRAULIC MARKER ALTERNATOR

Схема запчастей Case IH 400 - (A-035) - HYDRAULIC MARKER ALTERNATOR
8
1
22
5
14
13
7
16
13
0
1
4
21
2
22
6
12
20
9
10
19
11
18
3
17
20
15
FIT
1:1
100%

Артикул

Название

Примечание

Количество

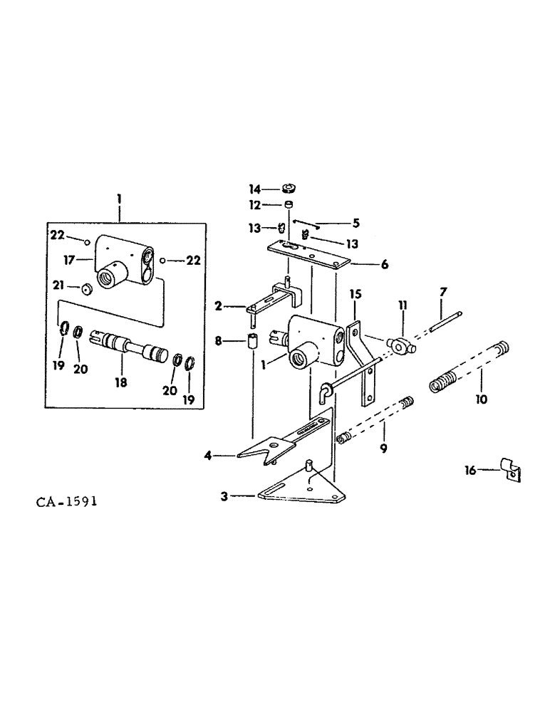
1

546861R92

VALVE

ASSY, selector

1шт.

2

546854R1

ARM

ASSY, rocker

1шт.

22922R1

LOCK PIN,1/4" x 3/4", Slotted

Pin, 1/4" x 3/4", Slotted

1шт.

619855R1

WASHER

11/32 x 3/4 x 16 ga C-Z

2шт.

648002

KNIFE

1/8" x 3/4"

2шт.

3

546859R1

PLATE

ASSY

1шт.

4

546856R2

ARM

ASSY

1шт.

611346R1

WASHER

13/32 x 7/8 x 16 ga C-Z

4шт.

648002

KNIFE

1/8" x 3/4"

2шт.

5

546851R1

SPRING

1шт.

6

546857R1

SUPPORT

bellcrank

1шт.

180091

SPRING

SCREW, 5/16-18 x 2-1/2 znd hex-hd cap

2шт.

80681

LOCK WASHER,5/16"

WASHER, LOCK, 5/16"

2шт.

120376

NUT,5/16"-18, G5

2шт.

7

546838R1

ROD

ASSY, alternator

1шт.

455516

COTTER PIN,3/16" x 3/4"

self-opening 3/16" x 3/4"

2шт.

575807R1

WASHER

13/32 x 1 x 11 ga

1шт.

611346R1

WASHER

13/32 x 7/8 x 16 ga

1шт.

8

546847R1

ROLLER

1шт.

9

546836R1

SPRING

override

1шт.

10

546835R3

SPRING

compression

1шт.

11

487235R2

PIVOT

trunnion

1шт.

12

546839R1

BUSHING

1шт.

13

546846R1

STUD

2шт.

14

546850R1

PULLEY

ROLLER

1шт.

15

546834R1

STRAP

1шт.

180122

BOLT,Hex, 3/8" - 16 x 1", Gr 5

3/8-16 x 1 znd hex-hd cap

2шт.

120382

LOCK WASHER,Helical Spring, 3/8"

WASHER, LOCK, 3/8"

2шт.

120377

NUT,3/8" - 16, Gr 5

2шт.

16

468256R1

CLAMP

not used on 6 row wide or 8 row narrow, Serial Range: 1971-1972

2шт.

17

VALVE, selector, (not serviced separately) order valve assy, 546861R92

1шт.

NLS

NO LONGER SERVICED

PIN, no. 2 x 1-1/2 taper

3шт.

18

SPOOL, selector valve, (not serviced separately) order valve assy, 546861R92

1шт.

19

549242R1

RING

retaining

2шт.

20

403519R1

O-RING,13.94mm ID x 2.62mm Width

9/16 x 3/4 x 3/32 treated

2шт.

21

546844R1

WASHER

restrictor

1шт.

22

663033R1

BALL

9/16 diameter

2шт.

Выбрано товаров: 0