Запчасти Case IH 400 (A-101) - CYCLOMITOR II MONITOR

Схема запчастей Case IH 400 - (A-101) - CYCLOMITOR II MONITOR
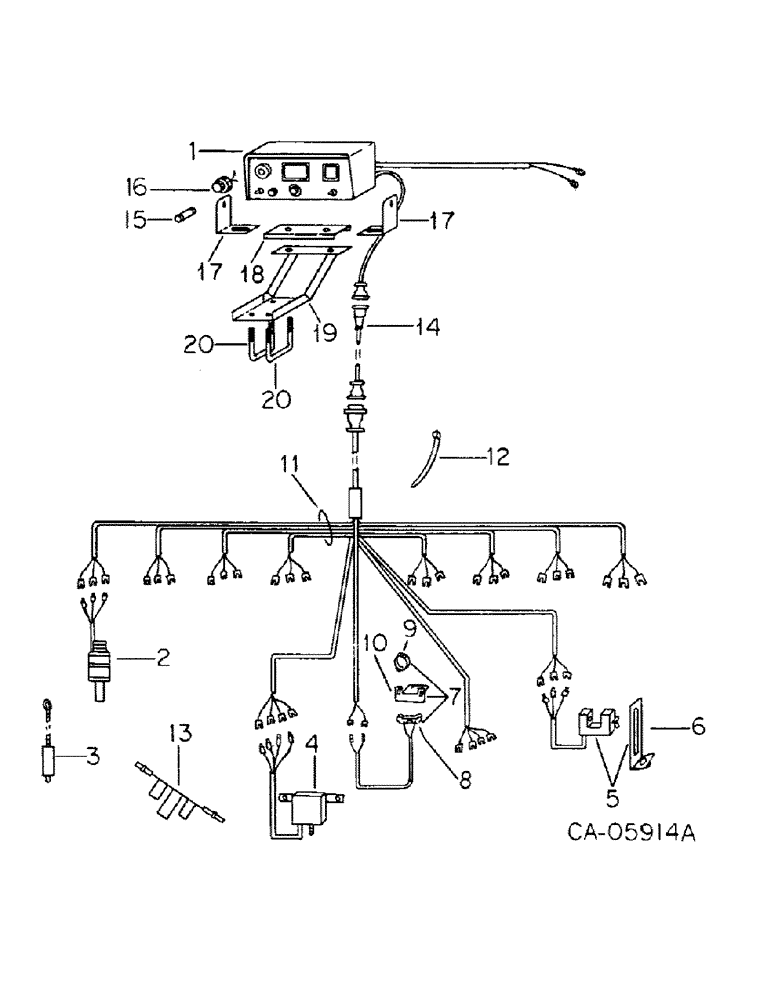
5
11
13
20
8
9
1
17
18
16
6
20
14
12
4
3
15
17
19
7
2
10
FIT
1:1
100%

Артикул

Название

Примечание

Количество

1

79301C1

REMAN-ELECT MONITOR

PANEL, cyclomitor

1шт.

128735C1

PRODUCT GRAPHIC, control panel

1шт.

2

59363C1

SENSOR

seed, 1 per row

1шт.

3

128817C1

BRUSH, COMMUTATOR

BRUSH, sensor cleaning

1шт.

4

133897C1

SWITCH

air pressure

1шт.

5

133901C91

RELAY

ASSY, hopper level

1шт.

137437C1

GROMMET

1шт.

6

113432C1

BRACKET

seed level sensor

1шт.

7

133902C91

SWITCH

ASSY, drum sensor

1шт.

8

178806C1

SWITCH

REED SWITCH ASSY

1шт.

9

178800C1

CLAMP

ASSY

1шт.

10

133895C1

SUPPORT, switch mtg

1шт.

11

133903C91

HARNESS, planter, 4 row

1шт.

11

64897C91

HARNESS

planter, 6 row

1шт.

11

64898C91

HARNESS

planter, 8 row

1шт.

12

58555C1

FASTENER

TIE WRAP, 7 in.

1шт.

12

306132C1

CABLE TIE,14.5" L

TIE WRAP, 14 in.

1шт.

13

58557C1

ELECTRICAL WIRE

WIRE, shortening

1шт.

14

133896C93

HARNESS

CABLE, extension

1шт.

15

106652

FUSE,3 Amp, Type 3AG

3 amp

1шт.

16

128816C1

BUZZER

1шт.

17

136963C1

ANGLE

for 86 series tractor

2шт.

18

136962C1

CHANNEL, for 86 series tractor

1шт.

19

136961C1

SUPPORT, for 86 series tractors

1шт.

20

136960C1

BOLT

U-BOLT, for 86 series tractors

2шт.

120376

NUT,5/16"-18, G5

2шт.

Выбрано товаров: 0